Model added to My Equipment.Click 'My Equipment' to view updated list.
ACCESSORIES AND SERVICE PARTS T10500 ACCESSORIES AND SERVICE PARTS
BRAKE E00100 BRAKE
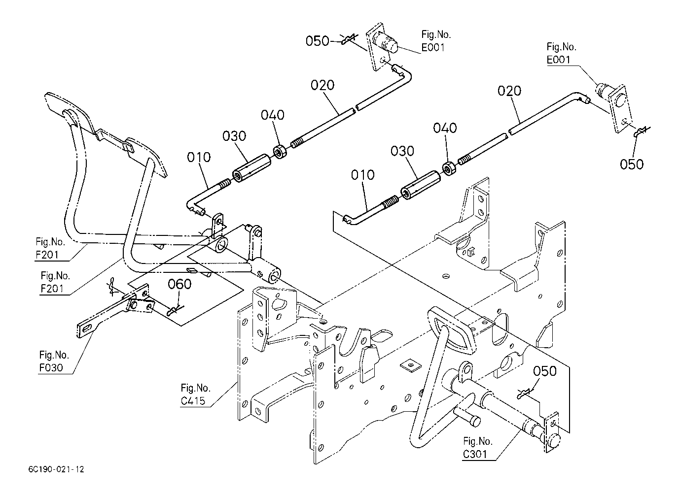
BRAKE E00500 BRAKE ROD
BRAKE E01500 PARKING BRAKE LEVER
BRAKE F20100 BRAKE PEDAL
CLUTCH C10100 CLUTCH
CLUTCH C11000 CLUTCH ROD
CLUTCH C30100 CLUTCH PEDAL
CLUTCH C40100 CLUTCH HOUSING
CLUTCH C41500 CENTER FRAME
COOLING WATER SYSTEM A40100 FAN
COOLING WATER SYSTEM A41000 WATER PIPE
COOLING WATER SYSTEM A42000 RADIATOR
COOLING WATER SYSTEM A43000 RESERVE TANK
ELECTRICAL SYSTEM A51000 STOP SOLENOID
ELECTRICAL SYSTEM A52100 DYNAMO
ELECTRICAL SYSTEM A52300 DYNAMO [COMPONENT PARTS]
ELECTRICAL SYSTEM A52500 STARTER
ELECTRICAL SYSTEM A53000 STARTER [COMPONENT PARTS](NOT FOR REMAN UNIT)
ELECTRICAL SYSTEM A53500 BATTERY
ELECTRICAL SYSTEM B10100 SWITCH
ELECTRICAL SYSTEM B11500 PANEL BOARD
ELECTRICAL SYSTEM B12000 PANEL BOARD [COMPONENT PARTS]
ELECTRICAL SYSTEM B30100 HEAD LIGHT
ELECTRICAL SYSTEM B30200 HAZARD LIGHT
ELECTRICAL SYSTEM B30400 TAIL LIGHT
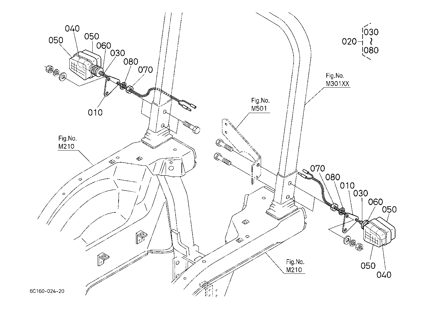
ELECTRICAL SYSTEM B31000 WINKER LAMP
ELECTRICAL SYSTEM B50100 ELECTRICAL WIRING
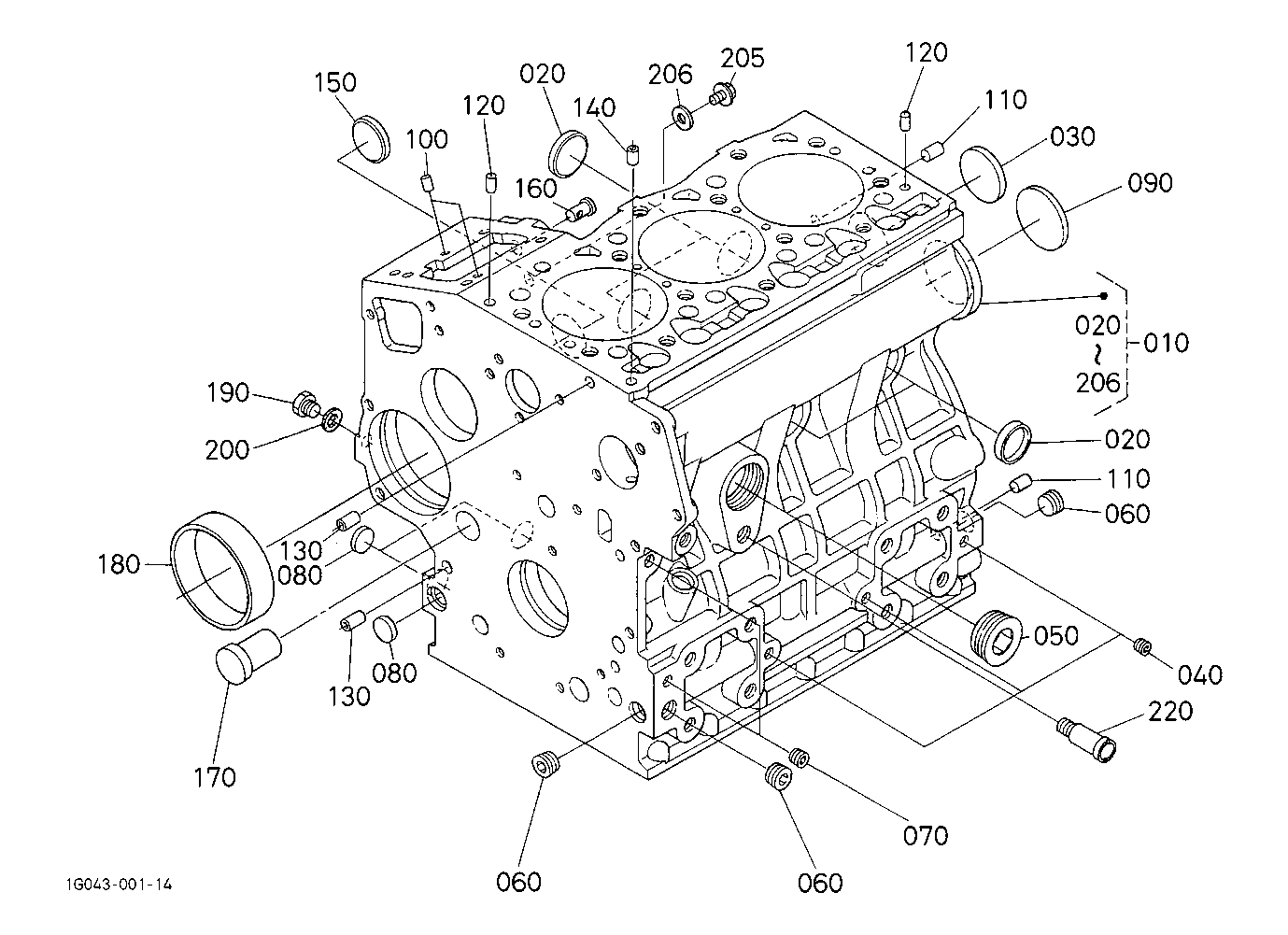
ENGINE 000101 CRANKCASE ## S.No.; TO 4Z0548
ENGINE 000102 CRANKCASE ## S.No.; FROM 5A0001
ENGINE 000200 OIL PAN
ENGINE 000300 CYLINDER HEAD
ENGINE 000400 GEAR CASE
ENGINE 000501 HEAD COVER ## S.No.; TO 4Z0548
ENGINE 000502 HEAD COVER ## S.No.; FROM 5A0001
ENGINE 000600 OIL FILTER
ENGINE 000700 DIPSTICK AND GUIDE
ENGINE 010000 MAIN BEARING CASE
ENGINE 010100 CAMSHAFT AND IDLE GEAR SHAFT
ENGINE 010201 PISTON AND CRANKSHAFT ## S.No.; TO 4T1477 [NOTE ORDER BY Fig.No.010202 REF.No.010 and
ENGINE 010202 PISTON AND CRANKSHAFT ## S.No.; FROM 4U0001 [NOTE ORDER BY REF.No.010 and 020 NEW PART
ENGINE 010300 FLYWHEEL
ENGINE 010500 FUEL CAMSHAFT AND GOVERNOR SHAFT
ENGINE 020000 IDLE APPARATUS
ENGINE 020200 INJECTION PUMP
ENGINE 020401 GOVERNOR ## S.No.; TO 3Y9499
ENGINE 020402 GOVERNOR ## S.No.; FROM 4A0001
ENGINE 020500 SPEED CONTROL PLATE
ENGINE 020601 NOZZLE HOLDER AND GLOW PLUG ## S.No.; TO 4Z0548
ENGINE 020602 NOZZLE HOLDER AND GLOW PLUG ## S.No.; FROM 5A0001
ENGINE 020701 NOZZLE HOLDER [COMPONENT PARTS]% ## S.No.; TO 4Z0548
ENGINE 020702 NOZZLE HOLDER [COMPONENT PARTS] ## S.No.; FROM 5A0001
ENGINE 030100 FUEL PUMP(MECHANICAL)
ENGINE 050000 WATER FLANGE AND THERMOSTAT
ENGINE 050100 WATER PUMP
ENGINE 060000 VALVE AND ROCKER ARM
ENGINE 060101 INLET MANIFOLD ## S.No.; TO 4Z0548
ENGINE 060102 INLET MANIFOLD ## S.No.; FROM 5A0001
ENGINE 060200 EXHAUST MANIFOLD
ENGINE 060300 AIR CLEANER
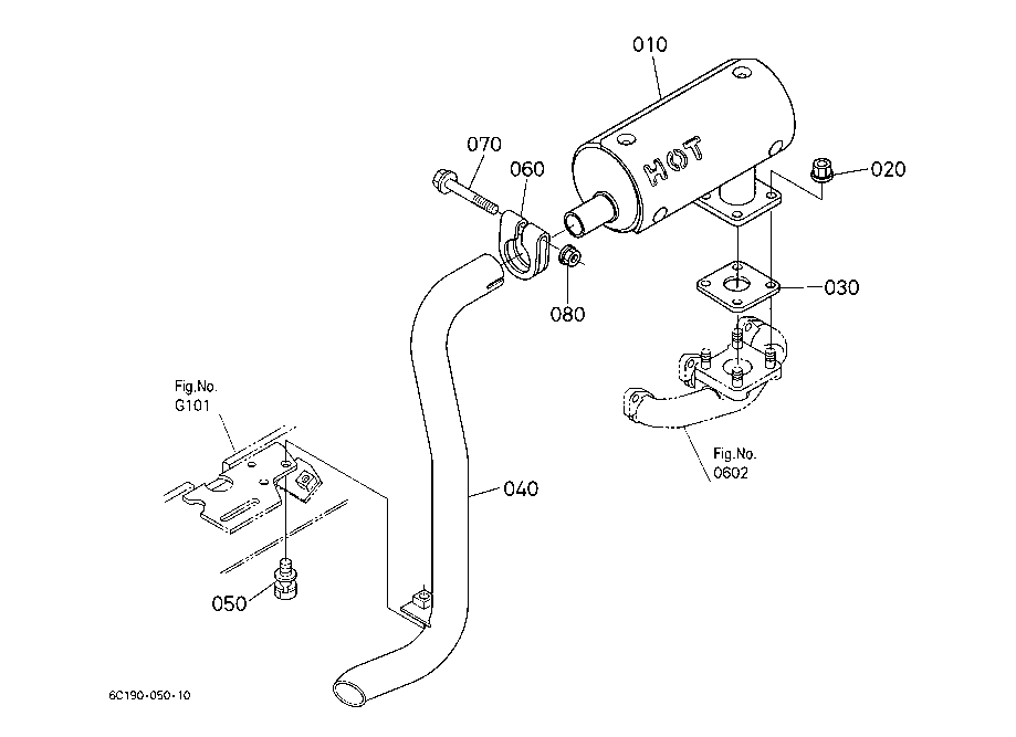
ENGINE 060500 MUFFLER
ENGINE A00100 ACCELERATOR LEVER
FREQUENTLY USED ITEMS 000000 FREQUENTLY USED ITEMS
FRONT AXLE G10100 FRONT AXLE FRAME
FRONT AXLE G10500 FRONT AXLE CASE
FRONT AXLE G11500 FRONT DIFFERENTIAL
FRONT AXLE G12000 DIFFERENTIAL GEAR SHAFT
FRONT AXLE G12300 BEVEL GEAR CASE
FRONT AXLE G12500 FRONT AXLE CASE
FRONT AXLE G13000 FRONT AXLE
FRONT AXLE G13500 FRONT DRIVE SHAFT
FRONT TIRE R10101 FRONT WHEEL(7-12)
FRONT TIRE R10102 FRONT WHEEL(238.50-12)
FRONT TIRE R10103 FRONT WHEEL(218.00-10)
FRONT TIRE R10104 FRONT WHEEL(238.50-12)
FUEL SYSTEM A10100 FUEL TANK
FUEL SYSTEM A11000 FUEL PIPE
FUEL SYSTEM A13000 FUEL FILTER [COMPONENT PARTS]
HOOD BONNET M10100 FRONT GRILLE
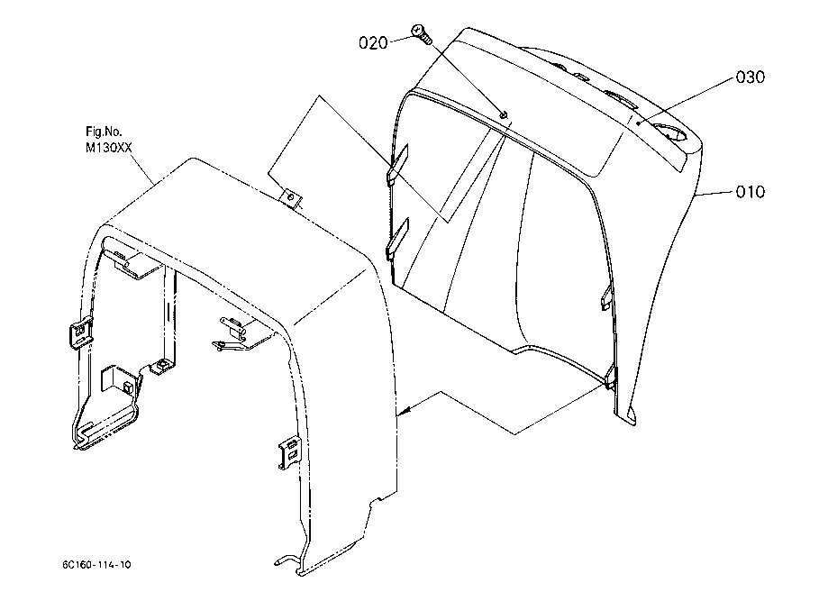
HOOD BONNET M10500 BONNET
HOOD BONNET M11300 PANEL COVER
HOOD BONNET M12000 SIDE COVER
HOOD BONNET M13001 SHUTTER PLATE ## S.No.; TO 58853
HOOD BONNET M13002 SHUTTER PLATE ## S.No.; FROM 58854
HOOD BONNET M20700 LEVER GUIDE
HOOD BONNET M21000 FENDER
HOOD BONNET M21200 FENDER STAY
HOOD BONNET M21500 FLOOR SEAT
HOOD BONNET M21700 SEAT SUPPORT
HOOD BONNET M22500 STEP
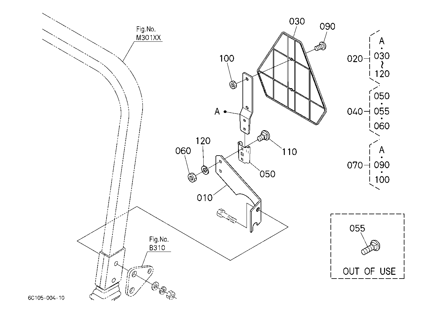
HOOD BONNET M30101 ROPS(RIGID TYPE)
HOOD BONNET M30102 ROPS(FOLDABLE TYPE)
HOOD BONNET M50100 SMV EMBLEM
LABELS S10101 LABEL [ENGLISH]
LABELS S10102 LABEL [FRENCH]
OPTION U80000 ALTERNATOR KIT [OPTION]
OPTION U80200 ALTERNATOR [COMPONENT PARTS] [OPTION](NOT FOR REMAN UNIT)
OPTION U80501 WORKING LIGHT KIT [OPTION] ## S.No.; TO 54581 [NOTE ORDER BY Fig.No.U80502 REF.No.020.
OPTION U80502 WORKING LIGHT KIT [OPTION] ## S.No.; FROM 54582
PUMP MOTOR SYSTEM F14300 HYDRAULIC CONTROL LEVER
PUMP MOTOR SYSTEM J12000 HYDRAULIC PUMP
PUMP MOTOR SYSTEM J12500 HYDRAULIC PUMP [COMPONENT PARTS]
PUMP MOTOR SYSTEM J20100 HYDRAULIC OIL LINE(SUCTION)
PUMP MOTOR SYSTEM J21000 HYDRAULIC OIL LINE(DELIVERY)
PUMP MOTOR SYSTEM J21500 HYDRAULIC OIL LINE(STEERING)
PUMP MOTOR SYSTEM J23500 HYDRAULIC OIL LINE (HST)
PUMP MOTOR SYSTEM J24000 HYDRAULIC OIL LINE (OIL COOLER)
PUMP MOTOR SYSTEM J24500 HYDRAULIC OIL LINE (F M)
PUMP MOTOR SYSTEM J30100 HYDRAULIC CYLINDER
PUMP MOTOR SYSTEM J31000 HYDRAULIC PISTON LIFT ARM
PUMP MOTOR SYSTEM J33000 FEED BACK LEVER
PUMP MOTOR SYSTEM J40500 CONTROL VALVE
PUMP MOTOR SYSTEM J41000 CONTROL VALVE [COMPONENT PARTS]
PUMP MOTOR SYSTEM K10100 3-POINT LINKAGE 2(LIFT ROD)
REAR AXLE D30100 REAR AXLE
REAR AXLE F20500 DIFFERENTIAL LOCK PEDAL
REAR TIRE R11001 REAR WHEEL(11.2-16) ## NOTE ORDER BY REF.No.120 NEW PART and REF.No.130 NEW PART.
REAR TIRE R11002 REAR WHEEL(3312.5-15) ## NOTE ORDER BY REF.No.080 NEW PART and REF.No.090 NEW PART.
REAR TIRE R11003 REAR WHEEL(3115.5-15) ## NOTE ORDER BY REF.No.120 NEW PART and REF.No.130 NEW PART.
REAR TIRE R11004 REAR WHEEL(12-16.5) ## NOTE ORDER BY REF.No.120 NEW PART and REF.No.130 NEW PART.
SPEED CHANGE D21700 RANGE GEAR SHIFT FORK
SPEED CHANGE D22000 PTO GEAR SHIFT FORK
SPEED CHANGE D22500 DIFFERENTIAL LOCK SHIFT FORK
SPEED CHANGE F03000 SPEED SET LEVER
SPEED CHANGE F10700 NEUTRAL HOLDER LINK
SPEED CHANGE F10800 SPEED CONTROL PEDAL
SPEED CHANGE F11000 RANGE GEAR SHIFT LEVER
SPEED CHANGE F11300 FRONT WHEEL DRIVE LEVER
SPEED CHANGE F12500 PTO GEAR SHIFT LEVER
STEERING H00100 KNUCKLE ARM
STEERING H00300 DRAG LINK
STEERING H00500 TIE ROD
STEERING H10100 STEERING HANDLE
STEERING H10500 STEERING POST
STEERING J10100 HYDRAULIC PUMP(PS)
STEERING J10500 HYDRAULIC PUMP(PS) [COMPONENT PARTS]
TOP LINK TOP LINK BRACKET PTO PROTECTOR K11500 LOWER LINK
TOP LINK TOP LINK BRACKET PTO PROTECTOR K12000 3-POINT LINKAGE 1(TOP LINK)
TOP LINK TOP LINK BRACKET PTO PROTECTOR K12500 CHECK CHAIN
TOP LINK TOP LINK BRACKET PTO PROTECTOR L11700 HITCH DRAWBAR
TOP LINK TOP LINK BRACKET PTO PROTECTOR L12500 PTO PROTECTOR
TRANSMISSION C42000 TRANSMISSION CASE
TRANSMISSION C42500 DIFFERENTIAL GEAR CASE
TRANSMISSION C42700 REAR AXLE CASE
TRANSMISSION D00100 CLUTCH SHAFT
TRANSMISSION D00500 PROPELLER SHAFT
TRANSMISSION D01000 HST
TRANSMISSION D01600 HST [COMPONENT PARTS] 1
TRANSMISSION D01700 HST [COMPONENT PARTS] 2
TRANSMISSION D01800 HST [COMPONENT PARTS] 3
TRANSMISSION D10300 FRONT SHAFT
TRANSMISSION D13500 PTO SHAFT
TRANSMISSION D13700 MID PTO
TRANSMISSION D14000 REAR DIFFERENTIAL
TRANSMISSION D14300 FRONT WHEEL PROPELLER SHAFT
TRANSMISSION D14900 2ND SHAFT
TRANSMISSION D15200 3RD SHAFT
TRANSMISSION D15500 4TH SHAFT
USEFUL PRODUCTS 000010 USEFUL PRODUCTS
New to our website?Creating an account is easy and quick!
Our website uses cookie to give you the best online shopping experience. More information Accept