Model added to My Equipment.Click 'My Equipment' to view updated list.
001000 SPRING KIT
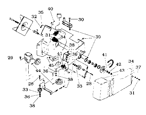
002000 BLOWER BRACKET DRIVE
003000 BLOWER COMPONENT PARTS
004000 BLOWER FASTENING HARDWARE
005000 GEARBOX
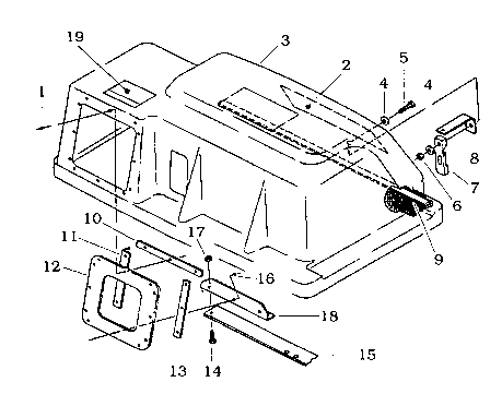
006000 CONTAINER COVER LIST #1
007000 CONTAINER COVER LIST #2
008000 FRAMES GRASS BAGS
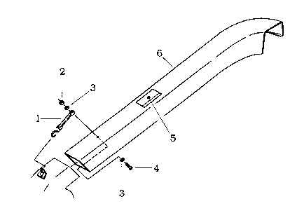
009000 CHUTE PARTS
010000 SAFETY SIGNS
New to our website?Creating an account is easy and quick!
Our website uses cookie to give you the best online shopping experience. More information Accept