Model added to My Equipment.Click 'My Equipment' to view updated list.
ACCESSORIES T09600 ACCESSORIES AND SEVICE PARTS
BONNET HOOD CHASSIS T08000 STEERING POST PANEL
BONNET HOOD CHASSIS T08100 BONNET (HOOD)
BONNET HOOD CHASSIS T08200 FENDER
BONNET HOOD CHASSIS T08300 SEAT
BONNET HOOD CHASSIS T08401 ROPS ## S.No.GF1800E TO 12547 GF1800 TO 11027
BONNET HOOD CHASSIS T08402 ROPS ## S.No.GF1800E FROM 20001 GF1800 FROM 20001
BRAKE T05501 BRAKE SHAFT
BRAKE T05601 BRAKE
BRAKE T05700 BRAKE ROD
BRAKE T05800 BRAKE PEDAL
COOLING WATER SYSTEM T02800 PANEL SCREEN
COOLING WATER SYSTEM T02900 RADIATOR
COOLING WATER SYSTEM T03000 FAN
ELECTRICAL SYSTEM T03100 DYNAMO
ELECTRICAL SYSTEM T03200 DYNAMO [COMPONENT PARTS]
ELECTRICAL SYSTEM T03300 STARTER
ELECTRICAL SYSTEM T03400 STARTER [COMPONENT PARTS]
ELECTRICAL SYSTEM T03500 BATTERY
ELECTRICAL SYSTEM T03600 ELECTRICAL INSTRUMENT
ELECTRICAL SYSTEM T03700 WIRE HARNESS
ENGINE T00100 CRANKCASE
ENGINE T00200 OIL PAN
ENGINE T00300 PISTON CRANKSHAFT
ENGINE T00400 MAIN BEARING CASE
ENGINE T00500 FLYWHEEL
ENGINE T00600 CYLINDER HEAD
ENGINE T00700 VALVE ROCKER ARM
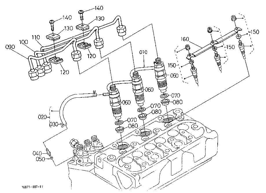
ENGINE T00800 NOZZLE HOLDER GLOW PLUG
ENGINE T00900 NOZZLE HOLDER [COMPONENT PARTS]%
ENGINE T01000 HEAD COVER
ENGINE T01100 INLET MANIFOLD
ENGINE T01200 AIR CLEANER
ENGINE T01300 EXHAUST MANIFOLD
ENGINE T01400 MUFFLER
ENGINE T01500 CAMSHAFT
ENGINE T01600 GEAR CASE
ENGINE T01700 WATER PUMP
ENGINE T01800 WATER FLANGE
ENGINE T01900 INJECTION PUMP
ENGINE T02100 SPEED CONTROL PLATE
ENGINE T02200 GOVERNOR
ENGINE T02300 SOLENOID
ENGINE T02400 GASKET KIT
ENGINE T02500 ACCELERATOR LEVER
FREQUENTLY USED ITEMS 000000 FREQUENTLY USED ITEMS
FRONT AXLE T04901 DIFFERENTIAL
FRONT AXLE T05000 DIFFERENTIAL LOCK SHAFT
FRONT AXLE T05101 DIFFERENTIAL LOCK PEDAL
FRONT AXLE T05200 FRONT AXLE CASE
FRONT AXLE T05300 FRONT AXLE
FRONT AXLE T05400 FRONT WHEEL (20 X 10.00-8)
FUEL SYSTEM T02600 FUEL TANK
FUEL SYSTEM T02700 FUEL PIPE
HYDRAULIC SYSTEM T07300 CONTROL VALVE
HYDRAULIC SYSTEM T07400 CONTROL VALVE [COMPONENT PARTS]%
HYDRAULIC SYSTEM T07500 HYDRAULIC PIPE 1
HYDRAULIC SYSTEM T07600 HYDRAULIC PIPE 2
HYDRAULIC SYSTEM T07700 HYDRAULIC PIPE 3
HYDRAULIC SYSTEM T07800 LIFT CYLINDER
HYDRAULIC SYSTEM T07900 MOWER LINK
LABELS T08500 LABEL
REAR AXLE T05900 REAR AXLE KNUCKLE ARM
REAR AXLE T06000 REAR WHEEL (16 X 6.50-8)
REAR AXLE T06801 FRAME
REAR AXLE T06900 WEIGHT
SPEED CHANGE T04500 PTO LEVER
SPEED CHANGE T04600 CRUISE CONTROL PLATE
SPEED CHANGE T04700 CRUISE CONTROL LEVER
SPEED CHANGE T04800 SPEED CONTROL PEDAL
STEERING T07001 DRAG LINK
STEERING T07100 STEERING GEAR CASE
STEERING T07200 STEERING WHEEL
TRANSMISSION T03800 TRANSMISSION CASE
TRANSMISSION T03900 HST
TRANSMISSION T04000 HST [COMPONENT PARTS]
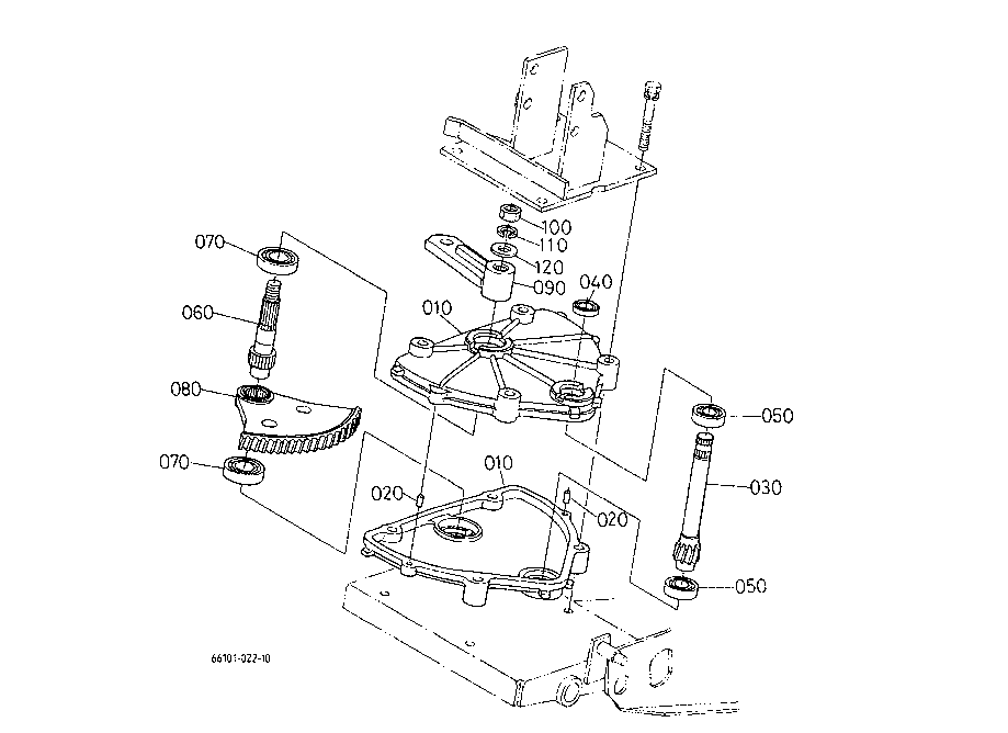
TRANSMISSION T04100 UNIVERSAL JOINT FAN
TRANSMISSION T04200 PTO GEAR CASE
TRANSMISSION T04300 ONE-WAY SHAFT
TRANSMISSION T04400 PTO CLUTCH PTO SHAFT
USEFUL PRODUCTS 000010 USEFUL PRODUCTS
New to our website?Creating an account is easy and quick!
Our website uses cookie to give you the best online shopping experience. More information Accept