Model added to My Equipment.Click 'My Equipment' to view updated list.
ACCESSORIES P00100 ACCESSORIES AND SERVICE PARTS
BRAKE D51000 BRAKE
BRAKE D52500 PARKING BRAKE PEDAL
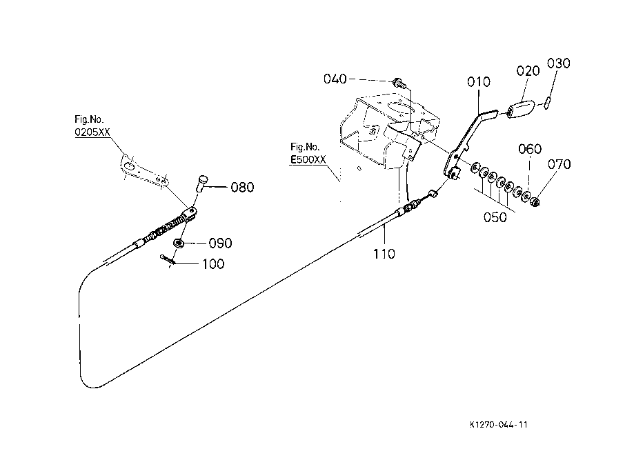
BRAKE D52800 CRUISE CONTROL
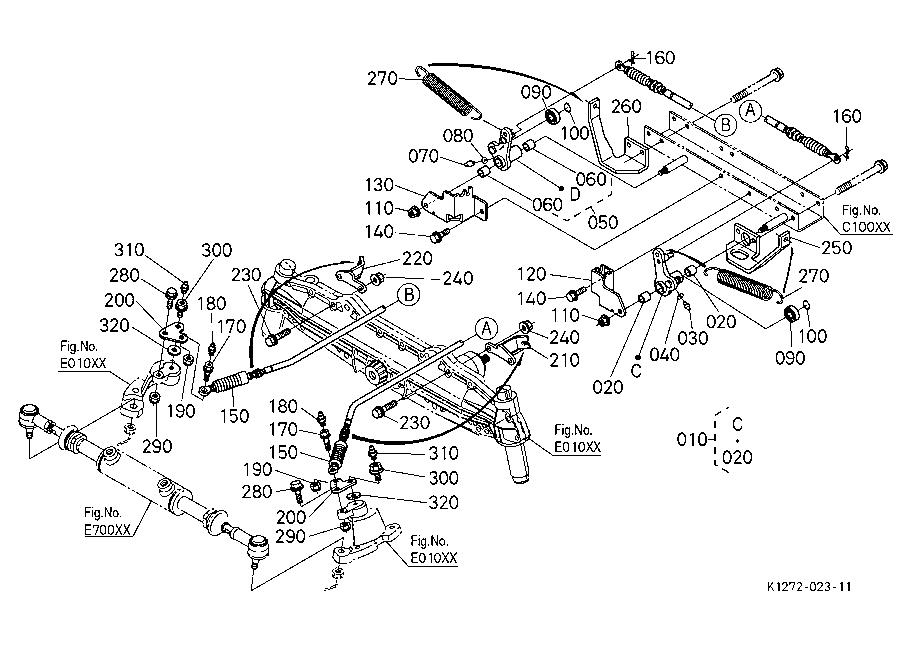
BRAKE D53000 BRAKE ROD
CHASSIS E50000 MAIN FRAME
CHASSIS E55000 ENGINE SUPPORT
COOLING WATER SYSTEM A21000 WATER PIPE
COOLING WATER SYSTEM A22000 RADIATOR
ELECTRICAL SYSTEM B01000 BATTERY
ELECTRICAL SYSTEM B10000 ELECTRICAL PARTS
ELECTRICAL SYSTEM B50000 WIRE HARNESS
ENGINE 000100 CRANK CASE
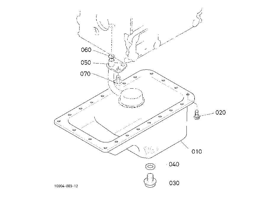
ENGINE 000200 OIL PAN
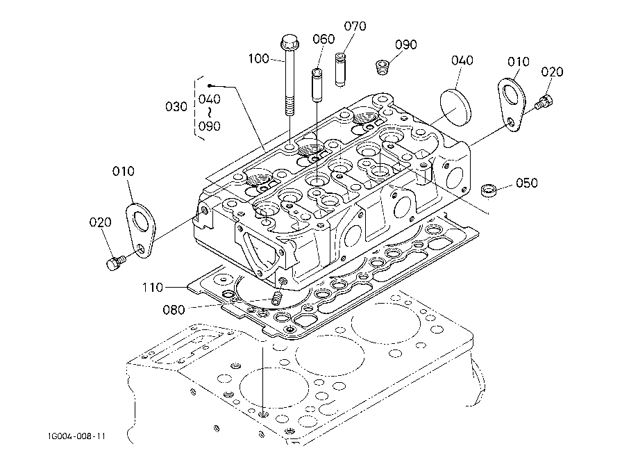
ENGINE 000300 CYLINDER HEAD
ENGINE 000400 GEAR CASE ## NOTE ORDER BY REF.No.010,100 AND FIG.No.050100 REF No.070 NEW PARTS SET.
ENGINE 000500 HEAD COVER
ENGINE 000600 OIL FILTER
ENGINE 000700 DIPSTICK AND GUIDE
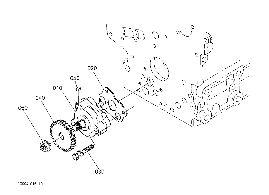
ENGINE 000800 OIL PUMP
ENGINE 010000 MAIN BEARING CASE
ENGINE 010100 CAMSHAFT AND IDLE GEAR SHAFT
ENGINE 010200 PISTON AND CRANKSHAFT
ENGINE 010300 FLYWHEEL
ENGINE 010500 FUEL CAMSHAFT AND GOVERNOR SHAFT
ENGINE 020000 IDLE APPARATUS
ENGINE 020100 STOP SOLENOID
ENGINE 020200 INJECTION PUMP
ENGINE 020400 GOVERNOR
ENGINE 020500 SPEED CONTROL PLATE
ENGINE 020600 NOZZLE HOLDER AND GLOW PLUG
ENGINE 020701 NOZZLE HOLDER [COMPONENT PARTS]% ## S.No.; TO 9HZ999
ENGINE 020702 NOZZLE HOLDER [COMPONENT PARTS] ## S.No.; FROM 9J0001
ENGINE 030500 FUEL PUMP COVER
ENGINE 040000 DYNAMO AND PULLEY
ENGINE 040100 DYNAMO [COMPONENT PARTS]
ENGINE 040400 STARTER
ENGINE 040500 STARTER [COMPONENT PARTS](NOT FOR REMAN UNIT)
ENGINE 040600 OIL SWITCH
ENGINE 050000 WATER FLANGE AND THERMOSTAT
ENGINE 050100 WATER PUMP
ENGINE 050300 WATER PIPE
ENGINE 050400 COOLER FAN
ENGINE 060000 VALVE AND ROCKER ARM
ENGINE 060100 INLET MANIFOLD
ENGINE 060200 EXHAUST MANIFOLD
ENGINE 060300 AIR CLEANER
ENGINE 060500 MUFFLER
ENGINE 090600 UPPER GASKET KIT [OPTION]
ENGINE 090700 LOWER GASKET KIT [OPTION]
FREQUENTLY USED ITEMS 000001 FREQUENTLY USED ITEMS
FRONT AXLE E00500 FRONT DIFFERENTIAL
FRONT AXLE E01001 FRONT AXLE (LEFT)
FRONT AXLE E01002 FRONT AXLE (RIGHT)
FRONT WHEEL E10001 FRONT WHEEL (T,167.50-8) [GR2110]
FRONT WHEEL E10002 FRONT WHEEL (BL,167.50-8) [GR2110B]
FUEL SYSTEM A01000 ACCEL LEVER
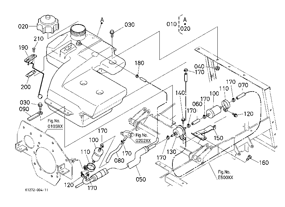
FUEL SYSTEM A10000 FUEL TANK
HOOD BONNET G00100 HOOD (BONNET)
HOOD BONNET G01000 PANEL
HOOD BONNET G03000 FENDER
HOOD BONNET G04000 SEAT
HYDRAULIC SYSTEM F01000 CONTROL VALVE
HYDRAULIC SYSTEM F01500 CONTROL VALVE [COMPONENT PARTS]
HYDRAULIC SYSTEM F30000 HYDRAULIC LIFT CYLINDER
HYDRAULIC SYSTEM F35000 LIFT LINK
LABELS G10000 LABELS
REAR AXLE C80000 REAR DIFFERENTIAL (TRANSMISSION)
REAR AXLE D10000 REAR AXLE
REAR WHEEL D20001 REAR WHEEL (T,2310.5-12) [GR2110]
REAR WHEEL D20002 REAR WHEEL (BL,2310.5-12) [GR2110B]
SPEED CHANGE D70000 SPEED CHANGE PEDAL
SPEED CHANGE D73000 PTO CLUTCH CONTROL LEVER
STEERING E70001 STEERING HANDLE
STEERING E70002 POWER STEERING 1
STEERING E70003 POWER STEERING 2
STEERING E70004 STEERING WIRE KIT [OPTION]
STEERING E71000 POWER STEERING CYLINDER [COMPONENT PARTS] ## S.No.; FROM 15680
TRANSMISSION C10000 TRANSMISSION PIPE
TRANSMISSION C12500 CLUTCH SHAFT (TRANSMISSION)
TRANSMISSION C12600 INPUT SHAFT (TRANSMISSION)
TRANSMISSION C40000 HST
TRANSMISSION C40500 HST [COMPONENT PARTS]
TRANSMISSION C42000 UNIVERSAL JOINT HST FAN
USEFUL PRODUCTS 000010 USEFUL PRODUCTS
New to our website?Creating an account is easy and quick!
Our website uses cookie to give you the best online shopping experience. More information Accept