Model added to My Equipment.Click 'My Equipment' to view updated list.
ACCESSORIES S13900 ACCESSORIES
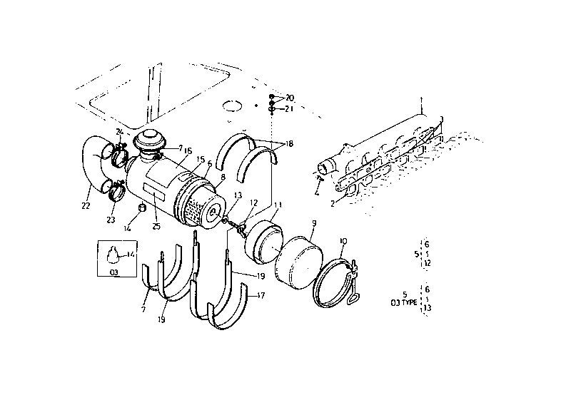
AIR INTAKE SYSTEM S01001 AIR CLEANER
BASIC ENGINE S00100 CRANKCASE
BASIC ENGINE S00200 PISTON, CRANKSHAFT
BASIC ENGINE S00300 MAIN BEARING CASE
BASIC ENGINE S00400 CAMSHAFT
BASIC ENGINE S00500 CYLINDER HEAD
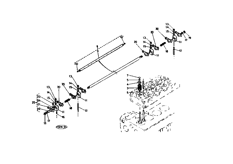
BASIC ENGINE S00600 VALVE, ROCKER ARM
BASIC ENGINE S00700 CYLINDER HEAD COVER
BASIC ENGINE S00801 GEAR CASE
BASIC ENGINE S00802 OIL FILTER (COMPONENT PARTS)
BASIC ENGINE S00900 ENGINE BRACKET
COOLING SYSTEM S02200 WATER FLANGE
COOLING SYSTEM S02300 WATER PUMP
COOLING SYSTEM S02400 RADIATOR
COOLING SYSTEM S02500 WATER PIPE
ELECTRICAL SYSTEM S02601 FLYWHEEL, STARTER
ELECTRICAL SYSTEM S02602 STARTER (COMPONENT PARTS) (OLD TYPE) ## TO 45749
ELECTRICAL SYSTEM S02603 STARTER (COMPONENT PARTS) (NEW TYPE)(NOT FOR REMAN UNIT) ## FROM 45750
ELECTRICAL SYSTEM S02701 DYNAMO
ELECTRICAL SYSTEM S02702 DYNAMO (COMPONENT PARTS)
ELECTRICAL SYSTEM S02800 BATTERY
ELECTRICAL SYSTEM S02902 BATTERY COVER
ELECTRICAL SYSTEM S03002 REGULATOR, HORN
ELECTRICAL SYSTEM S03101 SWITCH, METER
ELECTRICAL SYSTEM S03102 VALVE (COMPONENT PARTS)
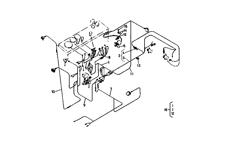
ELECTRICAL SYSTEM S03202 WIRE HARNESS
EXHAUST SYSTEM S01100 MUFFLER
FRONT ATTACHMENTS S09100 SWING BRACKET
FRONT ATTACHMENTS S09200 BOOM
FRONT ATTACHMENTS S09300 ARM
FRONT ATTACHMENTS S09400 BUCKET LINK
FRONT ATTACHMENTS S09500 BUCKET
FRONT ATTACHMENTS S09600 DOZER
FUEL SYSTEM S01200 NOZZLE HOLDER, GLOW PLUG
FUEL SYSTEM S01300 NOZZLE HOLDER (COMPONENT PARTS)
FUEL SYSTEM S01400 SPEED CONTROL PLATE
FUEL SYSTEM S01500 GOVERNOR
FUEL SYSTEM S01601 INJECTION PUMP
FUEL SYSTEM S01602 INJECTION PUMP (COMPONENT PARTS)
FUEL SYSTEM S01700 FUEL CAMSHAFT
FUEL SYSTEM S01800 ACCEL LEVER
FUEL SYSTEM S01900 FUEL FILTER
FUEL SYSTEM S02000 FUEL PIPING
FUEL SYSTEM S02100 FUEL TANK
HYDRAULIC SYSTEM S03300 PUMP HOUSING
HYDRAULIC SYSTEM S03401 GEAR PUMP (1) (OLD TYPE) ## S.No.; TO 10769
HYDRAULIC SYSTEM S03402 GEAR PUMP (1) (NEW TYPE) ## S.No.; FROM 10770
HYDRAULIC SYSTEM S03500 GEAR PUMP (2)
HYDRAULIC SYSTEM S03601 DRIVE MOTOR [EXCEPT 07, 14 TYPE]
HYDRAULIC SYSTEM S03701 SWIVEL MOTOR [EXCEPT 07, 14 TYPE]
HYDRAULIC SYSTEM S03800 ROTARY JOINT
HYDRAULIC SYSTEM S03902 OIL TANK [16, 20, 22 TYPE]
HYDRAULIC SYSTEM S04001 CONTROL VALVE (1)
HYDRAULIC SYSTEM S04002 CONTROL VALVE (2)
HYDRAULIC SYSTEM S04003 CONTROL VALVE (3)
HYDRAULIC SYSTEM S04100 CONTROL VALVE
HYDRAULIC SYSTEM S05300 CONTROL LEVER (FRAME)
HYDRAULIC SYSTEM S05400 CONTROL LEVER (TRAVEL LH-1)
HYDRAULIC SYSTEM S05500 CONTROL LEVER (TRAVEL LH-2)
HYDRAULIC SYSTEM S05600 CONTROL LEVER (TRAVEL LH-2)
HYDRAULIC SYSTEM S05700 CONTROL LEVER (TRAVEL LH-3)
HYDRAULIC SYSTEM S05800 CONTROL LEVER (TRAVEL RH-1)
HYDRAULIC SYSTEM S05900 CONTROL LEVER (TRAVEL RH-2)
HYDRAULIC SYSTEM S06000 CONTROL LEVER (TRAVEL RH-3)
HYDRAULIC SYSTEM S06100 CONTROL LEVER (FRONT LH)
HYDRAULIC SYSTEM S06200 CONTROL LEVER (FRONT RH)
HYDRAULIC SYSTEM S06300 CONTROL LEVER (1) (DOZER)
HYDRAULIC SYSTEM S06400 CONTROL TRAVEL PEDAL
HYDRAULIC SYSTEM S06500 CONTROL PEDAL (SWIVEL SWING CHANGE)
HYDRAULIC SYSTEM S06600 CONTROL LEVER (S P) [EXCEPT 02, 05, 11 12, 23 TYPE]
HYDRAULIC SYSTEM S06800 OIL PIPING (SUCTION)
HYDRAULIC SYSTEM S06900 OIL PIPING (DELIVERY)
HYDRAULIC SYSTEM S07000 OIL PIPING (RETURN)
HYDRAULIC SYSTEM S07100 OIL PIPING (RETURN) [EXCEPT 07, 14 TYPE]
HYDRAULIC SYSTEM S07400 OIL PIPING (OIL COOLER)
HYDRAULIC SYSTEM S07500 OIL PIPING (TRAVEL LH)
HYDRAULIC SYSTEM S07600 OIL PIPING (TRAVEL RH)
HYDRAULIC SYSTEM S07700 OIL PIPING (SWIVEL)
HYDRAULIC SYSTEM S07800 OIL PIPING (BOOM) [EXCEPT 07, 10, 14, TYPE]
HYDRAULIC SYSTEM S08000 OIL PIPING (ARM)
HYDRAULIC SYSTEM S08100 OIL PIPING (BUCKET)
HYDRAULIC SYSTEM S08200 OIL PIPING (DOZER)
HYDRAULIC SYSTEM S08300 OIL PIPING (SWING)
HYDRAULIC SYSTEM S08400 OIL PIPING (S P)
HYDRAULIC SYSTEM S08500 BOOM CYLINDER COMPONENT PARTS
HYDRAULIC SYSTEM S08700 ARM CYLINDER COMPONENT PARTS
HYDRAULIC SYSTEM S08800 BUCKET CYLINDER COMPONENT PARTS
HYDRAULIC SYSTEM S08900 DOZER CYLINDER COMPONENT PARTS
HYDRAULIC SYSTEM S09000 SWING CYLINDER COMPONENT PARTS
OPERATORS PLATFORM S12200 CABIN
OPERATORS PLATFORM S12400 CABIN (DOOR)
OPERATORS PLATFORM S12600 CABIN (FRONT DOOR)
OPERATORS PLATFORM S12800 CABIN (SPONGE)
OPERATORS PLATFORM S12900 PANEL
OPERATORS PLATFORM S13100 SEAT (KED)
OPERATORS PLATFORM S13300 CABIN (WIPER MOTOR)
OPERATORS PLATFORM S13400 CABIN (HEATER) [EXCEPT 02, 11, 12, 19, 23 TYPE]
OPERATORS PLATFORM S13600 LIGHT
OPERATORS PLATFORM S13800 LABEL
PAINT 000040 PAINT
SWIVEL FRAME S10600 SWIVEL FRAME
SWIVEL FRAME S10700 SWIVEL GEAR CASE
SWIVEL FRAME S10800 SWIVEL GEAR
SWIVEL FRAME S11000 SWIVEL BEARING
SWIVEL FRAME S11200 FLOOR PLATE (2) (STEP)
SWIVEL FRAME S11300 FLOOR PLATE (1)
SWIVEL FRAME S11500 BONNET
SWIVEL FRAME S11600 SPONGE
SWIVEL FRAME S11700 SPONGE
SWIVEL FRAME S11900 HOOD SPONGE
SWIVEL FRAME S12000 WEIGHT
TRACK FRAME S09700 TRACK FRAME
TRACK FRAME S09800 DRIVE GEAR (1)
TRACK FRAME S09900 DRIVE GEAR (2)
TRACK FRAME S10000 DRIVE GEAR CASE
TRACK FRAME S10100 IDLER
TRACK FRAME S10200 TRACK ROLLER
TRACK FRAME S10300 CRAWLER
USEFUL PRODUCTS 000010 USEFUL PRODUCTS
New to our website?Creating an account is easy and quick!
Our website uses cookie to give you the best online shopping experience. More information Accept