Model added to My Equipment.Click 'My Equipment' to view updated list.
3-POINT LINKAGE DRAWBAR HITCH J10500 TOP LINK
3-POINT LINKAGE DRAWBAR HITCH J11000 3-POINT LINKAGE 1 (LOWER LINK)
3-POINT LINKAGE DRAWBAR HITCH J11300 STABILIZER
3-POINT LINKAGE DRAWBAR HITCH J11500 3-POINT LINKAGE 2 (LIFT ROD)
3-POINT LINKAGE DRAWBAR HITCH K10500 DRAWBAR
3-POINT LINKAGE DRAWBAR HITCH K12500 PTO PROTECTOR
ACCESSORIES AND SERVICE PARTS S10500 ACCESSORIES AND SERVICE PARTS
CLUTCH TRANSMISSION C10100 CLUTCH
CLUTCH TRANSMISSION C20102 CLUTCH LEVER
CLUTCH TRANSMISSION C30102 CLUTCH PEDAL
CLUTCH TRANSMISSION C40104 CLUTCH HOUSING
CLUTCH TRANSMISSION C40301 HST (SERVO PISTON) [COMPONENT PARTS]
CLUTCH TRANSMISSION C40302 HST (SERVO REGULATOR) [COMPONENT PARTS]
CLUTCH TRANSMISSION C40303 HST (HI-LO AND SOLENOID VALVE) [COMPONENT PARTS]
CLUTCH TRANSMISSION C40304 HST (RELIEF VALVE) [COMPONENT PARTS]
CLUTCH TRANSMISSION C40305 HST (CYLINDER BLOCK) [COMPONENT PARTS]
CLUTCH TRANSMISSION C40306 HST (CHARGE PUMP) [COMPONENT PARTS]
CLUTCH TRANSMISSION C40307 HST (INPUT SHAFT) [COMPONENT PARTS] ## NOTE ORDER BY REF.No.050 and 010 N
CLUTCH TRANSMISSION C41003 MID CASE
CLUTCH TRANSMISSION C42004 TRANSMISSION CASE
CLUTCH TRANSMISSION D10503 COUNTERSHAFT
CLUTCH TRANSMISSION D11703 RANGE GEAR SHAFT
CLUTCH TRANSMISSION D12502 SPIRAL BEVEL PINION
CLUTCH TRANSMISSION D12700 REAR DIFFERENTIAL
CLUTCH TRANSMISSION D13002 PTO COUNTERSHAFT
CLUTCH TRANSMISSION D13202 PTO CLUTCH
CLUTCH TRANSMISSION D13300 PTO CLUTCH [COMPONENT PARTS]
CLUTCH TRANSMISSION D13500 PTO SHAFT
COOLING WATER SYSTEM A40100 FAN
COOLING WATER SYSTEM A41000 WATER PIPE
COOLING WATER SYSTEM A42000 RADIATOR
COOLING WATER SYSTEM A43000 RESERVE TANK
ELECTRICAL SYSTEM A51501 ALTERNATOR
ELECTRICAL SYSTEM A52000 ALTERNATOR [COMPONENT PARTS](NOT FOR REMAN UNIT)
ELECTRICAL SYSTEM A52501 STARTER
ELECTRICAL SYSTEM A53001 STARTER [COMPONENT PARTS](NOT FOR REMAN UNIT)
ELECTRICAL SYSTEM A53500 BATTERY
ELECTRICAL SYSTEM B10203 SWITCH RELAY
ELECTRICAL SYSTEM B10302 SWITCH SENSOR (ENGINE)
ELECTRICAL SYSTEM B10402 SWITCH (FRONT)
ELECTRICAL SYSTEM B10503 SWITCH (REAR)
ELECTRICAL SYSTEM B11500 PANEL BOARD
ELECTRICAL SYSTEM B12000 PANEL BOARD [COMPONENT PARTS]
ELECTRICAL SYSTEM B30300 HEAD LIGHT
ELECTRICAL SYSTEM B31100 HAZARD LIGHT
ELECTRICAL SYSTEM B31200 REAR LAMP
ELECTRICAL SYSTEM B50303 ELECTRICAL WIRING (FRONT)
ELECTRICAL SYSTEM B50703 ELECTRICAL WIRING (REAR)
ENGINE 000101 CRANK CASE
ENGINE 000201 OIL PAN
ENGINE 000301 CYLINDER HEAD [D1703-M-E2-GST1(HST1), D1803-M-E2-GST1(HST1)]
ENGINE 000302 CYLINDER HEAD [D1703-M-E3-GST1(HST1(2)), D1803-M-E3-GST1(HST1(2))]
ENGINE 000401 GEAR CASE
ENGINE 000500 HEAD COVER
ENGINE 010000 MAIN BEARING CASE
ENGINE 010100 CAMSHAFT AND IDLE GEAR SHAFT
ENGINE 010201 PISTON AND CRANKSHAFT [D1703-M-E2-GST1,D1703-M-E2-HST1]
ENGINE 010202 PISTON AND CRANKSHAFT [D1703-M-E3-GST1,D1703-M-E3-HST1(2)]
ENGINE 010305 FLYWHEEL [D1703-M-E2-HST1]
ENGINE 010306 FLYWHEEL [D1703-M-E3-HST1 HST2]
ENGINE 010501 FUEL CAMSHAFT
ENGINE 020000 ENGINE STOP LEVER
ENGINE 020200 INJECTION PUMP
ENGINE 020400 GOVERNOR
ENGINE 020502 SPEED CONTROL PLATE
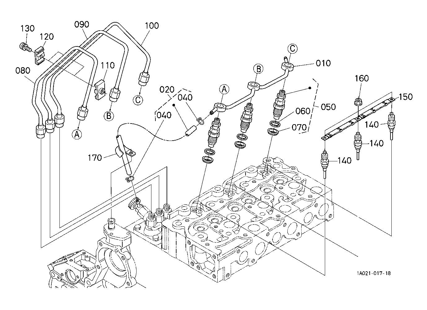
ENGINE 020600 NOZZLE HOLDER AND GLOW PLUG
ENGINE 020700 NOZZLE HOLDER [COMPONENT PARTS]
ENGINE 050000 WATER FLANGE AND THERMOSTAT
ENGINE 050100 WATER PUMP
ENGINE 060000 VALVE AND ROCKER ARM
ENGINE 060100 INLET MANIFOLD
ENGINE 060300 EXHAUST MANIFOLD MUFFLER
ENGINE 060400 AIR CLEANER
ENGINE 090100 UPPER GASKET KIT
ENGINE 090200 LOWER GASKET KIT
ENGINE A01000 ACCELERATOR LEVER
ENGINE A05001 AUTO THROTTLE ADVANCE(ATA) LEVER [OLD]
ENGINE A05002 AUTO THROTTLE ADVANCE(ATA) LEVER [NEW]
ENGINE A05500 AUTO THROTTLE CAM
FREQUENTLY USED ITEMS 000002 FREQUENTLY USED ITEMS
FREQUENTLY USED ITEMS 000003 FILTER AND FLUID CAPACITY
FRONT AXLE CHASSIS F10502 FRONT AXLE FRAME
FRONT AXLE CHASSIS F12002 PROPELLER SHAFT
FRONT AXLE CHASSIS F12200 FRONT WHEEL DRIVE SHAFT
FRONT AXLE CHASSIS F12500 FRONT DIFFERENTIAL CASE
FRONT AXLE CHASSIS F12700 BEVEL GEAR (FRONT)
FRONT AXLE CHASSIS F13000 DIFFERENTIAL (FRONT)
FRONT AXLE CHASSIS F14100 FRONT AXLE CASE LH
FRONT AXLE CHASSIS F14200 FRONT AXLE CASE RH
FRONT AXLE CHASSIS F14500 DIFFERENTIAL GEAR SHAFT
FRONT AXLE CHASSIS F15000 FRONT AXLE
FRONT REAR TIRE P10102 FRONT WHEEL (7-16 R1)
FRONT REAR TIRE P10103 FRONT WHEEL (7.2-16 R1)
FRONT REAR TIRE P10105 FRONT WHEEL (10-16.5)
FRONT REAR TIRE P10106 FRONT WHEEL (278.50-15)
FRONT REAR TIRE P10107 FRONT WHEEL (2710.50-15)
FRONT REAR TIRE P10109 FRONT WHEEL (2912.5-15)
FRONT REAR TIRE P11001 REAR WHEEL (12.4-24 R1)
FRONT REAR TIRE P11002 REAR WHEEL (41 18LL16.1)
FRONT REAR TIRE P11003 REAR WHEEL (4418-20)
FRONT REAR TIRE P11004 REAR WHEEL (355 80-D20)
FRONT REAR TIRE P11005 REAR WHEEL (420 70-24)
FRONT REAR TIRE P11006 REAR WHEEL (12.4-24 R1) [OPTION]
FRONT REAR TIRE P11007 REAR WHEEL (420 70-24) [OPTION]
FUEL SYSTEM A10100 FUEL TANK
FUEL SYSTEM A11000 FUEL PIPE AND FUEL FILTER
FUEL SYSTEM A12000 FUEL FILTER
FUEL SYSTEM A13000 FUEL FILTER [COMPONENT PARTS]
HOOD BONNET L10100 FRONT GRILLE
HOOD BONNET L10202 HOOD (BONNET) FRONT SUPPORT
HOOD BONNET L10500 HOOD(BONNET)
HOOD BONNET L10700 HOOD(BONNET) LINK
HOOD BONNET L11501 SIDE COVER LOWER [OLD]
HOOD BONNET L11502 SIDE COVER LOWER [NEW]
HOOD BONNET L13000 SHUTTER PLATE
HOOD BONNET L20102 PANEL FRAME
HOOD BONNET L20302 PANEL COVER
HOOD BONNET L21000 FENDER
HOOD BONNET L21502 FLOOR SHEET
HOOD BONNET L21800 HYDRAULIC CONTROL LEVER GUIDE
HOOD BONNET L21900 SEAT
HOOD BONNET L22000 SEAT [COMPONENT PARTS]
HOOD BONNET L22100 SEAT SUSPENSION [COMPONENT PARTS]
HOOD BONNET L22502 STEP
HOOD BONNET L50100 SMV EMBLEM
HYDRAULIC SYSTEM G18002 STEERING CYLINDER
HYDRAULIC SYSTEM G18503 STEERING CYLINDER [COMPONENT PARTS]
HYDRAULIC SYSTEM H12000 HYDRAULIC PUMP
HYDRAULIC SYSTEM H12500 HYDRAULIC PUMP [COMPONENT PARTS]
HYDRAULIC SYSTEM H20502 HYDRAULIC OIL LINE (INLET)
HYDRAULIC SYSTEM H21002 HYDRAULIC OIL LINE (DELIVERY)
HYDRAULIC SYSTEM H21502 HYDRAULIC OIL LINE (PS)
HYDRAULIC SYSTEM H23003 PTO HYDRAULIC OIL LINE
HYDRAULIC SYSTEM H23302 HYDRAULIC OIL LINE (RETURN)
HYDRAULIC SYSTEM H24500 OIL COOLER
HYDRAULIC SYSTEM H28000 LOADER VALVE
HYDRAULIC SYSTEM H28100 HYDRAULIC OUTLET [COMPONENT PARTS]
HYDRAULIC SYSTEM H28300 LOADER VALVE LEVER
HYDRAULIC SYSTEM H28400 LOADER LOCK LEVER
HYDRAULIC SYSTEM H28500 HYDRAULIC LOADER PIPE
HYDRAULIC SYSTEM H30500 TRANSMISSION CASE COVER
HYDRAULIC SYSTEM H32000 LIFT ARM ## NOTE ORDER BY REF.No.070,090 and 140 NEW PARTS.
HYDRAULIC SYSTEM H33000 FEED BACK LEVER
HYDRAULIC SYSTEM H40500 CONTROL VALVE
HYDRAULIC SYSTEM H41000 CONTROL VALVE [COMPONENT PARTS]
HYDRAULIC SYSTEM H43200 CHECK VALVE SAFETY VALVE
HYDRAULIC SYSTEM H43500 3P CYLINDER RH
HYDRAULIC SYSTEM H43600 3P CYLINDER LH
HYDRAULIC SYSTEM H43701 3P CYLINDER [COMPONENT PARTS][OLD]
HYDRAULIC SYSTEM H43702 3P CYLINDER [COMPONENT PARTS][NEW]
HYDRAULIC SYSTEM H44000 POSITION CONTROL LEVER
LABELS R10504 LABEL 1 (FRONT)
LABELS R11002 LABEL 2 (PANEL)
LABELS R11504 LABEL 3 (REAR)
OPTION T10500 WORKING LIGHT KIT (W G No.L8329) [OPTION]
OPTION T11701 MID PTO (CASE) (W G No.L8338) [OPTION]
OPTION T11702 MID PTO (SHIFT FORK) (W G No.L8338) [OPTION]
OPTION T11704 MID PTO (LEVER) (W G No.L8338) [EXCEPT MANUAL T M TYPE] [OPTION]
OPTION T12100 FRONT BUMPER [OPTION]
OPTION T12600 REAR HYDRAULIC OUTLET KIT (W G No.L8349) [OPTION]
OPTION T13000 POSITION CONTROL LEVER (WITH DRAFT) (W G No.L8317) [OPTION]
OPTION T13300 POSITION CONTROL LINK (WITH DRAFT) (W G No.L8317) [OPTION]
OPTION T13500 DRAFT CONTROL LEVER (WITH DRAFT) (W G No.L8317) [OPTION]
OPTION T14000 TOP LINK HOLDER (WITH DRAFT) (W G No.L8317) [OPTION]
OPTION T14400 SWINGING DRAWBAR (W G No.L8325) [OPTION]
OPTION T14901 AUXILIARY CONTROL VALVE (W G No.L8308) [OPTION]
OPTION T14902 AUXILIARY CONTROL VALVE (FLOATING) (W G No.L8309) [OPTION]
OPTION T15000 AUXILIARY CONTROL VALVE BASE (W G No.L8335) [OPTION]
OPTION T15101 AUXILIARY CONTROL VALVE LEVER (1ST) (W G No.L8335) [OPTION]
OPTION T15102 AUXILIARY CONTROL VALVE LEVER (2ND) (W G No.L8336) [OPTION]
OPTION T15103 AUXILIARY CONTROL VALVE LEVER (3RD) (W G No.L8337) [OPTION]
OPTION T15501 AUXILIARY CONTROL VALVE COUPLER (1ST) (W G No.L8335) [OPTION]
OPTION T15502 AUXILIARY CONTROL VALVE COUPLER (2ND) (W G No.L8336) [OPTION]
OPTION T15503 AUXILIARY CONTROL VALVE COUPLER (3RD) (W G No.L8337) [OPTION]
REAR AXLE BRAKE E15100 REAR AXLE LH
REAR AXLE BRAKE E15200 REAR AXLE RH
REAR AXLE BRAKE E16101 BRAKE LH [EXCEPT GST TYPE]
REAR AXLE BRAKE E16200 BRAKE RH
REAR AXLE BRAKE E16500 BRAKE ROD 1 (BRAKE PEDAL)
REAR AXLE BRAKE E17002 BRAKE ROD 2 (BRAKE CAM)
REAR AXLE BRAKE E20102 BRAKE PEDAL
ROPS L30101 ROPS [OLD] ## S.No.; TO 52409
ROPS L30102 ROPS [NEW]
SPEED CHANGE SHIFT FORK SHIFT LEVER D21703 RANGE GEAR SHIFT FORK
SPEED CHANGE SHIFT FORK SHIFT LEVER D22502 REAR DIFFERENTIAL LOCK SHIFT FORK
SPEED CHANGE SHIFT FORK SHIFT LEVER E10600 CRUISE CONTROL LEVER
SPEED CHANGE SHIFT FORK SHIFT LEVER E10900 SPEED CONTROL PEDAL
SPEED CHANGE SHIFT FORK SHIFT LEVER E11002 RANGE GEAR SHIFT LEVER
SPEED CHANGE SHIFT FORK SHIFT LEVER E12602 PTO CLUTCH CONTROL LEVER
SPEED CHANGE SHIFT FORK SHIFT LEVER E12700 PTO CLUTCH VALVE [COMPONENT PARTS]
SPEED CHANGE SHIFT FORK SHIFT LEVER E14000 FRONT WHEEL DRIVE LEVER
STEERING G10102 STEERING HANDLE
STEERING G10300 TILT PEDAL
STEERING G10500 UNIVERSAL JOINT
STEERING G11000 STEERING CONTROLLER
USEFUL PRODUCTS 000010 USEFUL PRODUCTS
New to our website?Creating an account is easy and quick!
Our website uses cookie to give you the best online shopping experience. More information Accept