Model added to My Equipment.Click 'My Equipment' to view updated list.
ACCESSORIES AND SERVICE PARTS T13500 ACCESSORIES AND SERVICE PARTS
BRAKE T07500 BRAKE
BRAKE T07600 BRAKE PEDAL ## NOTE ORDER BY REF.No.090 and 120 NEW PARTS.
BRAKE T07700 BRAKE ROD 1
BRAKE T07800 BRAKE ROD 2
CLUTCH T04700 CLUTCH
CLUTCH T04800 CLUTCH LEVER
CLUTCH T04900 CLUTCH PEDAL
CLUTCH T05001 CLUTCH HOUSING [MANUAL T M TYPE]
CLUTCH T05101 MID CASE [MANUAL T M TYPE] [WITH IND-PTO]
COOLING WATER SYSTEM T03300 FAN
COOLING WATER SYSTEM T03400 WATER PIPE
COOLING WATER SYSTEM T03500 RADIATOR
COOLING WATER SYSTEM T03600 RESERVE TANK
ELECTRICAL SYSTEM T03700 ALTERNATOR
ELECTRICAL SYSTEM T03800 ALTERNATOR [COMPONENT PARTS]
ELECTRICAL SYSTEM T03900 STARTER
ELECTRICAL SYSTEM T04000 STARTER [COMPONENT PARTS](NOT FOR REMAN UNIT)
ELECTRICAL SYSTEM T04100 BATTERY
ELECTRICAL SYSTEM T04200 SWITCH
ELECTRICAL SYSTEM T04300 PANEL BOARD
ELECTRICAL SYSTEM T04400 PANEL BOARD [COMPONENT PARTS]
ELECTRICAL SYSTEM T04500 LIGHT
ELECTRICAL SYSTEM T04600 ELECTRICAL WIRING
ENGINE T00100 CRANKCASE
ENGINE T00200 OIL PAN
ENGINE T00300 PISTON AND CRANKSHAFT ## NOTE ORDER BY REF.No.010 and 040 NEW PART.
ENGINE T00400 MAIN BEARING CASE
ENGINE T00501 FLYWHEEL [W O IND-PTO]
ENGINE T00502 FLYWHEEL [WITH IND-PTO]
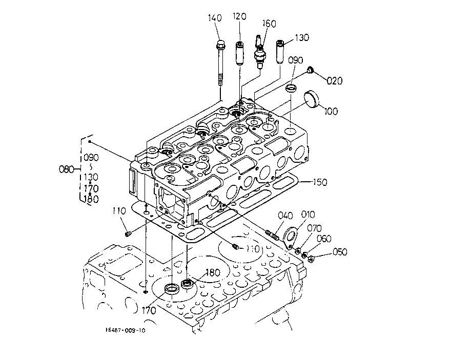
ENGINE T00600 CYLINDER HEAD
ENGINE T00700 VALVE AND ROCKER ARM
ENGINE T00800 NOZZLE HOLDER GLOW PLUG
ENGINE T00900 NOZZLE HOLDER [COMPONENT PARTS]
ENGINE T01000 CYLINDER HEAD COVER
ENGINE T01100 INLET MANIFOLD
ENGINE T01201 AIR CLEANER
ENGINE T01202 DOUBLE AIR CLEANER [OPTION]
ENGINE T01300 EXHAUST MANIFOLD AND MUFFLER
ENGINE T01400 CAMSHAFT
ENGINE T01500 GEAR CASE
ENGINE T01600 WATER PUMP
ENGINE T01700 WATER FLANGE AND THERMOSTAT
ENGINE T01800 FUEL CAMSHAFT
ENGINE T01900 INJECTION PUMP
ENGINE T02000 INJECTION PUMP [COMPONENT PARTS]
ENGINE T02100 ENGINE STOP LEVER
ENGINE T02200 SPEED CONTROL PLATE
ENGINE T02300 GOVERNOR
ENGINE T02402 UPPER GASKET KIT
ENGINE T02500 LOWER GASKET KIT
ENGINE T02600 STOP SOLENOID AND ENGINE STOP WIRE
ENGINE T02700 ACCELERATOR LEVER
ENGINE T02800 ACCELERATOR LINKAGE
ENGINE T02900 ACCELERATOR ROD
FRONT AXLE CHASSIS T07900 FRONT AXLE
FRONT AXLE CHASSIS T08000 KNUCKLE SHAFT
FRONT AXLE CHASSIS T08200 FRONT AXLE FRAME [2WD] ## NOTE ORDER BY ALL PARTS OF Fig.No.T136
FRONT AXLE CHASSIS T08900 FRONT WHEEL DRIVE SHAFT
FRONT AXLE CHASSIS T13600 FRONT AXLE FRAME [2WD] [OLD TYPE] [OPTION] ## S.No.; TO 10376
FRONT REAR TIRE T07402 REAR WHEEL (12.4-24)
FRONT REAR TIRE T07404 REAR WHEEL (13.6-16)
FRONT REAR TIRE T07405 REAR WHEEL (41X14.00-20)
FRONT REAR TIRE T07407 REAR WHEEL (355 80-D20)
FRONT REAR TIRE T08101 FRONT WHEEL (5.00-15)
FRONT REAR TIRE T08102 FRONT WHEEL (238.50-12)
FRONT REAR TIRE T08103 FRONT WHEEL (258.50-14)
FUEL SYSTEM T03000 FUEL TANK
FUEL SYSTEM T03100 FUEL PIPE AND FUEL FILTER
FUEL SYSTEM T03200 FUEL FILTER [COMPONENT PARTS]
HOOD BONNET T12100 FRONT GRILLE
HOOD BONNET T12200 FRONT GRILLE SUPPORT
HOOD BONNET T12300 HOOD (BONNET)
HOOD BONNET T12400 SIDE COVER
HOOD BONNET T12500 SIDE COVER LOWER
HOOD BONNET T12600 SHUTTER PLATE
HOOD BONNET T12700 PANEL FRAME
HOOD BONNET T12800 FENDER
HOOD BONNET T12900 FLOOR SEAT
HOOD BONNET T13000 SEAT
HOOD BONNET T13100 STEP
HYDRAULIC SYSTEM T09800 HYDRAULIC OIL LINE (PS)
HYDRAULIC SYSTEM T10000 REGULATOR VALVE
HYDRAULIC SYSTEM T10101 PTO HYDRAULIC OIL LINE [WITH IND-PTO] [MANUAL T M TYPE]
HYDRAULIC SYSTEM T10200 HYDRAULIC PUMP
HYDRAULIC SYSTEM T10300 HYDRAULIC PUMP [COMPONENT PARTS]
HYDRAULIC SYSTEM T10400 HYDRAULIC OIL LINE (INLET)
HYDRAULIC SYSTEM T10500 HYDRAULIC OIL LINE (DELIVERY)
HYDRAULIC SYSTEM T10600 HYDRAULIC OUTLET BLOCK
HYDRAULIC SYSTEM T10700 HYDRAULIC CYLINDER
HYDRAULIC SYSTEM T10800 LIFT ARM
HYDRAULIC SYSTEM T10900 CONTROL VALVE
HYDRAULIC SYSTEM T11000 CONTROL VALVE [COMPONENT PARTS] [OLD TYPE]
HYDRAULIC SYSTEM T11001 CONTROL VALVE [COMPONENT PARTS] [NEW TYPE]
HYDRAULIC SYSTEM T11100 FEED BACK LEVER
HYDRAULIC SYSTEM T11200 POSITION CONTROL LEVER
HYDRAULIC SYSTEM T11300 DRAFT AND POSITION CONTROL LEVER 1 [OPTION]
HYDRAULIC SYSTEM T11400 DRAFT AND POSITION CONTROL LEVER 2 [OPTION]
HYDRAULIC SYSTEM T11500 TOP LINK HOLDER [OPTION]
HYDRAULIC SYSTEM T11601 DRAWBAR AND PTO PROTECTOR
HYDRAULIC SYSTEM T11602 SWINGING DRAWBAR AND CLEVIS DRAWBAR [OPTION]
HYDRAULIC SYSTEM T11701 REMOTE CONTROL VALVE LEVER 1 [OPTION]
HYDRAULIC SYSTEM T11702 REMOTE CONTROL VALVE LEVER 2 [OPTION]
HYDRAULIC SYSTEM T11703 REMOTE CONTROL VALVE LEVER 3 [OPTION]
HYDRAULIC SYSTEM T11801 REMOTE CONTROL VALVE COUPLER 1 [OPTION]
HYDRAULIC SYSTEM T11802 REMOTE CONTROL VALVE COUPLER 2 [OPTION]
HYDRAULIC SYSTEM T11803 REMOTE CONTROL VALVE COUPLER 3 [OPTION]
HYDRAULIC SYSTEM T11900 3-POINT LINKAGE 1 (LOWER LINK)
HYDRAULIC SYSTEM T12000 3-POINT LINKAGE 2 (LIFT ROD)
LABELS T13300 LABEL 1
LABELS T13400 LABEL 2
MAIN SP-CHANGE LEVER T06201 MAIN GEAR SHIFT LEVER [MANUAL T M TYPE]
MAIN SP-CHANGE LEVER T06301 MAIN GEAR SHIFT FORK [MANUAL T M TYPE]
MAIN SP-CHANGE LEVER T06400 SHUTTLE SHIFT LEVER
MAIN SP-CHANGE LEVER T06501 SHUTTLE SHIFT FORK [MANUAL T M TYPE]
MAIN SP-CHANGE LEVER T06601 RANGE GEAR SHIFT LEVER [MANUAL T M TYPE] [W O CREEP]
MAIN SP-CHANGE LEVER T06602 RANGE GEAR SHIFT LEVER CREEP GEAR SHIFT LEVER [MANUAL T M TYPE] [WITH CR
MAIN SP-CHANGE LEVER T06701 RANGE GEAR SHIFT FORK AND CREEP GEAR SHIFT FORK [MANUAL T M TYPE]
MAIN SP-CHANGE LEVER T06800 MID PTO SHIFT LEVER [WITH MID-PTO]
MAIN SP-CHANGE LEVER T06901 PTO CLUTCH CONTROL LEVER [WITH IND-PTO]
MAIN SP-CHANGE LEVER T06902 PTO CLUTCH VALVE [COMPONENT PARTS] [WITH IND-PTO]
MAIN SP-CHANGE LEVER T07001 SPIRAL BEVEL PINION [W O CREEP]
MAIN SP-CHANGE LEVER T07002 SPIRAL BEVEL PINION AND CREEP [WITH CREEP]
MAIN SP-CHANGE LEVER T07100 REAR DIFFERENTIAL
MAIN SP-CHANGE LEVER T07200 DEFFERENTIAL LOCK SHIFT FORK
REAR AXLE BRAKE T07300 REAR AXLE
ROPS T13200 ROPS
STEERING T09301 STEERING LINKAGE [2WD]
STEERING T09400 STEERING CYLINDER
STEERING T09500 STEERING CYLINDER [COMPONENT PARTS]%
STEERING T09600 STEERING CONTROLLER
STEERING T09700 STEERING HANDLE
TRANSMISSION T05200 TRANSMISSION CASE
TRANSMISSION T05302 MAIN SHAFT [WITH IND-PTO]
TRANSMISSION T05400 COUNTERSHAFT
TRANSMISSION T05601 SHUTTLE SHAFT [MANUAL T M TYPE]
TRANSMISSION T05701 RANGE GEAR SHAFT [MANUAL T M TYPE]
TRANSMISSION T05801 PTO COUNTERSHAFT [WITH IND-PTO]
TRANSMISSION T05901 PTO CLUTCH [WITH IND-PTO]
TRANSMISSION T06001 PTO SHAFT [W O MID-PTO]
TRANSMISSION T06002 PTO SHAFT [WITH MID-PTO]
TRANSMISSION T06100 MID PTO [WITH MID-PTO]
USEFUL PRODUCTS 000010 USEFUL PRODUCTS
New to our website?Creating an account is easy and quick!
Our website uses cookie to give you the best online shopping experience. More information Accept