Model added to My Equipment.Click 'My Equipment' to view updated list.
ACCESSORIES T13300 ACCESSORIES AND SERVICE PARTS
BRAKE T07300 BRAKE
BRAKE T07400 BRAKE PEDAL
CLUTCH T04401 CLUTCH [DUAL CLUTCH]
CLUTCH T04501 CLUTCH LEVER [WITH DUAL CLUTCH]
CLUTCH T04601 CLUTCH PEDAL [WITH DUAL CLUTCH]
CLUTCH T04701 CLUTCH HOUSING [WITH DUAL CLUTCH]
COOLING WATER SYSTEM T03001 FAN [OLD TYPE] ## S.No.; TO 50212
COOLING WATER SYSTEM T03002 FAN [NEW TYPE] ## S.No.; FROM 50213
COOLING WATER SYSTEM T03100 WATER PIPE
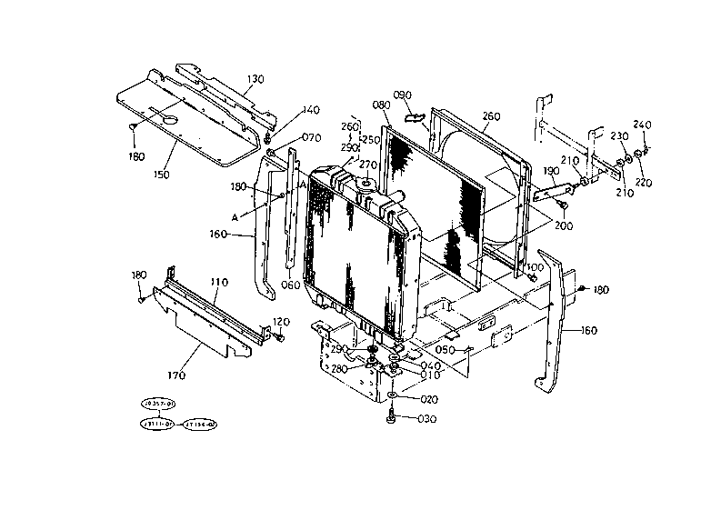
COOLING WATER SYSTEM T03200 RADIATOR
COOLING WATER SYSTEM T03300 RESERVE TANK
COOLING WATER SYSTEM T03400 SHUTTER
ELECTRICAL SYSTEM T03501 DYNAMO [A]
ELECTRICAL SYSTEM T03601 DYNAMO [COMPONENT PARTS] [A]
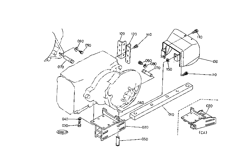
ELECTRICAL SYSTEM T03700 STARTER
ELECTRICAL SYSTEM T03800 STARTER [COMPONENT PARTS](NOT FOR REMAN UNIT)
ELECTRICAL SYSTEM T03900 BATTERY
ELECTRICAL SYSTEM T04000 SWITCH
ELECTRICAL SYSTEM T04100 PANEL
ELECTRICAL SYSTEM T04200 LIGHT
ELECTRICAL SYSTEM T04301 ELECTRICAL WIRING [A]
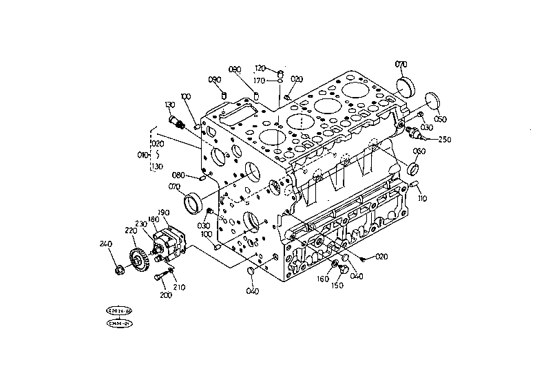
ENGINE T00100 CRANKCASE
ENGINE T00200 OIL PAN
ENGINE T00300 PISTON AND CRANKSHAFT
ENGINE T00400 MAIN BEARING CASE
ENGINE T00501 FLYWHEEL [WITH DUAL CLUTCH]
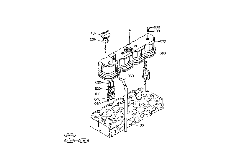
ENGINE T00600 CYLINDER HEAD
ENGINE T00700 VALVE AND ROCKER ARM
ENGINE T00800 NOZZLE AND GLOW PLUG
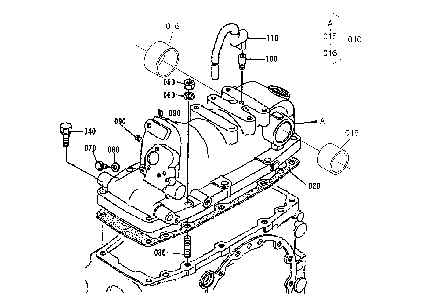
ENGINE T00900 CYLINDER HEAD COVER
ENGINE T01000 INLET MANIFOLD
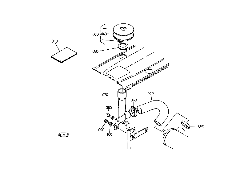
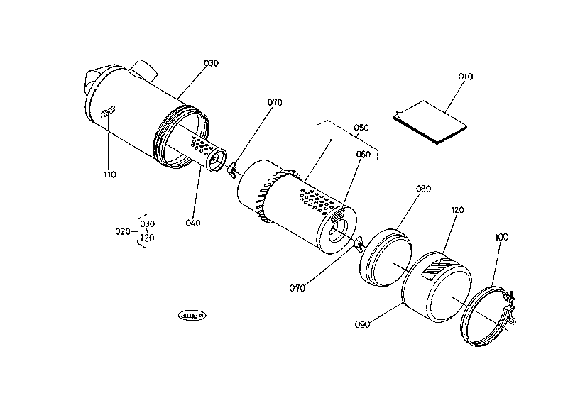
ENGINE T01101 AIR CLEANER
ENGINE T01102 DOUBLE AIR CLEANER [OPTION]
ENGINE T01200 PRE-CLEANER [OPTION]
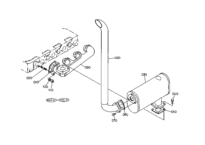
ENGINE T01301 EXHAUST MANIFOLD AND MUFFLER
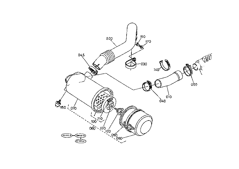
ENGINE T01302 UNDER MUFFLER [OPTION]
ENGINE T01400 CAMSHAFT
ENGINE T01500 GEAR CASE
ENGINE T01600 WATER PUMP
ENGINE T01700 WATER FLANGE AND THERMOSTAT
ENGINE T01800 FUEL CAMSHAFT
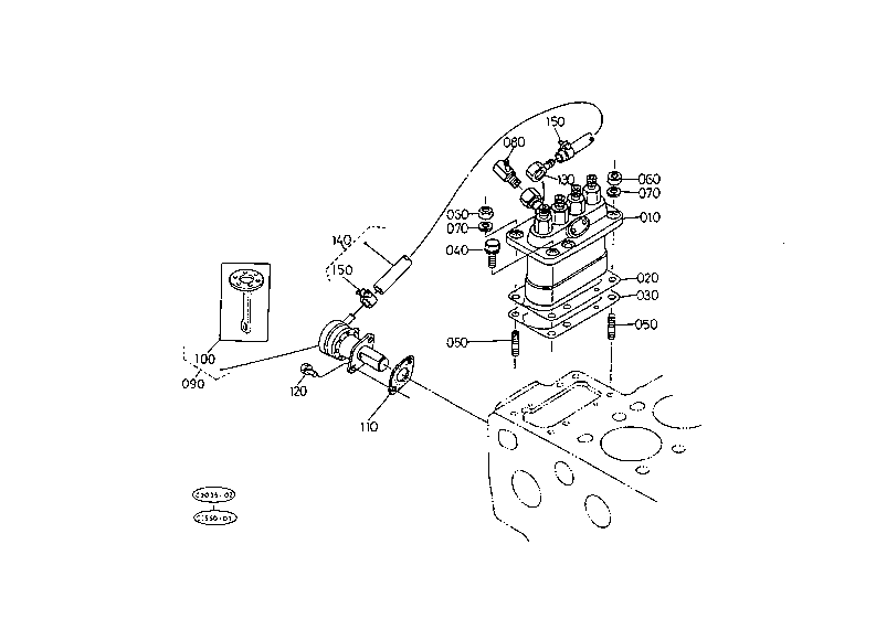
ENGINE T01900 INJECTION PUMP
ENGINE T02000 INJECTION PUMP [COMPONENT PARTS]
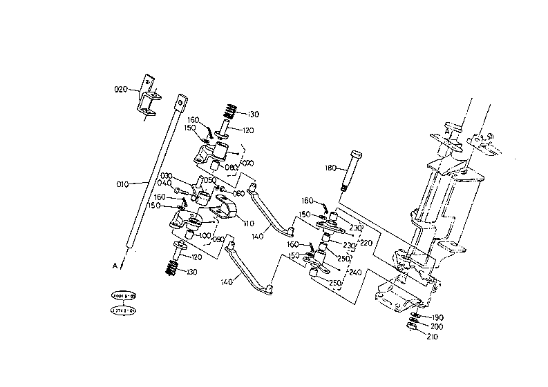
ENGINE T02100 ENGINE STOP LEVER
ENGINE T02200 SPEED CONTROL PLATE
ENGINE T02300 GOVERNOR
ENGINE T02400 STOP ROD
ENGINE T02501 ACCELERATOR LEVER ## S.No.; TO 50212
ENGINE T02502 ACCELERATOR LEVER [HYDROSTATIC PS] ## S.No.; FROM 50213
ENGINE T02600 ACCELERATOR LINKAGE
FRONT AXLE FRONT WHEEL T07900 FRONT AXLE
FRONT AXLE FRONT WHEEL T08000 FRONT AXLE CASE
FRONT AXLE FRONT WHEEL T08100 DIFFERENTIAL GEAR SHAFT
FRONT AXLE FRONT WHEEL T08201 FRONT DIFFERENTIAL CASE ## S.No.; TO 50212
FRONT AXLE FRONT WHEEL T08202 FRONT DIFFERENTIAL CASE ## S.No.; FROM 50213
FRONT AXLE FRONT WHEEL T08300 FRONT DIFFERENTIAL
FRONT AXLE FRONT WHEEL T08400 PROPELLER SHAFT
FRONT AXLE FRONT WHEEL T08501 FRONT WHEEL DRIVE SHAFT [W O MID PTO]
FRONT AXLE FRONT WHEEL T08603 FRONT WHEEL DRIVE LEVER
FRONT AXLE FRONT WHEEL T08702 FRONT WHEEL (8-16 FSLM)
FRONT AXLE FRONT WHEEL T08703 FRONT WHEEL (10-16.5 R4) [A]
FRONT AXLE FRONT WHEEL T08704 FRONT WHEEL (212 80-D15 PD)
FRONT AXLE FRONT WHEEL T08705 FRONT WHEEL (27X8.50-15 NHS) [A]
FRONT AXLE FRONT WHEEL T08706 FRONT WHEEL (29X12.50-15 NHS) [A]
FRONT AXLE FRONT WHEEL T08800 FRONT AXLE FRAME
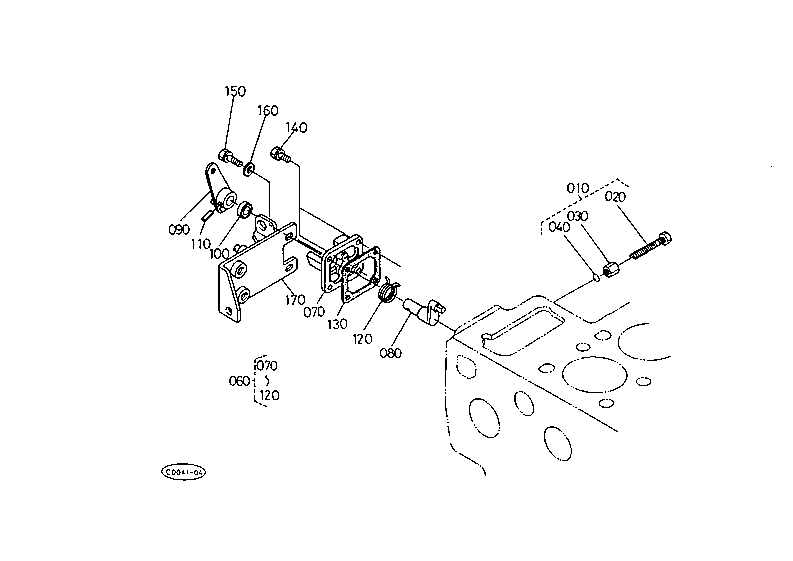
FUEL SYSTEM T02700 FUEL TANK
FUEL SYSTEM T02800 FUEL FILTER
FUEL SYSTEM T02900 FUEL FILTER [COMPONENT PARTS]
HITCH DRAWBAR T11801 DRAWBAR
HITCH DRAWBAR T11802 CLEVIS-DRAWBAR [OPTION]
HITCH DRAWBAR T11803 SWINGING DRAWBAR [OPTION]
HOOD(BONNET) CHASSIS T11900 FRONT GRILLE
HOOD(BONNET) CHASSIS T12000 FRONT GRILLE SUPPORT
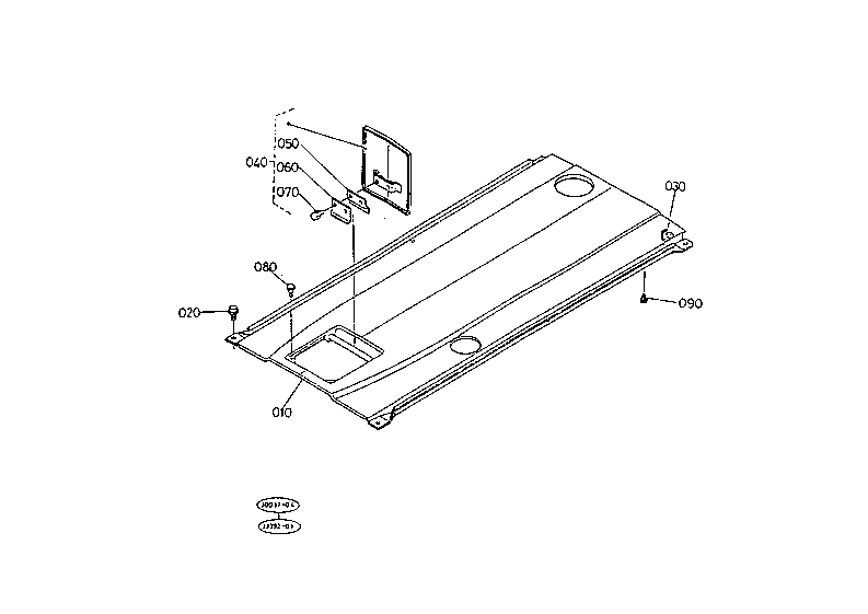
HOOD(BONNET) CHASSIS T12100 HOOD (BONNET)
HOOD(BONNET) CHASSIS T12200 SIDE COVER
HOOD(BONNET) CHASSIS T12300 REAR HOOD (REAR BONNET)
HOOD(BONNET) CHASSIS T12400 MAIN AND PTO CHANGE COVER
HOOD(BONNET) CHASSIS T12500 FENDER
HOOD(BONNET) CHASSIS T12600 FLOOR SEAT
HOOD(BONNET) CHASSIS T12700 SEAT
HOOD(BONNET) CHASSIS T12801 FOOT COVER [W O WET CLUTCH]
HOOD(BONNET) CHASSIS T12900 STEP
HOOD(BONNET) CHASSIS T13000 ROPS
HYDRAULIC SYSTEM T09600 HYDRAULIC PUMP (PS)
HYDRAULIC SYSTEM T09700 HYDRAULIC PUMP (PS) [COMPONENT PARTS]
HYDRAULIC SYSTEM T09802 HYDRAULIC OIL FILTER
HYDRAULIC SYSTEM T09901 HYDRAULIC OIL LINE [WITH DUAL CLUTCH]
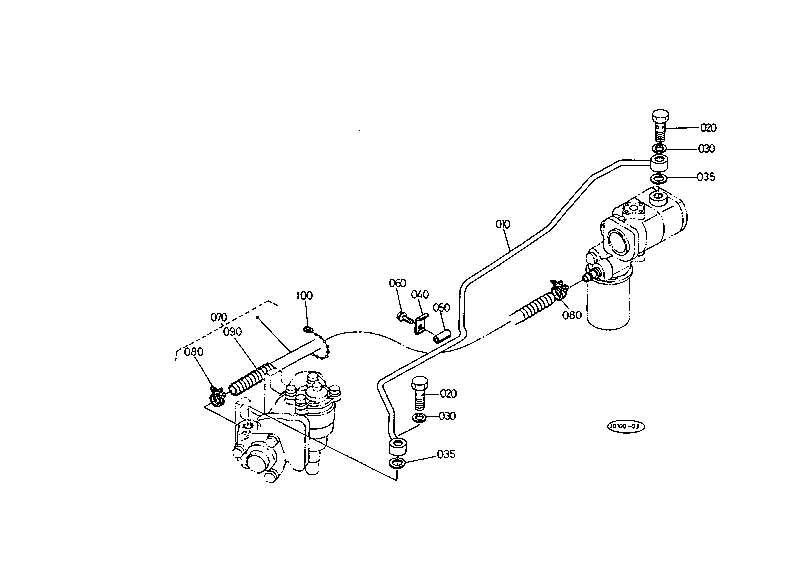
HYDRAULIC SYSTEM T10101 HYDRAULIC OIL LINE (PS) ## S.No.; TO 50212
HYDRAULIC SYSTEM T10102 HYDRAULIC OIL LINE ## S.No.; FROM 50213
HYDRAULIC SYSTEM T10200 HYDRAULIC OIL LINE ## S.No.; FROM 50213
HYDRAULIC SYSTEM T10300 HYDRAULIC BLOCK
HYDRAULIC SYSTEM T10400 CONTROL VALVE
HYDRAULIC SYSTEM T10500 CONTROL VALVE [COMPONENT PARTS]
HYDRAULIC SYSTEM T10600 DRAFT CONTROL VALVE [OPTION]
HYDRAULIC SYSTEM T10701 DRAFT CONTROL VALVE [COMPONENT PARTS] ## S.No.; TO 50212
HYDRAULIC SYSTEM T10702 DRAFT CONTROL VALVE [COMPONENT PARTS] ## S.No.; FROM 50213
HYDRAULIC SYSTEM T10800 HYDRAULIC CYLINDER
HYDRAULIC SYSTEM T10900 LIFT ARM
HYDRAULIC SYSTEM T11000 POSITION LEVER
HYDRAULIC SYSTEM T11100 FEED BACK LEVER
HYDRAULIC SYSTEM T11200 AUX.CONTROL VALVE 1 [OPTION]
HYDRAULIC SYSTEM T11300 AUX.CONTROL VALVE 2 [OPTION]
HYDRAULIC SYSTEM T11400 AUX.CONTROL VALVE [COMPONENT PARTS]
HYDRAULIC SYSTEM T11500 3-POINT LINKEGE 1
HYDRAULIC SYSTEM T11600 3-POINT LINKEGE 2
HYDRAULIC SYSTEM T11700 TOP LINKAGE BRACKET [OPTION]
LABELS T13100 LABEL 1
LABELS T13200 LABEL 2
REAR AXLE REAR WHEEL T06800 SPIRAL BEVEL PINION
REAR AXLE REAR WHEEL T06900 REAR DIFFERENTIAL
REAR AXLE REAR WHEEL T07000 DIFFERENTIAL LOCK PEDAL
REAR AXLE REAR WHEEL T07100 REAR AXLE
REAR AXLE REAR WHEEL T07205 REAR WHEEL (13.6-26 FL17)
REAR AXLE REAR WHEEL T07206 REAR WHEEL (17.5L-24 R4) [A]
REAR AXLE REAR WHEEL T07207 REAR WHEEL (355 80-D20 PD)
REAR AXLE REAR WHEEL T07208 REAR WHEEL (21.5L-16.1 R3)
SPEED CHANGE LEVER T05801 MAIN AND SHUTTLE GEAR SHIFT LEVER ## S.No.; TO 50212
SPEED CHANGE LEVER T05802 MAIN AND SHUTTLE GEAR SHIFT LEVER [HYDROSTATIC PS] ## S.No.; FROM 50213
SPEED CHANGE LEVER T05901 MAIN GEAR SHIFT LINKAGE SYSTEM ## S.No.; TO 50212
SPEED CHANGE LEVER T05902 MAIN GEAR SHIFT LINKAGE SYSTEM [HYDROSTATIC PS] ## S.No.; FROM 50213
SPEED CHANGE LEVER T06001 MAIN GEAR SHIFT FORK [CONSTANT MESH]
SPEED CHANGE LEVER T06002 MAIN GEAR SHIFT FORK [SYNCHRO MESH]
SPEED CHANGE LEVER T06100 SHUTTLE GEAR SHIFT FORK
SPEED CHANGE LEVER T06200 HI-LO GEAR SHIFT FORK
SPEED CHANGE LEVER T06501 PTO GEAR SHIFT FORK [WITH DUAL CLUTCH]
SPEED CHANGE LEVER T06600 PTO GEAR SHIFT LEVER
SPEED CHANGE LEVER T06700 PTO LEVER GUIDE
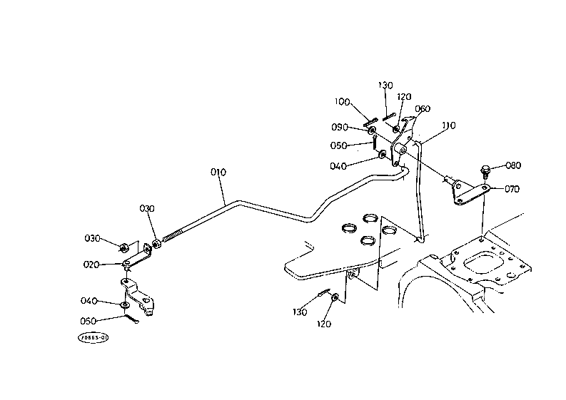
STEERING T08902 STEERING LINKAGE ## S.No.; FROM 50213
STEERING T08903 STEERING LINKAGE ## S.No.; FROM 50213
STEERING T09000 STEERING CYLINDER [COMPONENT PARTS] ## S.No.; FROM 50213
STEERING T09101 STEERING (PS) ## S.No.; TO 50212
STEERING T09102 STEERING CONTROLLER ## S.No.; FROM 50213
STEERING T09201 STEERING (PS) [COMPONENT PARTS] ## S.No.; TO 50212
STEERING T09202 STEERING CONTROLLER [COMPONENT PARTS] ## S.No.; FROM 50213
STEERING T09300 BEVEL GEAR CASE ## S.No.; TO 50212
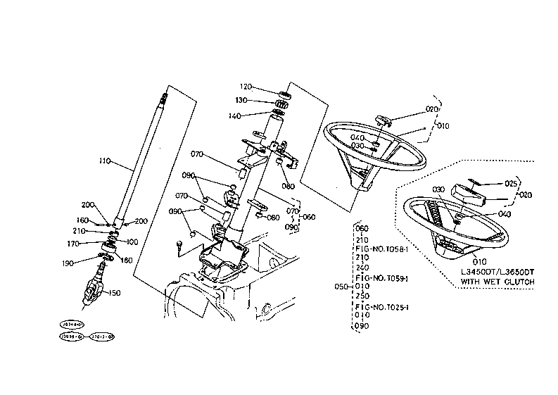
STEERING T09401 STEERING HANDLE ## S.No.; TO 50212
STEERING T09402 STEERING HANDLE ## S.No.; FROM 50213
STEERING T09500 ORCHARD KIT [OPTION]
TRANSMISSION T04800 TRANSMISSION CASE
TRANSMISSION T04901 MAIN SHAFT [WITH DUAL CLUTCH]
TRANSMISSION T05001 COUNTERSHAFT 1 [CONSTANT MESH]
TRANSMISSION T05002 COUNTERSHAFT 1 [SYNCHRO MESH]
TRANSMISSION T05100 COUNTERSHAFT 2
TRANSMISSION T05200 PTO COUNTERSHAFT 1 [WITH DUAL CLUTCH]
TRANSMISSION T05300 PTO COUNTERSHAFT 2 [WITH DUAL CLUTCH]
TRANSMISSION T05502 PTO SHAFT [W O I.MID PTO]
TRANSMISSION T05700 REVERSE SHAFT
USEFUL PRODUCTS 000010 USEFUL PRODUCTS
New to our website?Creating an account is easy and quick!
Our website uses cookie to give you the best online shopping experience. More information Accept