Model added to My Equipment.Click 'My Equipment' to view updated list.
ACCESSORIES S10500 ACCESSORIES AND SERVICE PARTS
CLUTCH TRANSMISSION C42004 TRANSMISSION CASE [HST TYPE] [WITH MID PTO] ## [AVEC TYPE DE PDF VENTRALE
CLUTCH TRANSMISSION REAR AXLE C10100 CLUTCH
CLUTCH TRANSMISSION REAR AXLE C20100 CLUTCH LEVER
CLUTCH TRANSMISSION REAR AXLE C30101 CLUTCH PEDAL [EXCEPT HST TYPE] [ROPS TYPE] ## [EXCEPTE TYPE CAB
CLUTCH TRANSMISSION REAR AXLE C30102 CLUTCH PEDAL [HST TYPE] [ROPS TYPE]
CLUTCH TRANSMISSION REAR AXLE C40101 CLUTCH HOUSING [MANUAL T M TYPE]
CLUTCH TRANSMISSION REAR AXLE C40103 CLUTCH HOUSING [GST TYPE]
CLUTCH TRANSMISSION REAR AXLE C40104 CLUTCH HOUSING [HST TYPE]
CLUTCH TRANSMISSION REAR AXLE C40500 GST VALVE [GST TYPE]
CLUTCH TRANSMISSION REAR AXLE C40600 GST VALVE [GST TYPE] [COMPONENT PARTS]
CLUTCH TRANSMISSION REAR AXLE C40700 GST VALVE [GST TYPE] [COMPONENT PARTS]
CLUTCH TRANSMISSION REAR AXLE C40800 GST VALVE [GST TYPE] [COMPONENT PARTS]
CLUTCH TRANSMISSION REAR AXLE C41001 MID CASE [MANUAL T M TYPE] [WITH IND-PTO]] ## [AVEC TYPE DE PDF
CLUTCH TRANSMISSION REAR AXLE C41002 MID CASE [GST TYPE] [W O IND-PTO] ## [SANS TYPE DE PDF IND]
CLUTCH TRANSMISSION REAR AXLE C41004 MID CASE [HST TYPE] [OLD TYPE]
CLUTCH TRANSMISSION REAR AXLE C41005 MID CASE [HST TYPE] [NEW TYPE]
CLUTCH TRANSMISSION REAR AXLE C41500 HST [COMPONENT PARTS] [HST TYPE] ## NOTE 1 ORDER BY.REF.No.010
CLUTCH TRANSMISSION REAR AXLE C42001 TRANSMISSION CASE [MANUAL T M TYPE] [W O MID PTO] ## [SANS TYPE
CLUTCH TRANSMISSION REAR AXLE C42003 TRANSMISSION CASE [GST TYPE] [W O MID PTO] ## [SANS TYPE DE PDF
CLUTCH TRANSMISSION REAR AXLE D10101 MAIN SHAFT [EXCEPT HST TYPE] [W O IND-PTO] ## [SANS TYPE DE PDF
CLUTCH TRANSMISSION REAR AXLE D10102 MAIN SHAFT [EXCEPT HST TYPE] [WITH IND-PTO] ## [AVEC TYPE DE PD
CLUTCH TRANSMISSION REAR AXLE D10103 MAIN SHAFT [HST TYPE]
CLUTCH TRANSMISSION REAR AXLE D10300 INPUT SHAFT [HST TYPE]
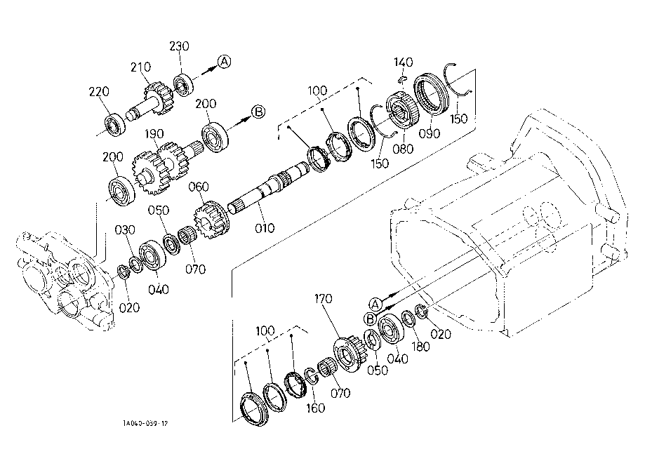
CLUTCH TRANSMISSION REAR AXLE D10501 COUNTERSHAFT [MANUAL T M TYPE]
CLUTCH TRANSMISSION REAR AXLE D10502 COUNTERSHAFT [GST TYPE]
CLUTCH TRANSMISSION REAR AXLE D10700 OUTPUT SHAFT [HST TYPE]
CLUTCH TRANSMISSION REAR AXLE D11001 HYDRAULIC CLUTCH [GST TYPE] [W O IND-PTO] ## [SANS TYPE DE PDF
CLUTCH TRANSMISSION REAR AXLE D11501 SHUTTLE SHAFT [MANUAL T M TYPE]
CLUTCH TRANSMISSION REAR AXLE D11502 SHUTTLE SHAFT [GST TYPE]
CLUTCH TRANSMISSION REAR AXLE D11701 RANGE GEAR SHAFT [MANUAL T M TYPE]
CLUTCH TRANSMISSION REAR AXLE D11702 RANGE GEAR SHAFT [GST TYPE]
CLUTCH TRANSMISSION REAR AXLE D12503 SPIRAL BEVEL PINION [EXCEPT HST TYPE] [W O CREEP] ## [SANS TYPE
CLUTCH TRANSMISSION REAR AXLE D12504 SPIRAL BEVEL PINION [EXCEPT HST TYPE][WITH CREEP] ## [AVEC TYPE
CLUTCH TRANSMISSION REAR AXLE D12505 SPIRAL BEVEL PINION [HST TYPE]
CLUTCH TRANSMISSION REAR AXLE D12700 REAR DIFFERENTIAL
CLUTCH TRANSMISSION REAR AXLE D13001 PTO COUNTERSHAFT [EXCEPT HST TYPE] [WITH IND-PTO] ## [AVEC TYPE
CLUTCH TRANSMISSION REAR AXLE D13002 PTO COUNTERSHAFT [EXCEPT HST TYPE] [W O IND-PTO] ## [SANS TYPE
CLUTCH TRANSMISSION REAR AXLE D13201 PTO CLUTCH [EXCEPT HST TYPE] [WITH IND-PTO] ## [AVEC TYPE DE PD
CLUTCH TRANSMISSION REAR AXLE D13202 PTO CLUTCH [EXCEPT HST TYPE] [W O IND-PTO] ## [SANS TYPE DE PDF
CLUTCH TRANSMISSION REAR AXLE D13203 PTO CLUTCH [HST TYPE] [W O IND-PTO]
CLUTCH TRANSMISSION REAR AXLE D13502 PTO SHAFT [EXCEPT HST TYPE] [W O MID PTO] ## [SANS TYPE DE PDF
CLUTCH TRANSMISSION REAR AXLE D13503 PTO SHAFT [HST TYPE] [WITH MID PTO] ## [AVEC TYPE DE PDF VENTRA
CLUTCH TRANSMISSION REAR AXLE D13700 MID PTO [WITH MID PTO]
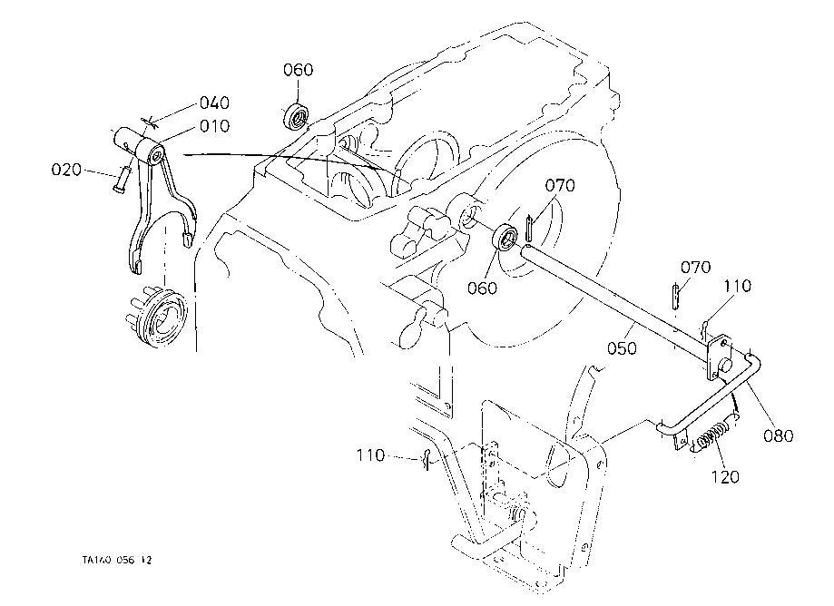
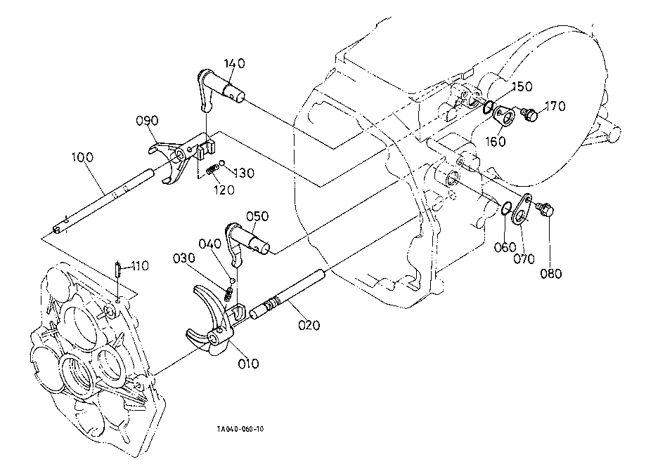
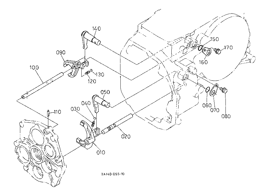
CLUTCH TRANSMISSION REAR AXLE D20101 MAIN GEAR SHIFT FORK [MANUAL T M TYPE] ## [TYPE T M MANUELLE]
CLUTCH TRANSMISSION REAR AXLE D20102 MAIN GEAR SHIFT FORK [GST TYPE] ## [TYPE GST]
CLUTCH TRANSMISSION REAR AXLE D20501 SHUTTLE SHIFT FORK [MANUAL T M TYPE]
CLUTCH TRANSMISSION REAR AXLE D20502 SHUTTLE SHIFT FORK [GST TYPE]
CLUTCH TRANSMISSION REAR AXLE D21501 RANGE GEAR SHIFT FORK CREEP GEAR SHIFT FORK ## [MANUAL T M TYPE
CLUTCH TRANSMISSION REAR AXLE D21502 RANGE GEAR SHIFT FORK CREEP GEAR SHIFT FORK ## [GST TYPE] [TYPE
CLUTCH TRANSMISSION REAR AXLE D21700 RANGE GEAR SHIFT FORK [HST TYPE]
CLUTCH TRANSMISSION REAR AXLE D22501 DIFFERENTIAL LOCK SHIFT FORK [EXCEPT HST TYPE] ## [ROPS TYPE] [
CLUTCH TRANSMISSION REAR AXLE D22502 DIFFERENTIAL LOCK SHIFT FORK [HST TYPE] ## [ROPS TYPE] [EXCEPTE
CLUTCH TRANSMISSION REAR AXLE D30101 REAR AXLE [ROPS TYPE]
COOLING WATER SYSTEM A40100 FAN
COOLING WATER SYSTEM A41001 WATER PIPE [ROPS TYPE]
COOLING WATER SYSTEM A42000 RADIATOR
COOLING WATER SYSTEM A43001 RESERVE TANK [ROPS TYPE]
ELECTRICAL SYSTEM A51501 ALTERNATOR [ROPS TYPE]
ELECTRICAL SYSTEM A52001 ALTERNATOR [COMPONENT PARTS] [ROPS TYPE](NOT FOR REMAN UNIT) ## [EXCEPTE TY
ELECTRICAL SYSTEM A52500 STARTER
ELECTRICAL SYSTEM A53000 STARTER [COMPONENT PARTS](NOT FOR REMAN UNIT)
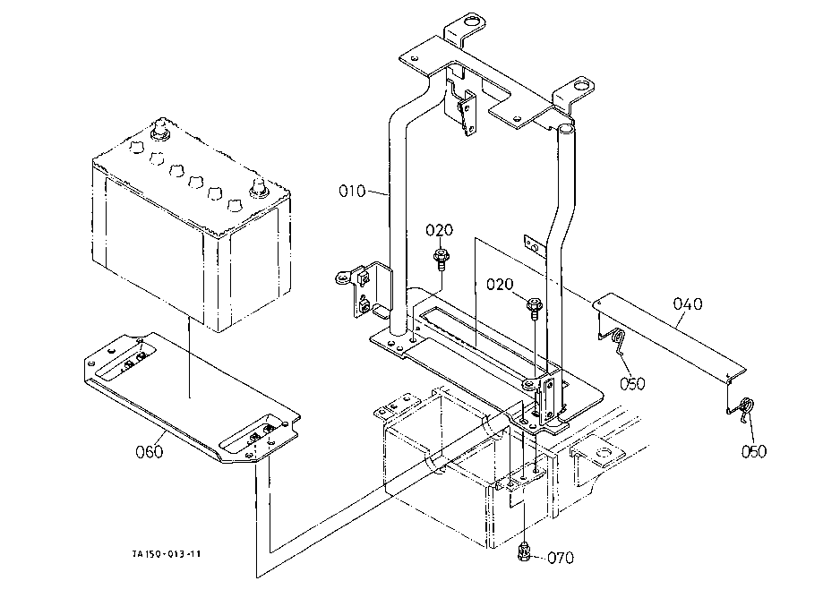
ELECTRICAL SYSTEM A53501 BATTERY [ROPS TYPE]
ELECTRICAL SYSTEM B10201 SWITCH 1 [EXCEPT HST TYPE] [ROPS TYPE] [OLD TYPE] ## [EXCEPTE TYPE CABINE]
ELECTRICAL SYSTEM B10202 SWITCH 1 [EXCEPT HST TYPE] [ROPS TYPE] [NEW TYPE] ## [EXCEPTE TYPE CABINE]
ELECTRICAL SYSTEM B10203 SWITCH 1 [HST TYPE] [ROPS TYPE] [OLD TYPE] ## [TYPE VIEUX]
ELECTRICAL SYSTEM B10204 SWITCH 1 [HST TYPE] [ROPS TYPE] [NEW TYPE] ## [TYPE NOUVEAU]
ELECTRICAL SYSTEM B10301 SWITCH 2 [EXCEPT HST TYPE] [ROPS TYPE] ## [EXCEPTE TYPE CABINE]
ELECTRICAL SYSTEM B10302 SWITCH 2 [HST TYPE] [ROPS TYPE]
ELECTRICAL SYSTEM B11500 PANEL BOARD
ELECTRICAL SYSTEM B12000 PANEL BOARD [COMPONENT PARTS]
ELECTRICAL SYSTEM B30401 LIGHT 1 [ROPS TYPE] [OLD TYPE]
ELECTRICAL SYSTEM B30402 LIGHT 1 [ROPS TYPE] [NEW TYPE]
ELECTRICAL SYSTEM B50101 ELECTRICAL WIRING [EXCEPT HST TYPE] [ROPS TYPE] [OLD] ## S.No.; TO 51803
ELECTRICAL SYSTEM B50102 ELECTRICAL WIRING [EXCEPT HST TYPE] [ROPS TYPE] [NEW] ## S.No.; FROM 51804
ELECTRICAL SYSTEM B50103 ELECTRICAL WIRING [HST TYPE] [ROPS TYPE] [OLD] ## S.No.; TO 51803
ELECTRICAL SYSTEM B50104 ELECTRICAL WIRING [HST TYPE] [ROPS TYPE] [OLD] ## S.No.;51804 to 61504
ELECTRICAL SYSTEM B50105 ELECTRICAL WIRING [HST TYPE] [ROPS TYPE] [NEW] ## S.No.; FROM 70001
ENGINE 000100 CRANKCASE
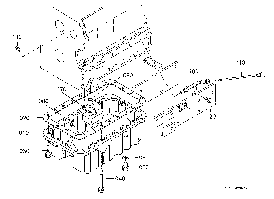
ENGINE 000200 OIL PAN
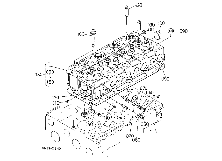
ENGINE 000300 CYLINDER HEAD
ENGINE 000400 GEAR CASE
ENGINE 000500 HEAD COVER
ENGINE 010000 MAIN BEARING CASE
ENGINE 010100 CAMSHAFT AND IDLE GEAR SHAFT
ENGINE 010200 PISTON AND CRANKSHAFT ## NOTE ORDER BY REF.No.010 and 040 NEW PART.
ENGINE 010301 FLYWHEEL [W O IND-PTO]
ENGINE 010303 FLYWHEEL [WITH IND-PTO]
ENGINE 010500 FUEL CAMSHAFT
ENGINE 020000 ENGINE STOP LEVER
ENGINE 020200 INJECTION PUMP
ENGINE 020400 GOVERNOR
ENGINE 020500 SPEED CONTROL PLATE
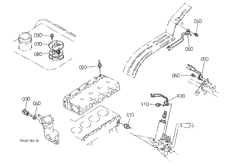
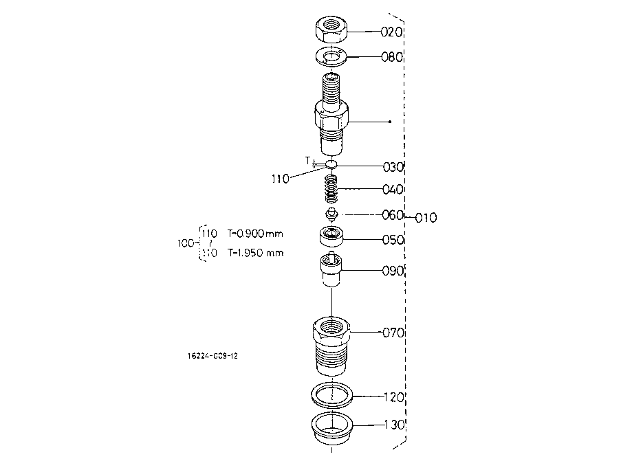
ENGINE 020600 NOZZLE HOLDER AND GLOW PLUG
ENGINE 020700 NOZZLE HOLDER [COMPONENT PARTS]
ENGINE 050001 WATER FLANGE AND THERMOSTAT [ROPS TYPE]
ENGINE 050100 WATER PUMP
ENGINE 060000 VALVE AND ROCKER ARM
ENGINE 060101 INLET MANIFOLD [ROPS TYPE]
ENGINE 060300 EXHAUST MANIFOLD MUFFLER
ENGINE 060401 AIR CLEANER [ROPS TYPE] [OLD TYPE] ## S.No.; TO 61237
ENGINE 060402 AIR CLEANER [ROPS TYPE] [NEW TYPE] ## S.No.;= AFTER 61238
ENGINE 090101 UPPER GASKET KIT
ENGINE 090200 LOWER GASKET KIT
ENGINE A00200 STOP SOLENOIDE ENGINE STOP WIRE
ENGINE A01001 ACCELERATOR LEVER [EXCEPT HST TYPE] [ROPS TYPE] ## [EXCEPTE TYPE CABINE]
ENGINE A01002 ACCELERATOR LEVER [HST TYPE] [ROPS TYPE] ## [EXCEPTE TYPE CABINE]
ENGINE A02500 ACCELERATOR LINKAGE [EXCEPT HST TYPE]
ENGINE A03001 ACCELERATOR ROD [EXCEPT HST TYPE] [ROPS TYPE] ## [EXCEPTE TYPE CABINE]
ENGINE A03003 ACCELERATOR ROD [HST TYPE]
FREQUENTLY USED ITEMS 000001 FREQUENTLY USED ITEMS
FRONT AXLE CHASSIS F10502 FRONT AXLE FRAME
FRONT AXLE CHASSIS F12000 PROPELLER SHAFT
FRONT AXLE CHASSIS F12201 FRONT WHEEL DRIVE SHAFT [W O MID PTO] ## [SANS TYPE DE PDF VENTRALE]
FRONT AXLE CHASSIS F12202 FRONT WHEEL DRIVE SHAFT [WITH MID PTO] ## [AVEC TYPE DE PDF VENTRALE]
FRONT AXLE CHASSIS F12500 FRONT DIFFERENTIAL CASE
FRONT AXLE CHASSIS F13500 FRONT DIFFERENTIAL
FRONT AXLE CHASSIS F14000 FRONT AXLE CASE
FRONT AXLE CHASSIS F14500 DIFFERENTIAL GEAR SHAFT
FRONT AXLE CHASSIS F15000 FRONT AXLE
FRONT REAR TIRE P11004 REAR WHEEL (17.5-24)
FRONT WHEEL REAR WHEEL P10102 FRONT WHEEL (7.2-16)
FRONT WHEEL REAR WHEEL P10103 FRONT WHEEL (8.3-16)
FRONT WHEEL REAR WHEEL P10104 FRONT WHEEL (10-16.5)
FRONT WHEEL REAR WHEEL P10105 FRONT WHEEL (278.5-15)
FRONT WHEEL REAR WHEEL P10106 FRONT WHEEL (2710.50-15)
FRONT WHEEL REAR WHEEL P10107 FRONT WHEEL (2912.50-15)
FRONT WHEEL REAR WHEEL P10108 FRONT WHEEL (7-16)
FRONT WHEEL REAR WHEEL P10109 FRONT WHEEL (8-16)
FRONT WHEEL REAR WHEEL P11001 REAR WHEEL (12.4-24)
FRONT WHEEL REAR WHEEL P11002 REAR WHEEL (13.6-24)
FRONT WHEEL REAR WHEEL P11003 REAR WHEEL (14.9-24)
FRONT WHEEL REAR WHEEL P11005 REAR WHEEL (4114.00-20)
FRONT WHEEL REAR WHEEL P11006 REAR WHEEL (21.5L-16.1) [OLD TYPE]
FRONT WHEEL REAR WHEEL P11007 REAR WHEEL (21.5L-16.1) [NEW TYPE]
FUEL SYSTEM A10101 FUEL TANK [ROPS TYPE] ## NOTE BOLTS FOR ITEM 160 SEE SHUTTLER PLATE GROUP
FUEL SYSTEM A11000 FUEL PIPE AND FUEL FILTER
FUEL SYSTEM A13000 FUEL FILTER [COMPONENT PARTS]
HITCH DRAWBAR K10500 DRAWBAR
HITCH DRAWBAR K12501 PTO PROTECTOR [ROPS TYPE]
HOOD(BONNET) ROPS CAB L10100 FRONT GRILLE
HOOD(BONNET) ROPS CAB L10301 FRONT GRILLE SUPPORT [EXCEPT HST TYPE]
HOOD(BONNET) ROPS CAB L10302 FRONT GRILLE SUPPORT [HST TYPE] [ROPS TYPE] ## [EXCEPTE TYPE CABINE]
HOOD(BONNET) ROPS CAB L10501 HOOD(BONNET) [ROPS TYPE]
HOOD(BONNET) ROPS CAB L11100 HOOD(BONNET) SIDE RH
HOOD(BONNET) ROPS CAB L11300 HOOD(BONNET) SIDE LH
HOOD(BONNET) ROPS CAB L11501 SIDE COVER LOWER [ROPS TYPE]
HOOD(BONNET) ROPS CAB L13001 SHUTTER PLATE [ROPS TYPE]
HOOD(BONNET) ROPS CAB L20101 PANEL FRAME [EXCEPT HST TYPE] [ROPS TYPE] ## [EXCEPTE TYPE CABINE]
HOOD(BONNET) ROPS CAB L20102 PANEL FRAME [HST TYPE] [ROPS TYPE]
HOOD(BONNET) ROPS CAB L21001 FENDER [MANUAL T M TYPE]
HOOD(BONNET) ROPS CAB L21002 FENDER [GST TYPE] [ROPS TYPE]
HOOD(BONNET) ROPS CAB L21003 FENDER [HST TYPE] [ROPS TYPE]
HOOD(BONNET) ROPS CAB L21501 FLOOR SEAT [EXCEPT HST TYPE] [ROPS TYPE] ## [EXCEPTE TYPE CABINE]
HOOD(BONNET) ROPS CAB L21502 FLOOR SEAT [HST TYPE] [ROPS TYPE]
HOOD(BONNET) ROPS CAB L22001 SEAT [ROPS TYPE]
HOOD(BONNET) ROPS CAB L22100 SEAT SUSPENSION [COMPONENT PARTS]
HOOD(BONNET) ROPS CAB L22501 STEP [EXCEPT HST TYPE]
HOOD(BONNET) ROPS CAB L22502 STEP [HST TYPE]
HOOD(BONNET) ROPS CAB L30100 ROPS [ROPS TYPE] [OLD TYPE] ## [TYPE VIEUX]
HOOD(BONNET) ROPS CAB L30101 ROPS [ROPS TYPE] [NEW TYPE] ## [TYPE NOUVEAU]
HOOD(BONNET) ROPS CAB L50100 SMV EMBLEM
HYDRAULIC SYSTEM H12001 HYDRAULIC PUMP [EXCEPT HST TYPE]
HYDRAULIC SYSTEM H12002 HYDRAULIC PUMP [HST TYPE]
HYDRAULIC SYSTEM H12501 HYDRAULIC PUMP [COMPONENT PARTS] [EXCEPT HST TYPE] ## [EXCEPTE TYPE HST]
HYDRAULIC SYSTEM H12502 HYDRAULIC PUMP [COMPONENT PARTS] [HST TYPE]
HYDRAULIC SYSTEM H14500 REGULATOR VALVE [EXCEPT HST TYPE]
HYDRAULIC SYSTEM H20501 HYDRAULIC OIL LINE(INLET) [EXCEPT HST TYPE]
HYDRAULIC SYSTEM H20502 HYDRAULIC OIL LINE(INLET) [HST TYPE]
HYDRAULIC SYSTEM H21001 HYDRAULIC OIL LINE(DELIVERY) [EXCEPT HST TYPE]
HYDRAULIC SYSTEM H21002 HYDRAULIC OIL LINE(DELIVERY) [HST TYPE]
HYDRAULIC SYSTEM H21501 HYDRAULIC OIL LINE(PS) [EXCEPT HST TYPE]
HYDRAULIC SYSTEM H21502 HYDRAULIC OIL LINE(PS) [HST TYPE]
HYDRAULIC SYSTEM H23001 PTO HYDRAULIC OIL LINE [MANUAL T M TYPE] ## [WITH IND-PTO] [AVEC TYPE DE PDF
HYDRAULIC SYSTEM H23002 PTO HYDRAULIC OIL LINE [GST TYPE] [W O IND-PTO] ## [SANS TYPE DE PDF IND]
HYDRAULIC SYSTEM H23501 HYDRAULIC OUTLET BLOCK [EXCEPT HST TYPE]
HYDRAULIC SYSTEM H23502 HYDRAULIC OUTLET BLOCK [HST TYPE]
HYDRAULIC SYSTEM H24000 HYDRAULIC PIPE [HST TYPE]
HYDRAULIC SYSTEM H24501 OIL COOLER [HST TYPE] [OLD TYPE]
HYDRAULIC SYSTEM H24502 OIL COOLER [HST TYPE] [NEW TYPE]
HYDRAULIC SYSTEM H30100 HYDRAULIC CYLINDER ## NOTE ORDER BY REF.No.010 and Fig.No.H32000 REF.No.080
HYDRAULIC SYSTEM H32000 LIFT ARM
HYDRAULIC SYSTEM H33000 FEED BACK LEVER
HYDRAULIC SYSTEM H40500 CONTROL VALVE
HYDRAULIC SYSTEM H41000 CONTROL VALVE [COMPONENT PARTS] [OLD TYPE]
HYDRAULIC SYSTEM H41001 CONTROL VALVE [COMPONENT PARTS] [NEW TYPE]
HYDRAULIC SYSTEM H44001 POSITION CONTROL LEVER [ROPS TYPE] ## [EXCEPTE TYPE CABINE]
HYDRAULIC SYSTEM J10500 TOP LINK
HYDRAULIC SYSTEM J11001 3-POINT LINKAGE 1(LOWER LINK) [OLD TYPE]
HYDRAULIC SYSTEM J11002 3-POINT LINKAGE 1(LOWER LINK) [NEW TYPE]
HYDRAULIC SYSTEM J11500 3-POINT LINKAGE 2(LIFT ROD)
LABELS R10501 LABEL 1 [A] [MANUAL T M TYPE] [ROPS TYPE] ## [EXCEPTE TYPE CABINE]
LABELS R10502 LABEL 1 [CA] [MANUAL T M TYPE] [ROPS TYPE] ## [EXCEPTE TYPE CABINE]
LABELS R10503 LABEL 1 [A] [GST TYPE] [ROPS TYPE]
LABELS R10504 LABEL 1 [CA] [GST TYPE] [ROPS TYPE]
LABELS R10505 LABEL 1 [A] [HST TYPE] [ROPS TYPE]
LABELS R10506 LABEL 1 [CA] [HST TYPE] [ROPS TYPE]
LABELS R11001 LABEL 2 [A] [MANUAL T M TYPE] [ROPS TYPE] ## [EXCEPTE TYPE CABINE]
LABELS R11002 LABEL 2 [CA] [MANUAL T M TYPE] [ROPS TYPE] ## [EXCEPTE TYPE CABINE]
LABELS R11003 LABEL 2 [A] [GST TYPE] [ROPS TYPE]
LABELS R11004 LABEL 2 [CA] [GST TYPE] [ROPS TYPE]
LABELS R11005 LABEL 2 [A] [HST TYPE] [ROPS TYPE]
LABELS R11006 LABEL 2 [CA] [HST TYPE] [ROPS TYPE]
OPTION T10300 AIR CLEANER COVER KIT [OPTION]
OPTION T10800 SWITCH KIT [OPTION]
OPTION T12000 FRONT GUARD STAY KIT [OPTION]
OPTION T13000 POSITION CONTROL LEVER (WITH DRAFT) [OPTION] ## (AVEC TYPE DEFFORT) [OPTION]
OPTION T13500 DRAFT CONTROL LEVER (WITH DRAFT) [OPTION] ## [OPTION]
OPTION T14000 TOP LINK HOLDER (WITH DRAFT) [OPTION] ## (AVEC TYPE DE DEFFORT) [OPTION]
OPTION T14500 SWINGING DRAWBAR CLEVIS DRAWBAR [OPTION] ## [OPTION]
OPTION T15001 REMOTE CONTROL VALVE LEVER 1 [ROPS TYPE] [OPTION] ## [EXCEPTE TYPE CABINE] [OPTION]
OPTION T15003 REMOTE CONTROL VALVE LEVER 2 [ROPS TYPE] [OPTION] ## [EXCEPTE TYPE CABINE] [OPTION]
OPTION T15005 REMOTE CONTROL VALVE LEVER 3 [ROPS TYPE] [OPTION] ## [EXCEPTE TYPE CABINE] [OPTION]
OPTION T15501 REMOTE CONTROL VALVE COUPLER 1 [OPTION]
OPTION T15502 REMOTE CONTROL VALVE COUPLER 2 [OPTION]
OPTION T15503 REMOTE CONTROL VALVE COUPLER 3 [OPTION]
OPTION T16000 ROPS [ROPS TYPE] [OPTION] [OLD TYPE] ## [OPTION][TYPE VIEUX]
OPTION T16001 ROPS [ROPS TYPE] [OPTION] [NEW TYPE] ## [OPTION] [TYPE NOUVEAU]
SPEED CHANGE LEVER BRAKE D40100 BRAKE
SPEED CHANGE LEVER BRAKE D40501 BRAKE ROD 1 [EXCEPT HST TYPE] [ROPS TYPE] ## [EXCEPTE TYPE CABINE]
SPEED CHANGE LEVER BRAKE D40502 BRAKE ROD 1 [HST TYPE] [ROPS TYPE] ## [EXCEPTE TYPE CABINE]
SPEED CHANGE LEVER BRAKE D41001 BRAKE ROD 2 [MANUAL T M TYPE]
SPEED CHANGE LEVER BRAKE D41002 BRAKE ROD 2 [GST TYPE]
SPEED CHANGE LEVER BRAKE D41003 BRAKE ROD 2 [HST TYPE]
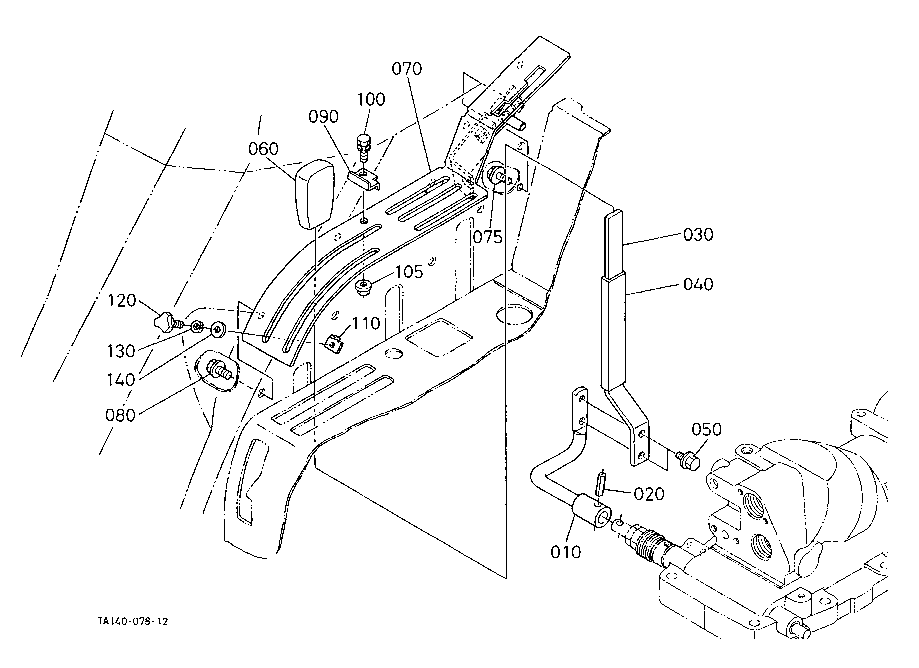
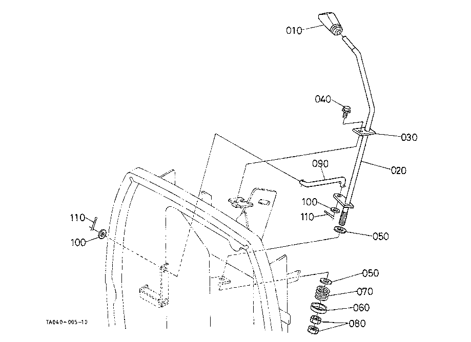
SPEED CHANGE LEVER BRAKE E10101 MAIN GEAR SHIFT LEVER [MANUAL T M TYPE] ## [TYPE T M MANUELLE]
SPEED CHANGE LEVER BRAKE E10102 MAIN GEAR SHIFT LEVER [GST TYPE] [ROPS TYPE] ## [TYPE GST] [EXCEPTE
SPEED CHANGE LEVER BRAKE E10501 SHUTTLE SHIFT LEVER [EXCEPT HST TYPE] [ROPS TYPE] ## [EXCEPTE TYPE C
SPEED CHANGE LEVER BRAKE E10600 CRUISE CONTROL LEVER [HST TYPE]
SPEED CHANGE LEVER BRAKE E10700 CRUISE CONTROL CABLE [HST TYPE]
SPEED CHANGE LEVER BRAKE E10800 NEUTRAL HOLDER LINK [HST TYPE]
SPEED CHANGE LEVER BRAKE E10901 SPEED CONTROL PEDAL [HST TYPE] [ROPS TYPE] ## [EXCEPTE TYPE CABINE]
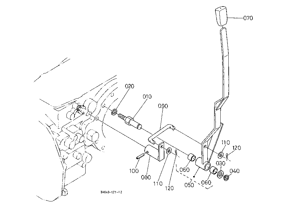
SPEED CHANGE LEVER BRAKE E11001 RANGE GEAR SHIFT LEVER [MANUAL T M TYPE] ## [W O CREEP] [TYPE T M MA
SPEED CHANGE LEVER BRAKE E11002 RANGE GEAR SHIFT LEVER [HST TYPE] [ROPS TYPE] ## [EXCEPTE TYPE CABIN
SPEED CHANGE LEVER BRAKE E11100 RANGE GEAR SHIFT LEVER CREEP GEAR SHIFT LEVER ## [MANUAL T M TYPE] [
SPEED CHANGE LEVER BRAKE E11201 RANGE GEAR SHIFT ROD [HST TYPE] [OLD TYPE] ## [TYPE VIEUX]
SPEED CHANGE LEVER BRAKE E11202 RANGE GEAR SHIFT ROD [HST TYPE] [NEW TYPE] ## [TYPE NOUVEAU]
SPEED CHANGE LEVER BRAKE E11500 CREEP GEAR SHIFT LEVER [GST TYPE] [WITH CREEP] ## [AVEC TYPE DE RAMP
SPEED CHANGE LEVER BRAKE E12200 PTO CLUTCH CONTROL LEVER [WITH IND-PTO]
SPEED CHANGE LEVER BRAKE E12501 PTO GEAR SHIFT LEVER [EXCEPT HST TYPE] ## [W O IND-PTO] [SANS TYPE D
SPEED CHANGE LEVER BRAKE E12502 PTO GEAR SHIFT LEVER [HST TYPE]
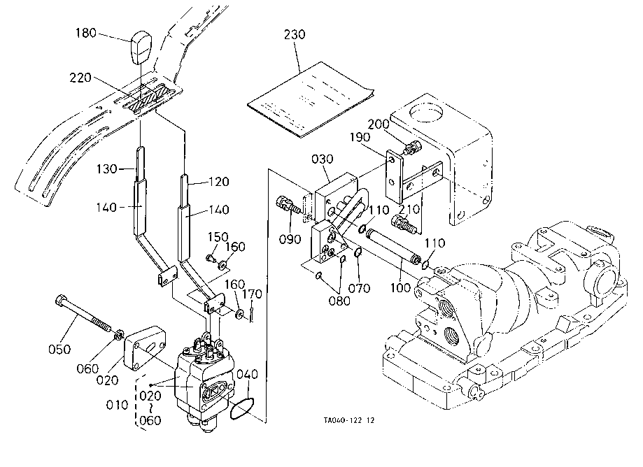
SPEED CHANGE LEVER BRAKE E12700 PTO CLUTCH VALVE [COMPONENT PARTS] [WITH IND-PTO] ## [AVEC TYPE DE P
SPEED CHANGE LEVER BRAKE E12900 MID PTO SHIFT LEVER [MID PTO TYPE]
SPEED CHANGE LEVER BRAKE E14000 FRONT WHEEL DRIVE LEVER
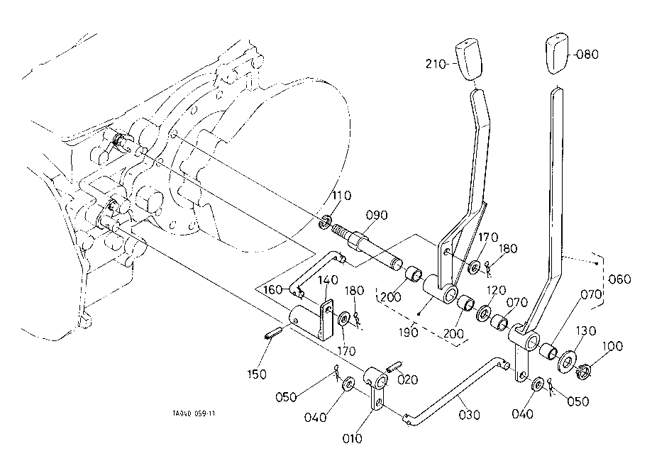
SPEED CHANGE LEVER BRAKE E20101 BRAKE PEDAL [EXCEPT HST TYPE] [ROPS TYPE]
SPEED CHANGE LEVER BRAKE E20102 BRAKE PEDAL [HST TYPE] [ROPS TYPE]
STEERING G10101 STEERING HANDLE [EXCEPT HST TYPE] [ROPS TYPE] ## [EXCEPTE TYPE CABINE]
STEERING G10102 STEERING HANDLE [HST TYPE] [ROPS TYPE] ## [EXCEPTE TYPE CABINE]
STEERING G11000 STEERING CONTROLLER
STEERING G12002 STEERING LINKAGE
STEERING H11002 STEERING CYLINDER
STEERING H11500 STEERING CYLINDER [COMPONENT PARTS]%
USEFUL PRODUCTS 000010 USEFUL PRODUCTS
New to our website?Creating an account is easy and quick!
Our website uses cookie to give you the best online shopping experience. More information Accept