Model added to My Equipment.Click 'My Equipment' to view updated list.
3-POINT LINKAGE DRAWBAR HITCH J10500 TOP LINK
3-POINT LINKAGE DRAWBAR HITCH J11000 LOWER LINK
3-POINT LINKAGE DRAWBAR HITCH J11300 STABILIZER
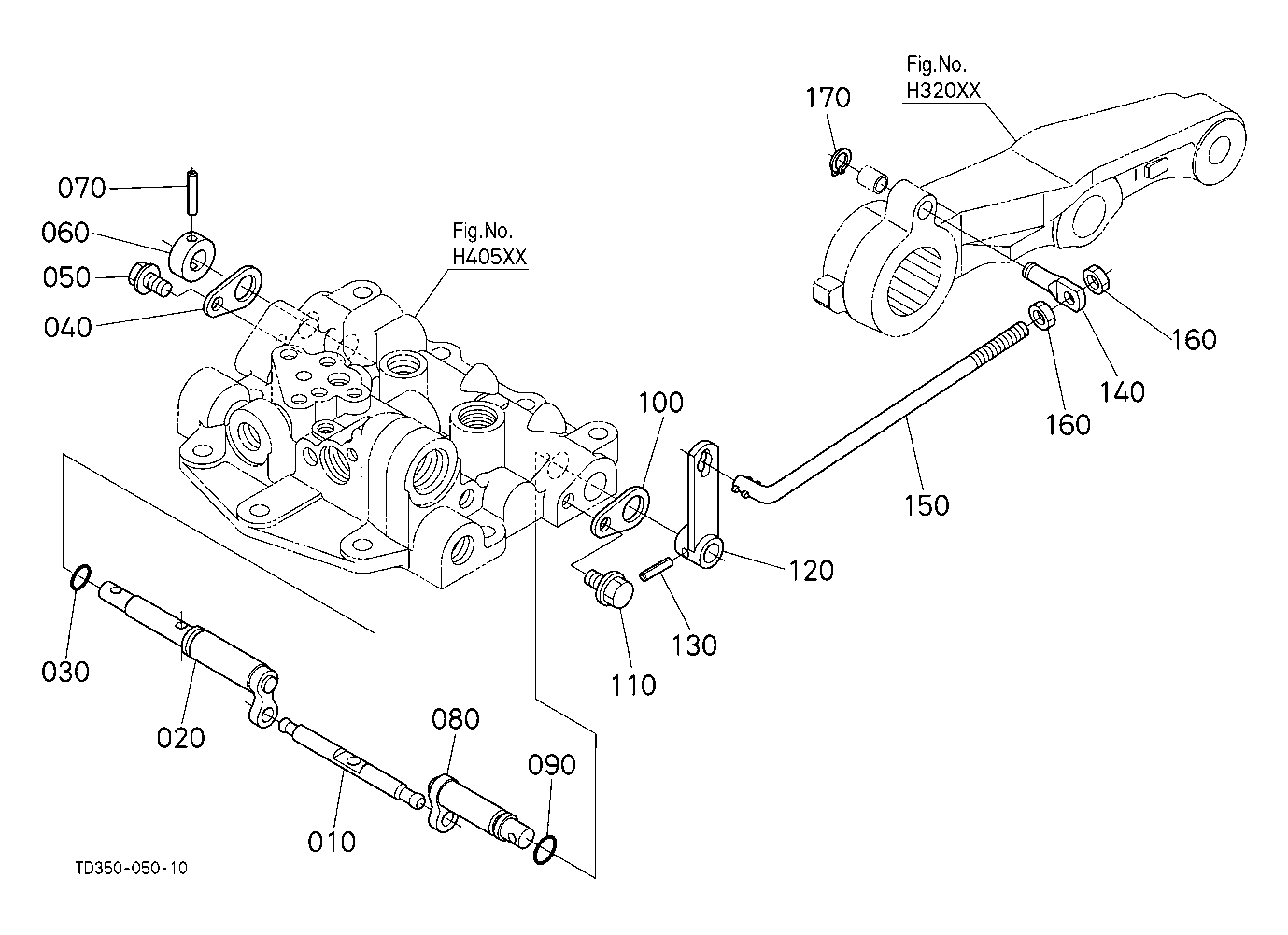
3-POINT LINKAGE DRAWBAR HITCH J11500 LIFT ROD
3-POINT LINKAGE DRAWBAR HITCH K10500 DRAWBAR
3-POINT LINKAGE DRAWBAR HITCH K12501 PTO SHAFT PROTECTOR [A]
ACCESSORIES AND SERVICE PARTS S10500 ACCESSORIES AND SERVICE PARTS
AIR CONDITIONER N10500 AIR CONDITIONER
AIR CONDITIONER N10800 AIR CONDITIONER DUCT
AIR CONDITIONER N11000 DRAIN HOSE (AIR CONDITIONER)
AIR CONDITIONER N11500 HEATER HOSE
AIR CONDITIONER N12000 CONDENSER
AIR CONDITIONER N12201 AIR CONDITIONER HOSE CONDENSER HOSE
AIR CONDITIONER N12500 COMPRESSOR
CAB M10100 CAB FRAME
CAB M10300 OVER FENDER
CAB M10500 PANEL UNDER
CAB M11001 FLOOR SHEET COVER [A]
CAB M11300 HYDRAULIC CONTROL LEVER GUIDE (UPPER)
CAB M11400 HYDRAULIC CONTROL LEVER GUIDE (LOWER)
CAB M11500 DOOR LH
CAB M12000 DOOR RH
CAB M13000 DOOR LOCK LH
CAB M14000 DOOR LOCK RH
CAB M14500 INNER ROOF
CAB M14700 AIR CONDITIONER COVER
CAB M15000 OUTER ROOF
CAB M15300 INTERNAL AND EXTERNAL AIR SWITCHING UNIT
CAB M15500 MAT
CAB M15700 SOUNDPROOF MATERIAL
CAB M16100 CAB BRACKET FRONT
CAB M16200 CAB BRACKET REAR
CAB M18000 SEAT
CAB M18100 SEAT [COMPONENT PARTS]
CAB M20100 FRONT GLASS AND REAR GLASS
CAB M20501 GLASS LH [A]
CAB M21001 GLASS RH [A]
CAB M22501 HATCH BACK GLASS [A]
CAB M30100 REARVIEW MIRROR
CAB M39000 TOOL BOX
CLUTCH TRANSMISSION C40100 CLUTCH HOUSING
CLUTCH TRANSMISSION C40301 HST (SERVO PISTON) [COMPONENT PARTS]
CLUTCH TRANSMISSION C40302 HST (SERVO REGULATOR) [COMPONENT PARTS]
CLUTCH TRANSMISSION C40303 HST (SOLENOID VALVE) [COMPONENT PARTS]
CLUTCH TRANSMISSION C40304 HST (RELIEF VALVE) [COMPONENT PARTS]
CLUTCH TRANSMISSION C40305 HST (CYLINDER BLOCK) [COMPONENT PARTS]
CLUTCH TRANSMISSION C40306 HST (PORT BLOCK COVER) [COMPONENT PARTS]
CLUTCH TRANSMISSION C40307 HST (CHARGE PUMP) [COMPONENT PARTS]
CLUTCH TRANSMISSION C40308 HST (INPUT SHAFT) [COMPONENT PARTS]
CLUTCH TRANSMISSION C41000 MID CASE
CLUTCH TRANSMISSION C41200 PTO CLUTCH VALVE BEARING HOLDER
CLUTCH TRANSMISSION C41400 PTO CLUTCH VALVE [COMPONENT PARTS] [OLD] ## S.No.; TO 44944
CLUTCH TRANSMISSION C41401 PTO CLUTCH VALVE [COMPONENT PARTS] [NEW] ## S.No.; FROM 44945
CLUTCH TRANSMISSION C42000 TRANSMISSION CASE
CLUTCH TRANSMISSION D10500 COUNTERSHAFT
CLUTCH TRANSMISSION D11700 RANGE GEAR SHAFT
CLUTCH TRANSMISSION D12500 SPIRAL BEVEL PINION
CLUTCH TRANSMISSION D12700 REAR DIFFERENTIAL
CLUTCH TRANSMISSION D13000 PTO COUNTERSHAFT
CLUTCH TRANSMISSION D13200 PTO CLUTCH
CLUTCH TRANSMISSION D13300 PTO CLUTCH [COMPONENT PARTS]
CLUTCH TRANSMISSION D13500 PTO SHAFT
COOLING WATER SYSTEM A40101 FAN [A]
COOLING WATER SYSTEM A41001 WATER PIPE
COOLING WATER SYSTEM A42001 RADIATOR
COOLING WATER SYSTEM A43000 RESERVE TANK
ELECTRICAL SYSTEM A51501 ALTERNATOR [A]
ELECTRICAL SYSTEM A52001 ALTERNATOR [COMPONENT PARTS] [A]
ELECTRICAL SYSTEM A52500 STARTER
ELECTRICAL SYSTEM A53000 STARTER [COMPONENT PARTS](NOT FOR REMAN UNIT)
ELECTRICAL SYSTEM A53501 BATTERY [A]
ELECTRICAL SYSTEM B00100 SWITCH SENSOR(ENGINE)
ELECTRICAL SYSTEM B00200 SENSOR ECU (MUFFLER)
ELECTRICAL SYSTEM B10201 RELAY [A]
ELECTRICAL SYSTEM B10301 SENSOR (TRANSMISSION CASE HST)
ELECTRICAL SYSTEM B10400 SWITCH SENSOR (HORN FUEL INLET PIPE)
ELECTRICAL SYSTEM B10500 SWITCH (PANEL)
ELECTRICAL SYSTEM B10600 SWITCH SENSOR (REAR)
ELECTRICAL SYSTEM B10700 SWITCH SENSOR (STEERING POST PEDAL)
ELECTRICAL SYSTEM B11100 ECU
ELECTRICAL SYSTEM B11301 AIR-CON.CONTROL PANEL [A]
ELECTRICAL SYSTEM B11500 PANEL
ELECTRICAL SYSTEM B30300 HEAD LIGHT
ELECTRICAL SYSTEM B31000 WINKER LAMP
ELECTRICAL SYSTEM B31200 REAR LAMP
ELECTRICAL SYSTEM B32001 FRONT WORKING LIGHT [A]
ELECTRICAL SYSTEM B33001 HAZARD LIGHT [A]
ELECTRICAL SYSTEM B41300 RADIO-SPEAKER COVER
ELECTRICAL SYSTEM B42000 WASHER TANK
ELECTRICAL SYSTEM B43001 WIPER [A]
ELECTRICAL SYSTEM B50101 ELECTRICAL WIRING (ENGINE) [A]
ELECTRICAL SYSTEM B50301 ELECTRICAL WIRING (FRONT) [A]
ELECTRICAL SYSTEM B50701 ELECTRICAL WIRING (REAR) [A]
ELECTRICAL SYSTEM B51001 ELECTRICAL WIRING (CAB) [A] [OLD] ## S.No.; TO 45055
ELECTRICAL SYSTEM B51002 ELECTRICAL WIRING (CAB) [A] [NEW] ## S.No.; FROM 45056
ENGINE 500000 CRANKCASE
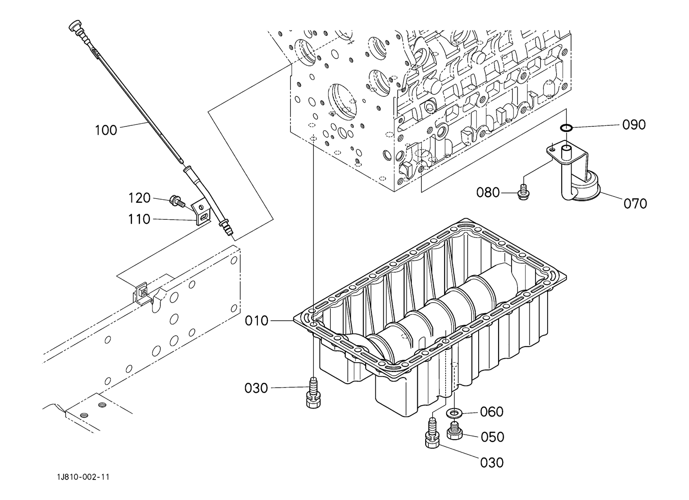
ENGINE 501000 OIL PAN
ENGINE 502000 CYLINDER HEAD
ENGINE 503000 INLET VALVE AND EXHAUST VALVE
ENGINE 504000 ROCKER ARM SHAFT
ENGINE 505000 HEAD COVER
ENGINE 508000 GEAR CASE
ENGINE 511000 PISTON AND CRANKSHAFT
ENGINE 511500 MAIN BEARING CASE
ENGINE 512000 CAMSHAFT AND IDLE GEAR SHAFT
ENGINE 513000 BALANCER
ENGINE 515000 FLYWHEEL
ENGINE 520500 SUPPLY PUMP
ENGINE 521500 FUEL PUMP
ENGINE 522000 FUEL CAMSHAFT
ENGINE 540200 INJECTOR AND GLOW PLUG
ENGINE 545000 INJECTION PIPE
ENGINE 548000 COMMON RAIL
ENGINE 560000 WATER FLANGE AND THERMOSTAT
ENGINE 560200 WATER PIPE
ENGINE 561000 WATER PUMP [OLD] ## S.No.; TO 7KVZ999
ENGINE 561001 WATER PUMP [NEW] ## S.No.; FROM 7KW0001
ENGINE 571000 INLET MANIFOLD
ENGINE 572000 EXHAUST MANIFOLD
ENGINE 572200 EGR VALVE ## NOTE ORDER BY REF.No.040,070,080 and 090 NEW PARTS.
ENGINE 572300 EGR COOLER
ENGINE 573000 AIR CLEANER
ENGINE 573500 AIR CLEANER [COMPONENT PARTS]
ENGINE 574500 INLET PIPE (AIR CLEANER)
ENGINE 575500 MUFFLER PIPE
ENGINE 576000 DIESEL PARTICULATE FILTER MUFFLER
ENGINE 576500 MUFFLER BRACKET
ENGINE 577500 PRESSURE PIPE
ENGINE 578001 OIL SEPARATOR [A]
ENGINE 578100 OIL SEPARATOR [COMPONENT PARTS]
ENGINE 595000 ENGINE ELECTRICAL PARTS (ENGINE)
ENGINE 595100 ENGINE ELECTRICAL PARTS (MUFFLER ECU)
ENGINE A01000 ACCELERATOR LEVER
ENGINE A05500 AUTO THROTTLE CAM
FREQUENTLY USED ITEMS 000001 FREQUENTLY USED ITEMS
FREQUENTLY USED ITEMS 000005 FILTER AND FLUID CAPACITY
FRONT AXLE CHASSIS F10501 FRONT AXLE FRAME [A]
FRONT AXLE CHASSIS F12000 FRONT PROPELLER SHAFT
FRONT AXLE CHASSIS F12201 FRONT WHEEL DRIVE SHAFT
FRONT AXLE CHASSIS F12501 FRONT AXLE CASE
FRONT AXLE CHASSIS F12701 BEVEL GEAR (FRONT)
FRONT AXLE CHASSIS F13001 DIFFERENTIAL (FRONT)
FRONT AXLE CHASSIS F14101 FRONT AXLE CASE LH
FRONT AXLE CHASSIS F14201 FRONT AXLE CASE RH
FRONT AXLE CHASSIS F14501 BEVEL GEAR SHAFT
FRONT AXLE CHASSIS F15001 FRONT AXLE
FRONT REAR TIRE P10101 FRONT WHEEL (8.3-16)
FRONT REAR TIRE P10102 FRONT WHEEL (10.0-16.5)
FRONT REAR TIRE P10103 FRONT WHEEL (278.50-15)
FRONT REAR TIRE P10104 FRONT WHEEL (2710.50-15)
FRONT REAR TIRE P10105 FRONT WHEEL (2912.5-15)
FRONT REAR TIRE P11001 REAR WHEEL (14.9-24 R1)
FRONT REAR TIRE P11002 REAR WHEEL (17.5L-24 R4)
FRONT REAR TIRE P11003 REAR WHEEL (355 80-D20)
FRONT REAR TIRE P11004 REAR WHEEL (4418-20)
FRONT REAR TIRE P11005 REAR WHEEL (41 18LL16.1)
FRONT REAR TIRE P11006 REAR WHEEL (14.9-24 R1)
FUEL SYSTEM A10200 FUEL TANK RH
FUEL SYSTEM A10300 FUEL TANK LH
FUEL SYSTEM A11000 FUEL PIPE (SEPARATOR FUEL PUMP)
FUEL SYSTEM A11100 FUEL PIPE (FUEL PUMP FUEL COOLER)
FUEL SYSTEM A11200 FUEL PIPE (FUEL TANK)
FUEL SYSTEM A12000 FUEL FILTER
FUEL SYSTEM A13000 FUEL FILTER [COMPONENT PARTS]
FUEL SYSTEM A14000 SEPARATOR AND FUEL PIPE
FUEL SYSTEM A15000 SEPARATOR [COMPONENT PARTS] [OLD] ## S.No.; TO 46256
FUEL SYSTEM A15001 SEPARATOR [COMPONENT PARTS] [NEW] ## S.No.; FROM 46257
FUEL SYSTEM A16000 FUEL COOLER
HOOD BONNET L10100 FRONT GRILLE
HOOD BONNET L10201 HOOD (BONNET) FRONT SUPPORT [OLD] ## S.No.; TO 42429
HOOD BONNET L10202 HOOD (BONNET) FRONT SUPPORT [NEW] ## S.No.; FROM 42430
HOOD BONNET L10500 HOOD (BONNET) UPPER
HOOD BONNET L10800 HOOD (BONNET) DAMPER
HOOD BONNET L10900 BONNET LOCK [OLD] ## S.No.; TO 42060
HOOD BONNET L10901 BONNET LOCK [NEW] ## S.No.; FROM 42061
HOOD BONNET L11501 SIDE COVER LOWER [A]
HOOD BONNET L13000 SHUTTER PLATE
HOOD BONNET L50100 SMV EMBLEM
HYDRAULIC SYSTEM H12000 HYDRAULIC PUMP
HYDRAULIC SYSTEM H12500 HYDRAULIC PUMP [COMPONENT PARTS]
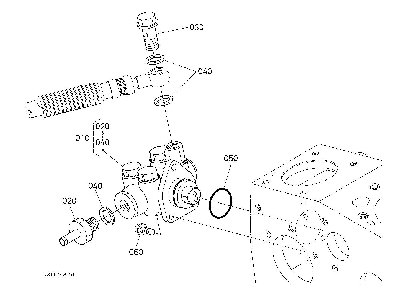
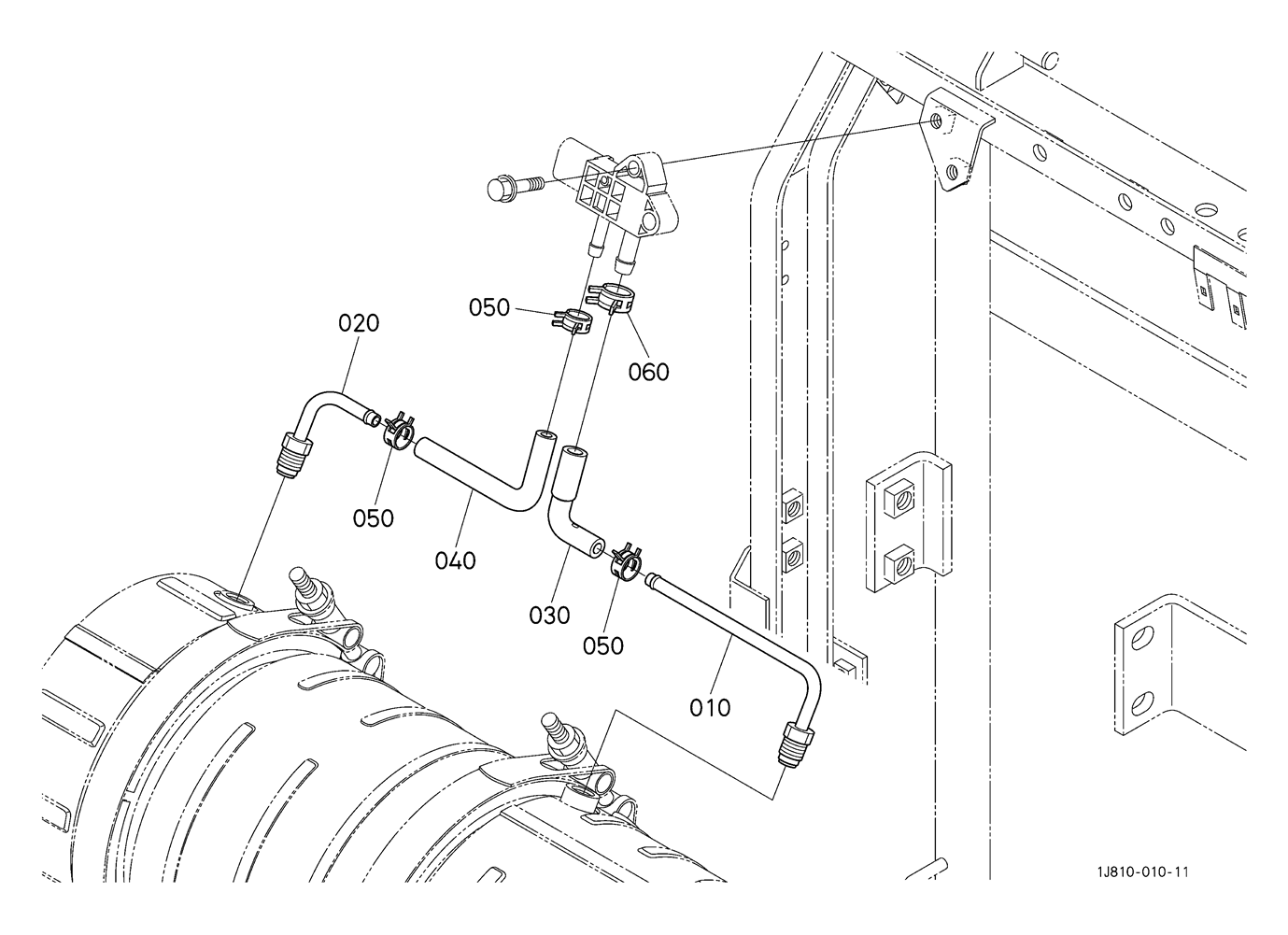
HYDRAULIC SYSTEM H20500 HYDRAULIC OIL LINE (INLET)
HYDRAULIC SYSTEM H21001 HYDRAULIC OIL LINE (DELIVERY)
HYDRAULIC SYSTEM H21500 HYDRAULIC OIL LINE (PS)
HYDRAULIC SYSTEM H23000 HYDRAULIC OIL LINE (PTO)
HYDRAULIC SYSTEM H24500 OIL COOLER
HYDRAULIC SYSTEM H24700 OIL COOLER RETURN PIPE
HYDRAULIC SYSTEM H28000 LOADER VALVE
HYDRAULIC SYSTEM H28100 HYDRAULIC OUTLET VALVE [COMPONENT PARTS]
HYDRAULIC SYSTEM H28200 LOADER VALVE LEVER LINK
HYDRAULIC SYSTEM H28300 LOADER VALVE LEVER
HYDRAULIC SYSTEM H28400 LOADER LOCK LEVER
HYDRAULIC SYSTEM H28500 HYDRAULIC LOADER PIPE
HYDRAULIC SYSTEM H30500 TRANSMISSION CASE COVER
HYDRAULIC SYSTEM H32000 LIFT ARM
HYDRAULIC SYSTEM H33000 FEED BACK LEVER
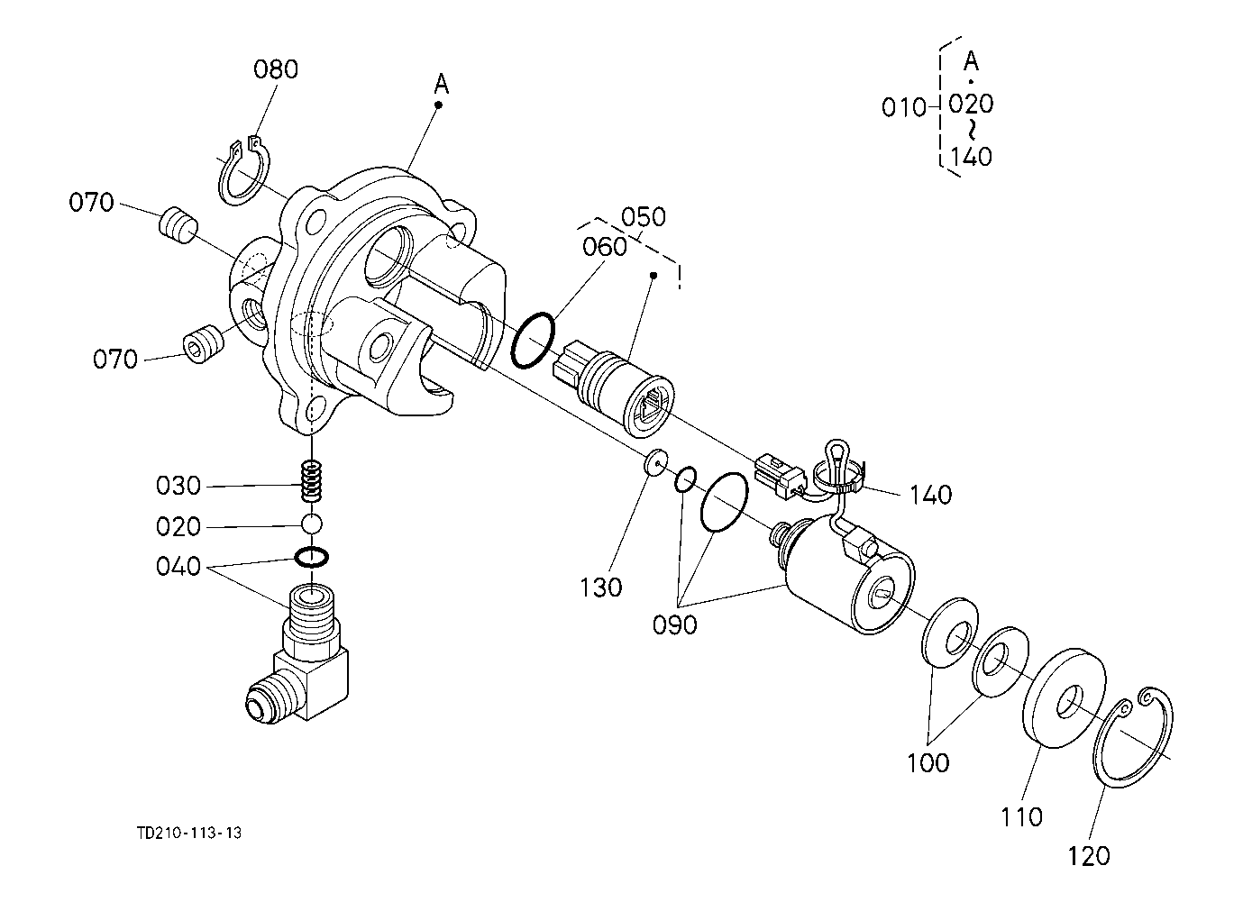
HYDRAULIC SYSTEM H40501 CONTROL VALVE [A]
HYDRAULIC SYSTEM H41000 CONTROL VALVE [COMPONENT PARTS]
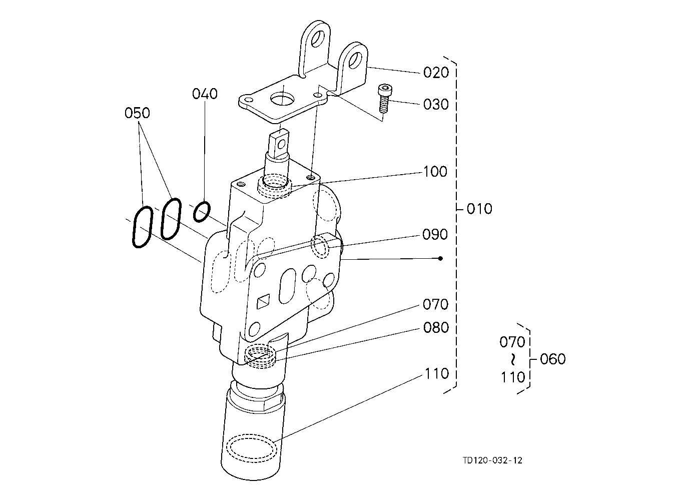
HYDRAULIC SYSTEM H43200 CHECK VALVE SAFETY VALVE
HYDRAULIC SYSTEM H43500 3P CYLINDER RH
HYDRAULIC SYSTEM H43600 3P CYLINDER LH
HYDRAULIC SYSTEM H43700 3P CYLINDER [COMPONENT PARTS]
HYDRAULIC SYSTEM H44000 POSITION CONTROL LEVER
HYDRAULIC SYSTEM H45000 POSITION CONTROL LINK [OLD] ## S.No.; TO 42307
HYDRAULIC SYSTEM H45001 POSITION CONTROL LINK [NEW] ## S.No.; FROM 42308
LABELS R10501 LABEL 1 (FRONT) [A]
LABELS R11001 LABEL 2 (CAB INTERIOR) [A]
LABELS R11300 LABEL 3 (PANEL FRAME STEP)
LABELS R11501 LABEL 4 (CAB EXTERNAL) [A]
OPTION V09500 HEATER KIT (HEATER PIPE) [A] [OPTION]
OPTION V09600 HEATER KIT (ELECTRICAL WIRING RELAY) [A] [OPTION]
OPTION V09700 HEATER KIT (ALTERNATOR) [A] [OPTION]
OPTION V09800 HEATER KIT (ALTERNATOR) [COMPONENT PARTS] [A] [OPTION]
OPTION V10500 SEPARATOR KIT [OPTION] ## S.No.; TO 46256
OPTION V14000 ECU KIT [OPTION] ## S.No.; TO 39999
OPTION V18000 WORKING LIGHT KIT (W G No.L8333) [A] [OPTION]
OPTION V25000 REAR WIPER KIT (W G No.L8364) [A] [OPTION]
OPTION V31501 MID PTO (CASE) (W G No.L8387) [OPTION]
OPTION V31502 MID PTO (SHIFT FORK) (W G No.L8387) [OPTION]
OPTION V31503 MID PTO (LEVER) (W G No.L8387) [OPTION]
OPTION V41500 FRONT BUMPER (W G No.MX8068) [OPTION]
OPTION V44500 BONNET LOCK KIT [OPTION] ## S.No.; TO 42060
OPTION V50500 HYDRAULIC PIPE KIT (W G No.L8397) [A] [OPTION]
OPTION V54000 POSITION CONTROL LEVER (WITH DRAFT) (W G No.L8395) [OPTION]
OPTION V54200 POSITION CONTROL LINK (WITH DRAFT) (W G No.L8395) [OPTION]
OPTION V54500 DRAFT CONTROL LEVER (WITH DRAFT) (W G No.L8395) [OPTION]
OPTION V55000 DRAFT CONTROL LINK (WITH DRAFT) (W G No.L8395) [OPTION]
OPTION V55200 TOP LINK HOLDER (WITH DRAFT) (W G No.L8395) [OPTION]
OPTION V57000 LUBRICATION KIT (HYDRAULIC PUMP DRIVE GEAR) [OPTION]
OPTION V60001 AUXILIARY CONTROL VALVE (W G No.L8308) [OPTION]
OPTION V60002 AUXILIARY CONTROL VALVE (FLOATING) (W G No.L8309) [OPTION]
OPTION V62000 AUXILIARY CONTROL VALVE BASE (W G No.L8396) [A] [OPTION]
OPTION V62101 AUXILIARY CONTROL VALVE LEVER (1ST) (W G No.L8396) [A] [OPTION]
OPTION V62102 AUXILIARY CONTROL VALVE LEVER (2ND) (W G No.L8393) [A] [OPTION]
OPTION V62103 AUXILIARY CONTROL VALVE LEVER (3RD) (W G No.L8394) [OPTION]
OPTION V62501 AUXILIARY CONTROL VALVE COUPLER (1ST) (W G No.L8396) [A] [OPTION]
OPTION V62502 AUXILIARY CONTROL VALVE COUPLER (2ND) (W G No.L8393) [A] [OPTION]
OPTION V62503 AUXILIARY CONTROL VALVE COUPLER (3RD) (W G No.L8394) [OPTION]
OPTION V73000 SWINGING DRAWBAR KIT (W G Mo.8325) [OPTION]
OPTION V93000 DEFOGGER GLASS (W G No.L8381) [A] [OPTION]
OPTION V93200 HATCH BACK GLASS DEFOGGER KIT (W G No.L8340) [A] [OPTION]
PAINT 000040 PAINT
REAR AXLE BRAKE E15100 REAR AXLE LH
REAR AXLE BRAKE E15200 REAR AXLE RH
REAR AXLE BRAKE E16100 BRAKE LH
REAR AXLE BRAKE E16200 BRAKE RH
REAR AXLE BRAKE E16500 BRAKE ROD (BRAKE PEDAL)
REAR AXLE BRAKE E17000 BRAKE ROD (BRAKE CAM)
REAR AXLE BRAKE E20100 BRAKE PEDAL
SPEED CHANGE SHIFT FORK SHIFT LEVER D21700 RANGE GEAR SHIFT FORK
SPEED CHANGE SHIFT FORK SHIFT LEVER D22500 REAR DIFFERENTIAL LOCK SHIFT FORK
SPEED CHANGE SHIFT FORK SHIFT LEVER E10900 SPEED CONTROL PEDAL
SPEED CHANGE SHIFT FORK SHIFT LEVER E11000 RANGE GEAR SHIFT LEVER
SPEED CHANGE SHIFT FORK SHIFT LEVER E14000 FRONT WHEEL DRIVE LEVER
STEERING G10100 STEERING WHEEL
STEERING G10300 TILT PEDAL
STEERING G10500 UNIVERSAL JOINT
STEERING G11000 STEERING CONTROLLER
STEERING G18001 TIE ROD STEERING CYLINDER
STEERING G18501 STEERING CYLINDER [COMPONENT PARTS]
USEFUL PRODUCTS 000010 USEFUL PRODUCTS
New to our website?Creating an account is easy and quick!
Our website uses cookie to give you the best online shopping experience. More information Accept