Model added to My Equipment.Click 'My Equipment' to view updated list.
3-POINT LINKAGE DRAWBAR HITCH J10500 TOP LINK
3-POINT LINKAGE DRAWBAR HITCH J11000 3-POINT LINKAGE 1 (LOWER LINK)
3-POINT LINKAGE DRAWBAR HITCH J11300 STABILIZER
3-POINT LINKAGE DRAWBAR HITCH J11500 LIFT ROD
3-POINT LINKAGE DRAWBAR HITCH K10500 DRAWBAR
3-POINT LINKAGE DRAWBAR HITCH K12500 PTO PROTETOR
ACCESSORIES AND SERVICE PARTS S10500 ACCESSORIES AND SERVICE PARTS
CLUTCH TRANSMISSION C10100 CLUTCH
CLUTCH TRANSMISSION C20100 CLUTCH LEVER
CLUTCH TRANSMISSION C30100 CLUTCH PEDAL
CLUTCH TRANSMISSION C40102 CLUTCH HOUSING
CLUTCH TRANSMISSION C40500 GST VALVE
CLUTCH TRANSMISSION C40600 GST VALVE [COMPONENT PARTS]
CLUTCH TRANSMISSION C41002 MID CASE
CLUTCH TRANSMISSION C41201 PTO CLUTCH VALVE
CLUTCH TRANSMISSION C41400 PTO CLUTCH VALVE [COMPONENT PARTS]
CLUTCH TRANSMISSION C42002 TRANSMISSION CASE
CLUTCH TRANSMISSION D10100 MAIN SHAFT
CLUTCH TRANSMISSION D10502 COUNTERSHAFT
CLUTCH TRANSMISSION D11000 HYDRAULIC CLUTCH
CLUTCH TRANSMISSION D11502 SHUTTLE SHAFT
CLUTCH TRANSMISSION D11602 REVERSE SHAFT
CLUTCH TRANSMISSION D11702 RANGE GEAR SHAFT
CLUTCH TRANSMISSION D12500 SPIRAL BEVEL PINION
CLUTCH TRANSMISSION D12700 REAR DIFFERENTIAL
CLUTCH TRANSMISSION D13000 PTO COUNTERSHAFT
CLUTCH TRANSMISSION D13201 PTO CLUTCH
CLUTCH TRANSMISSION D13300 PTO CLUTCH [COMPONENT PARTS]
CLUTCH TRANSMISSION D13502 PTO SHAFT
COOLING WATER SYSTEM A40101 FAN
COOLING WATER SYSTEM A41001 WATER PIPE
COOLING WATER SYSTEM A42001 RADIATOR
COOLING WATER SYSTEM A43001 RESERVE TANK
ELECTRICAL SYSTEM A51501 ALTERNATOR
ELECTRICAL SYSTEM A52001 ALTERNATOR [COMPONENT PARTS](NOT FOR REMAN UNIT)
ELECTRICAL SYSTEM A52501 STARTER
ELECTRICAL SYSTEM A53001 STARTER [COMPONENT PARTS](NOT FOR REMAN UNIT)
ELECTRICAL SYSTEM A53501 BATTERY
ELECTRICAL SYSTEM B10202 SWITCH RERAY
ELECTRICAL SYSTEM B10302 SWITCH SENSOR (ENGINE)
ELECTRICAL SYSTEM B10400 SWITCH (FRONT) ## NOTE ORDER BY REF.No.100 and 110 NEW PARTS.
ELECTRICAL SYSTEM B10502 SWITCH (REAR)
ELECTRICAL SYSTEM B11500 PANEL BOARD
ELECTRICAL SYSTEM B12000 PANEL BOARD [COMPONENT PARTS]
ELECTRICAL SYSTEM B30300 HEAD LIGHT
ELECTRICAL SYSTEM B31100 HAZARD LIGHT
ELECTRICAL SYSTEM B31200 REAR LAMP
ELECTRICAL SYSTEM B50302 ELECTRICAL WIRING (FRONT)
ELECTRICAL SYSTEM B50702 ELECTRICAL WIRING (REAR)
ENGINE 000102 CRANK CASE
ENGINE 000201 OIL PAN
ENGINE 000302 CYLINDER HEAD
ENGINE 000401 GEAR CASE
ENGINE 000500 HEAD COVER
ENGINE 010001 MAIN BEARING CASE
ENGINE 010100 CAMSHAFT AND IDLE GEAR SHAFT
ENGINE 010202 PISTON AND CRANKSHAFT
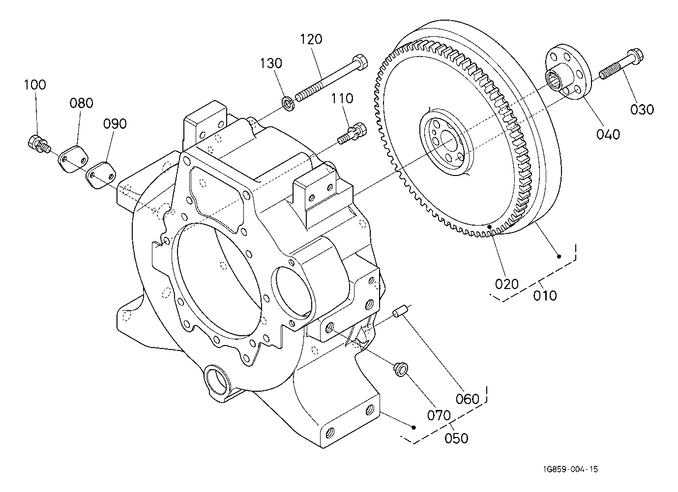
ENGINE 010300 FLYWHEEL
ENGINE 010501 FUEL CAMSHAFT
ENGINE 010602 BALANCER ## NOTE ORDER BY #1 REF.No.010, #2 REF.No.050 NEW PART and Fig.No.000102 REF.
ENGINE 020000 ENGINE STOP LEVER
ENGINE 020200 INJECTION PUMP ## NOTE ORDER BY REF.No.010,020,026 and 027 NEW PARTS.
ENGINE 020400 GOVERNOR
ENGINE 020500 SPEED CONTROL PLATE
ENGINE 020600 NOZZLE HOLDER AND GLOW PLUG
ENGINE 020700 NOZZLE HOLDER [COMPONENT PARTS]
ENGINE 050000 WATER FLANGE AND THERMOSTAT
ENGINE 050100 WATER PUMP
ENGINE 060000 VALVE AND ROCKER ARM
ENGINE 060100 INLET MANIFOLD
ENGINE 060301 EXHAUST MANIFOLD MUFFLER
ENGINE 060401 AIR CLEANER
ENGINE 090102 UPPER GASKET KIT
ENGINE 090201 LOWER GASKET KIT
ENGINE A01000 ACCELERATOR LEVER
ENGINE A02001 ACCELERATOR PEDAL
FREQUENTLY USED ITEMS 000001 FREQUENTLY USED ITEMS
FREQUENTLY USED ITEMS 000004 FILTER AND FLUID CAPACITY
FRONT AXLE CHASSIS F10502 FRONT AXLE FRAME
FRONT AXLE CHASSIS F12000 PROPELLER SHAFT
FRONT AXLE CHASSIS F12202 FRONT WHEEL DRIVE SHAFT
FRONT AXLE CHASSIS F12502 FRONT DIFFERENTIAL CASE
FRONT AXLE CHASSIS F12702 BEVEL GEAR (FRONT)
FRONT AXLE CHASSIS F13002 DIFFERENTIAL(FRONT)
FRONT AXLE CHASSIS F14102 FRONT AXLE CASE LH
FRONT AXLE CHASSIS F14202 FRONT AXLE CASE RH
FRONT AXLE CHASSIS F14502 DIFFERENTIAL GEAR SHAFT
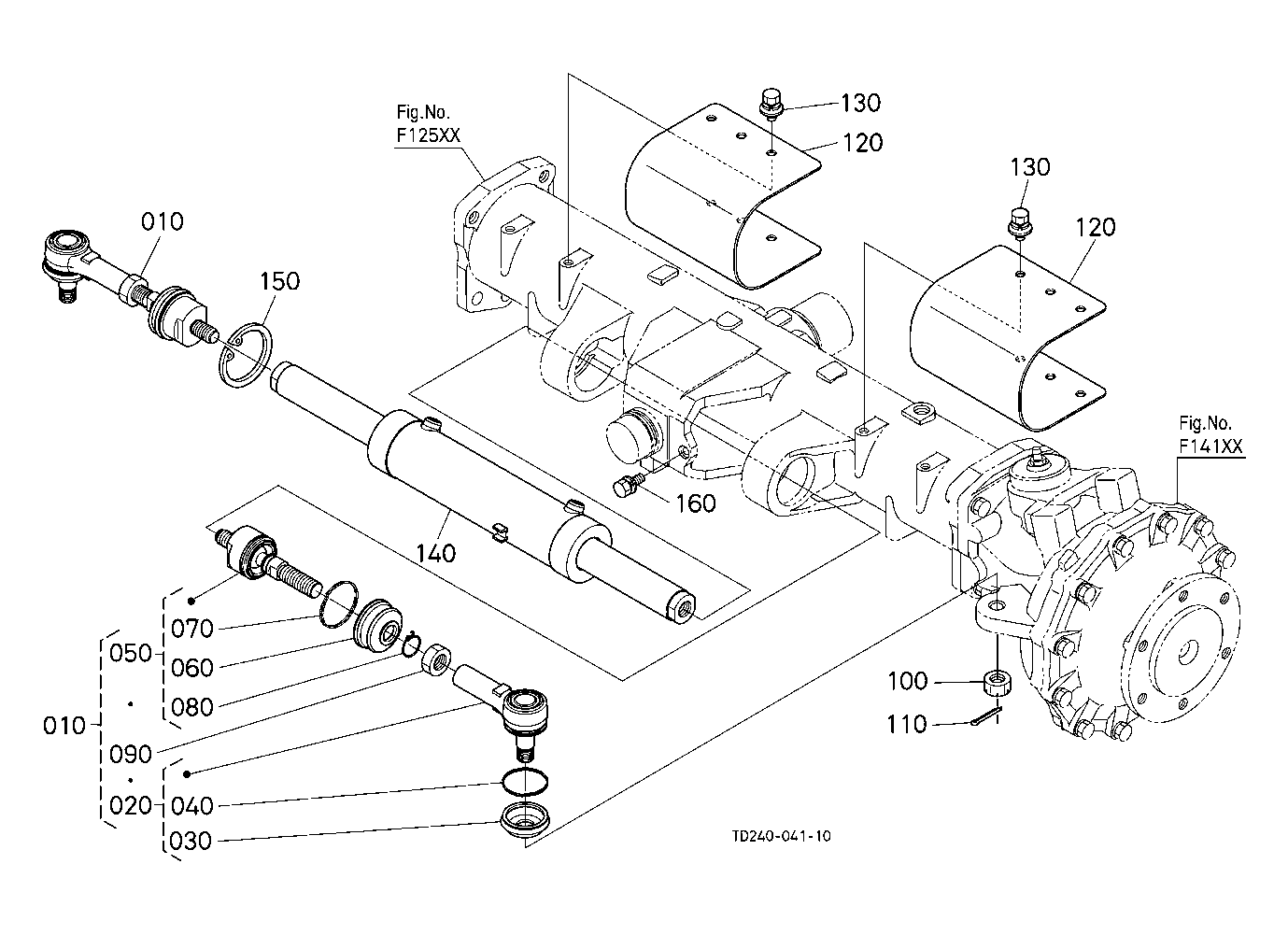
FRONT AXLE CHASSIS F15002 FRONT AXLE
FRONT REAR TIRE P10101 FRONT WHEEL (8.3-16)
FRONT REAR TIRE P10102 FRONT WHEEL (10.0-16.5)
FRONT REAR TIRE P10105 FRONT WHEEL (2710.50-15)
FRONT REAR TIRE P10106 FRONT WHEEL (2912.5-15)
FRONT REAR TIRE P10107 FRONT WHEEL (305R343LSW)
FRONT REAR TIRE P10108 FRONT WHEEL (305R343NHSLSW)
FRONT REAR TIRE P11001 REAR WHEEL (14.9-24R1)
FRONT REAR TIRE P11002 REAR WHEEL (17.5-24R4)
FRONT REAR TIRE P11004 REAR WHEEL (4418-20)
FRONT REAR TIRE P11005 REAR WHEEL (41 18LL16.1)
FRONT REAR TIRE P11006 REAR WHEEL (610R470LSW)
FRONT REAR TIRE P11007 REAR WHEEL (14.9-24R1)
FUEL SYSTEM A10101 FUEL TANK
FUEL SYSTEM A11001 FUEL PIPE
FUEL SYSTEM A12001 FUEL FILTER
FUEL SYSTEM A13000 FUEL FILTER [COMPONENT PARTS]
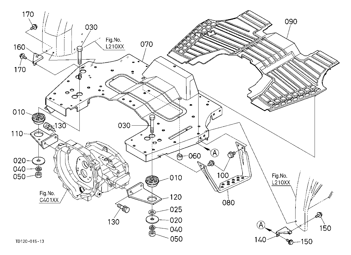
HOOD BONNET L10101 FRONT GRILLE
HOOD BONNET L10201 HOOD (BONNET) FRONT SUPPORT
HOOD BONNET L10501 HOOD(BONNET)
HOOD BONNET L10701 HOOD (BONNET) LINK
HOOD BONNET L11501 SIDE COVER LOWER
HOOD BONNET L13001 SHUTTER PLATE
HOOD BONNET L20100 PANEL FRAME
HOOD BONNET L20300 PANEL COVER
HOOD BONNET L21000 FENDER
HOOD BONNET L21501 FLOOR SHEET
HOOD BONNET L21800 HYDRAULIC CONTROL LEVER GUIDE
HOOD BONNET L21900 SEAT
HOOD BONNET L22000 SEAT [COMPONENT PARTS]
HOOD BONNET L22100 SEAT SUSPENSION [COMPONENT PARTS]
HOOD BONNET L22501 STEP
HOOD BONNET L50100 SMV EMBLEM
HYDRAULIC SYSTEM H12000 HYDRAULIC PUMP
HYDRAULIC SYSTEM H12500 HYDRAULIC PUMP [COMPONENT PARTS]
HYDRAULIC SYSTEM H14500 REGULATER VALVE
HYDRAULIC SYSTEM H20500 HYDRAULIC OIL LINE (INLET)
HYDRAULIC SYSTEM H21002 HYDRAULIC OIL LINE (DELIVERY)
HYDRAULIC SYSTEM H21500 HYDRAULIC OIL LINE (PS)
HYDRAULIC SYSTEM H23002 PTO HYDRAULIC OIL LINE
HYDRAULIC SYSTEM H28001 LOADER VALVE ## NOTE ORDER BY REF.No.090,110 and Fig.No.H28301 REF.No.130 NE
HYDRAULIC SYSTEM H28100 HYDRAULIC OUTLET VALVE [COMPONENT PARTS]
HYDRAULIC SYSTEM H28301 LOADER VALVE LEVER
HYDRAULIC SYSTEM H28401 LOADER LOCK LEVER
HYDRAULIC SYSTEM H28500 HYDRAULIC LOADER PIPE
HYDRAULIC SYSTEM H30501 TRANSMISSION CASE COVER
HYDRAULIC SYSTEM H32000 LIFT ARM
HYDRAULIC SYSTEM H33000 FEED BACK LEVER
HYDRAULIC SYSTEM H40500 CONTROL VALVE
HYDRAULIC SYSTEM H41000 CONTROL VALVE [COMPONENT PARTS]
HYDRAULIC SYSTEM H43200 CHECK VALVE SAFETY VALVE
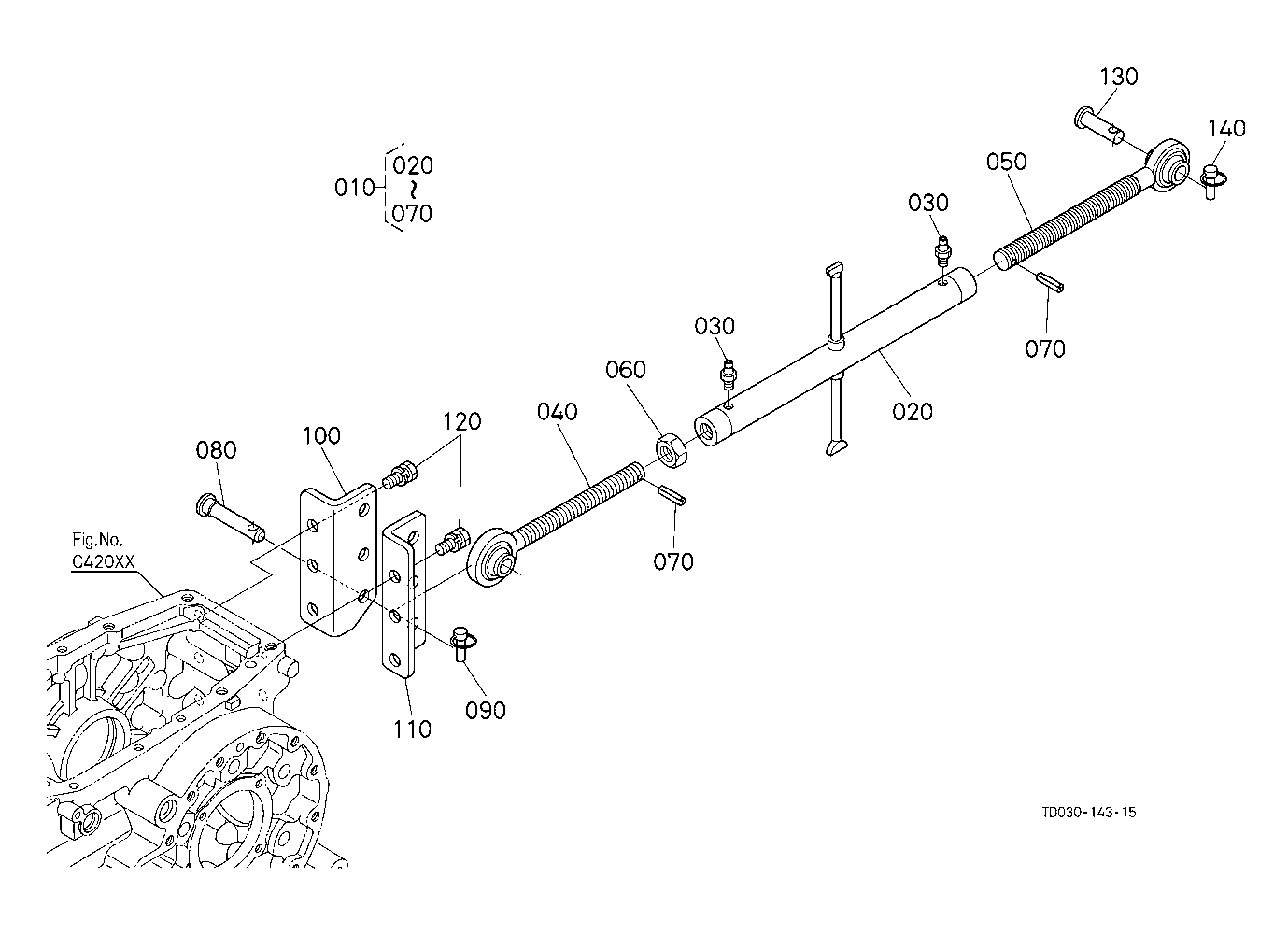
HYDRAULIC SYSTEM H43500 3P CYLINDER RH
HYDRAULIC SYSTEM H43600 3P CYLINDER LH
HYDRAULIC SYSTEM H43700 3P CYLINDER [COMPONENT PARTS]
HYDRAULIC SYSTEM H44001 POSITION CONTROL LEVER
LABELS R10502 LABEL 1 (FRONT)
LABELS R11000 LABEL 2 (PANEL)
LABELS R11502 LABEL 3 (REAR)
OPTION T10400 MUFFLER KIT (W G No.L8368) [OPTION]
OPTION T10500 WORKING LIGHT KIT (W G No.L8329) [OPTION]
OPTION T11501 CREEP SPEED KIT (GEAR SHAFT) (W G No.L8324) [OPTION]
OPTION T11502 CREEP SPEED KIT (SHIFT FORK) (W G No.L8324) [OPTION]
OPTION T11504 CREEP SPEED KIT (SHIFT LEVER) (W G No.L8324) [OPTION]
OPTION T11600 MID PTO GEAR KIT (W G No.L8316) [OPTION]
OPTION T11701 MID PTO (CASE) (W G No.L8338) [OPTION]
OPTION T11702 MID PTO (SHIFT FORK) (W G No.L8338) [OPTION]
OPTION T11704 MID PTO (LEVER) (W G No.L8338) [OPTION]
OPTION T12100 FRONT BUMPER (W G No.MX8068) [OPTION]
OPTION T12600 HYDRAULIC PIPE KIT (W G No.L8349) [OPTION]
OPTION T13001 POSITION CONTROL LEVER (WITH DRAFT) (W G No.L8374) [OPTION]
OPTION T13301 POSITION CONTROL LINK (WITH DRAFT) (W G No.L8374) [OPTION]
OPTION T13501 DRAFT CONTROL LEVER (WITH DRAFT) (W G No.L8374) [OPTION]
OPTION T13900 LUBRICATION KIT (HYDRAULIC PUMP DRIVE GEAR) [OPTION]
OPTION T14001 TOP LINK HOLDER (WITH DRAFT) (W G No.L8374) [OPTION]
OPTION T14400 SWINGING DRAWBAR (W G No.L8325) [OPTION]
OPTION T14901 AUXILIARY CONTROL VALVE (W G No.L8308) [OPTION]
OPTION T14902 AUXILIARY CONTROL VALVE (FLOATING) (W G No.L8309) [OPTION]
OPTION T15000 AUXILIARY CONTROL VALVE BASE(W G No.L8335) [OPTION]
OPTION T15101 AUXILIARY CONTROL VALVE LEVER (1ST) (W G No.L8335) [OPTION]
OPTION T15103 AUXILIARY CONTROL VALVE LEVER (2ND) (W G No.L8336) [OPTION]
OPTION T15105 AUXILIARY CONTROL VALVE LEVER (3RD) (W G No.L8337) [OPTION]
OPTION T15501 AUXILIARY CONTROL VALVE COUPLER (1ST) (W G No.L8335) [OPTION]
OPTION T15503 AUXILIARY CONTROL VALVE COUPLER (2ND) (W G No.L8336) [OPTION]
OPTION T15505 AUXILIARY CONTROL VALVE COUPLER (3RD) (W G No.L8337) [OPTION]
REAR AXLE BRAKE E15100 REAR AXLE LH
REAR AXLE BRAKE E15200 REAR AXLE RH
REAR AXLE BRAKE E16102 BRAKE LH
REAR AXLE BRAKE E16200 BRAKE RH
REAR AXLE BRAKE E16501 BRAKE ROD 1 (BRAKE PEDAL)
REAR AXLE BRAKE E17000 BRAKE ROD 2 (BRAKE CAM)
REAR AXLE BRAKE E20100 BRAKE PEDAL
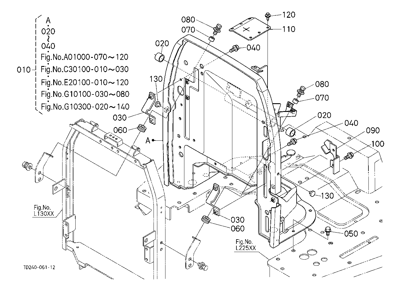
ROPS L30101 ROPS
SPEED CHANGE SHIFT FORK SHIFT LEVER D20102 MAIN GEAR SHIFT FORK
SPEED CHANGE SHIFT FORK SHIFT LEVER D20502 SHUTTLE SHIFT FORK
SPEED CHANGE SHIFT FORK SHIFT LEVER D21702 RANGE GEAR SHIFT FORK
SPEED CHANGE SHIFT FORK SHIFT LEVER D22501 DIFFERENTIAL LOCK SHIFT FORK
SPEED CHANGE SHIFT FORK SHIFT LEVER E10102 MAIN GEAR SHIFT LEVER
SPEED CHANGE SHIFT FORK SHIFT LEVER E10501 SHUTTLE SHIFT LEVER
SPEED CHANGE SHIFT FORK SHIFT LEVER E14001 FRONT WHEEL DRIVE LEVER
STEERING G10100 STEERING HANDLE
STEERING G10300 TILT PEDAL
STEERING G10501 UNIVERSAL JOINT
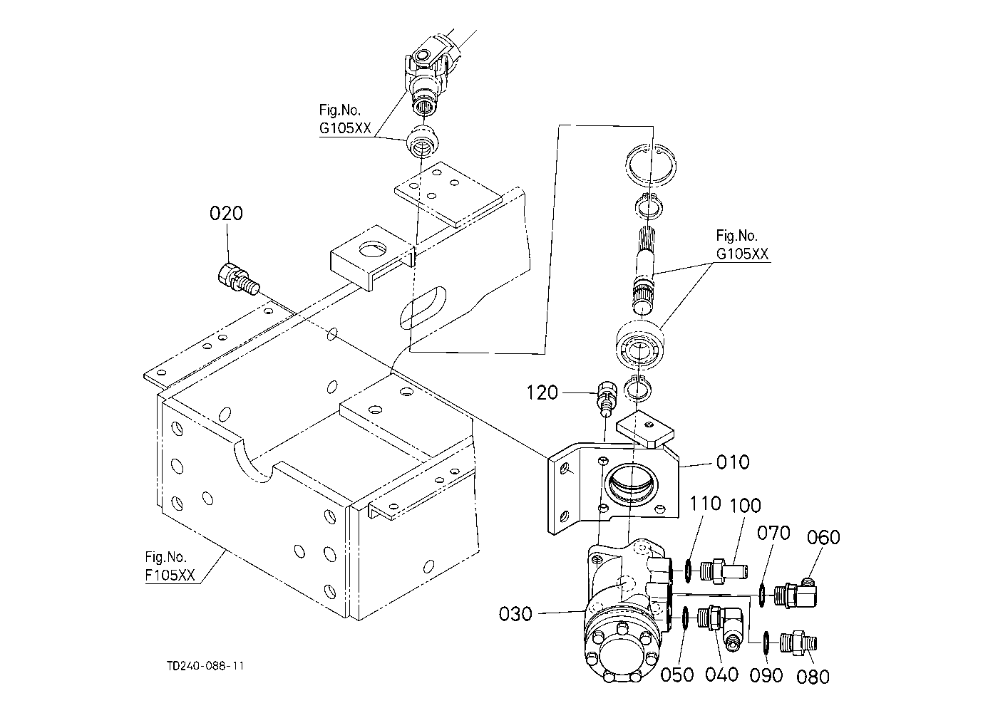
STEERING G11000 STEERING CONTROLLER
STEERING G11200 STEERING CONTROLLER [COMPONENT PARTS]
STEERING G18002 TIE ROD STEERING CYLINDER
STEERING G18502 STEERING CYLINDER [COMPONENT PARTS]
USEFUL PRODUCTS 000010 USEFUL PRODUCTS
New to our website?Creating an account is easy and quick!
Our website uses cookie to give you the best online shopping experience. More information Accept