Model added to My Equipment.Click 'My Equipment' to view updated list.
3-POINT LINKAGE DRAWBAR HITCH J10500 TOP LINK
3-POINT LINKAGE DRAWBAR HITCH J11000 3-POINT LINKAGE 1 (LOWER LINK)
3-POINT LINKAGE DRAWBAR HITCH J11500 3-POINT LINKAGE 2 (LIFT ROD)
3-POINT LINKAGE DRAWBAR HITCH K10500 DRAWBAR
3-POINT LINKAGE DRAWBAR HITCH K12501 PTO PROTECTOR [A] [CA]
3-POINT LINKAGE DRAWBAR HITCH K12502 PTO PROTECTOR [AU]
ACCESSORIES AND SERVICE PARTS S10500 ACCESSORIES AND SERVICE PARTS
CLUTCH TRANSMISSION C10100 CLUTCH
CLUTCH TRANSMISSION C20100 CLUTCH LEVER
CLUTCH TRANSMISSION C30100 CLUTCH PEDAL
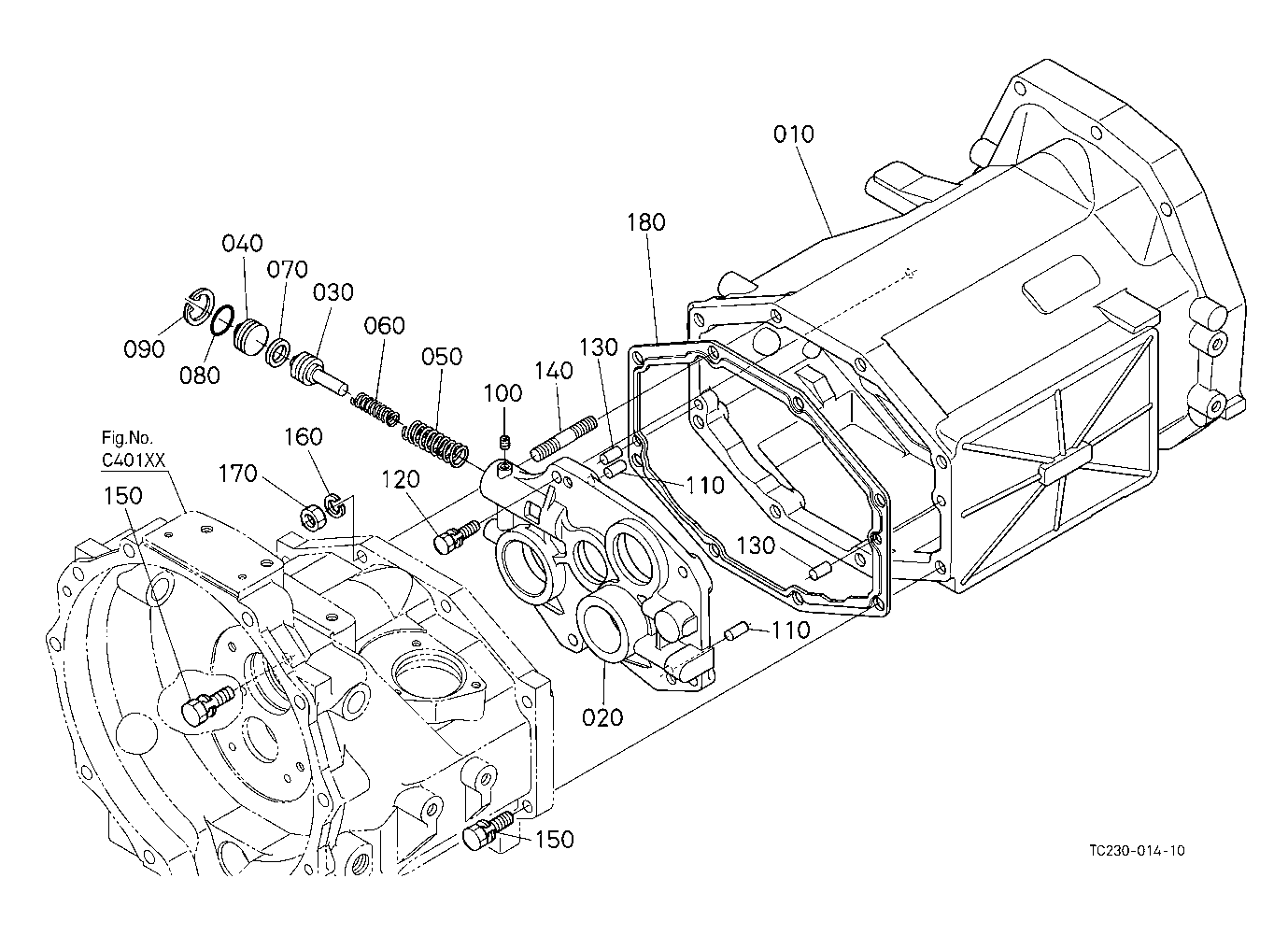
CLUTCH TRANSMISSION C40101 CLUTCH HOUSING
CLUTCH TRANSMISSION C41000 MID CASE
CLUTCH TRANSMISSION C42001 TRANSMISSION CASE
CLUTCH TRANSMISSION D10100 MAIN SHAFT
CLUTCH TRANSMISSION D10501 COUNTERSHAFT
CLUTCH TRANSMISSION D11600 REVERSE SHAFT
CLUTCH TRANSMISSION D11700 RANGE GEAR SHAFT
CLUTCH TRANSMISSION D12501 SPIRAL BEVEL PINION
CLUTCH TRANSMISSION D12700 REAR DIFFERENTIAL
CLUTCH TRANSMISSION D13000 PTO COUNTERSHAFT
CLUTCH TRANSMISSION D13200 PTO CLUTCH
CLUTCH TRANSMISSION D13300 PTO CLUTCH [COMPONENT PARTS]
CLUTCH TRANSMISSION D13501 PTO SHAFT
COOLING WATER SYSTEM A40100 FAN
COOLING WATER SYSTEM A41000 WATER PIPE
COOLING WATER SYSTEM A42001 RADIATOR [A] [CA]
COOLING WATER SYSTEM A42002 RADIATOR [AU]
COOLING WATER SYSTEM A43000 RESERVE TANK
ELECTRICAL SYSTEM A51500 ALTERNATOR
ELECTRICAL SYSTEM A52000 ALTERNATOR [COMPONENT PARTS](NOT FOR REMAN UNIT)
ELECTRICAL SYSTEM A52500 STARTER
ELECTRICAL SYSTEM A53000 STARTER [COMPONENT PARTS](NOT FOR REMAN UNIT)
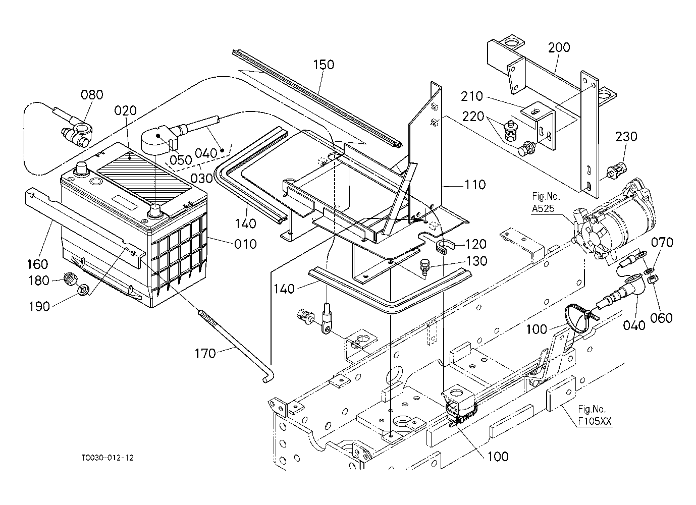
ELECTRICAL SYSTEM A53500 BATTERY
ELECTRICAL SYSTEM B10200 SWITCH 1 RELAY
ELECTRICAL SYSTEM B10300 SWITCH 2 SENSOR
ELECTRICAL SYSTEM B11500 PANEL BOARD
ELECTRICAL SYSTEM B12000 PANEL BOARD [COMPONENT PARTS]
ELECTRICAL SYSTEM B30300 HEAD LIGHT
ELECTRICAL SYSTEM B31200 REAR LAMP
ELECTRICAL SYSTEM B50101 ELECTRICAL WIRING [OLD TYPE]
ELECTRICAL SYSTEM B50102 ELECTRICAL WIRING [NEW TYPE]
ENGINE 000100 CRANKCASE
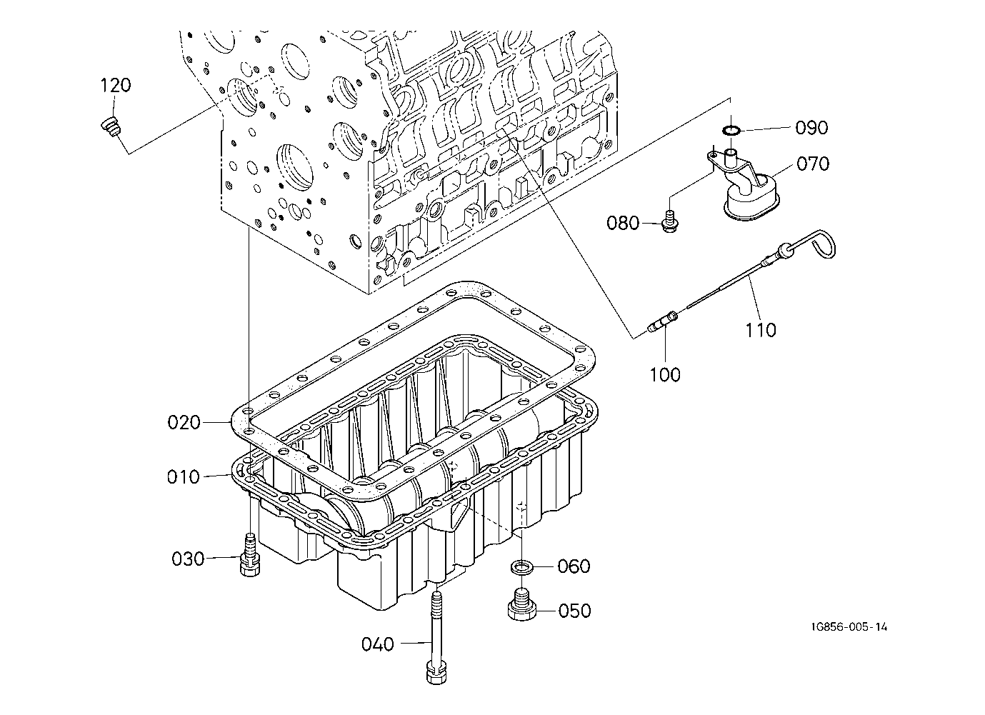
ENGINE 000200 OIL PAN
ENGINE 000301 CYLINDER HEAD [OLD TYPE]
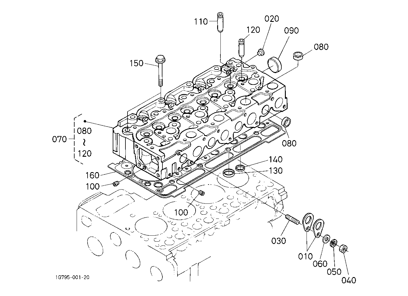
ENGINE 000302 CYLINDER HEAD [NEW TYPE]
ENGINE 000401 GEAR CASE [OLD TYPE]
ENGINE 000402 GEAR CASE [NEW TYPE]
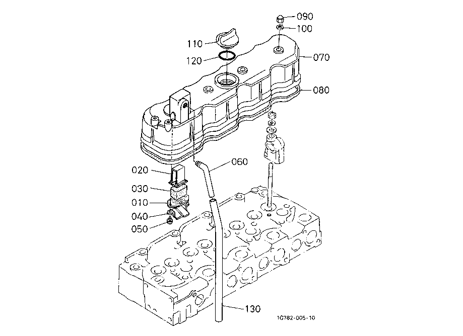
ENGINE 000501 HEAD COVER [OLD TYPE]
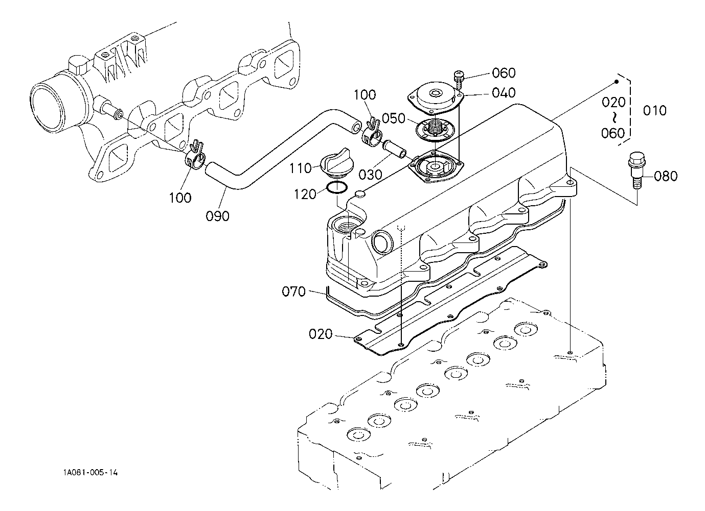
ENGINE 000502 HEAD COVER [NEW TYPE]
ENGINE 010000 MAIN BEARING CASE
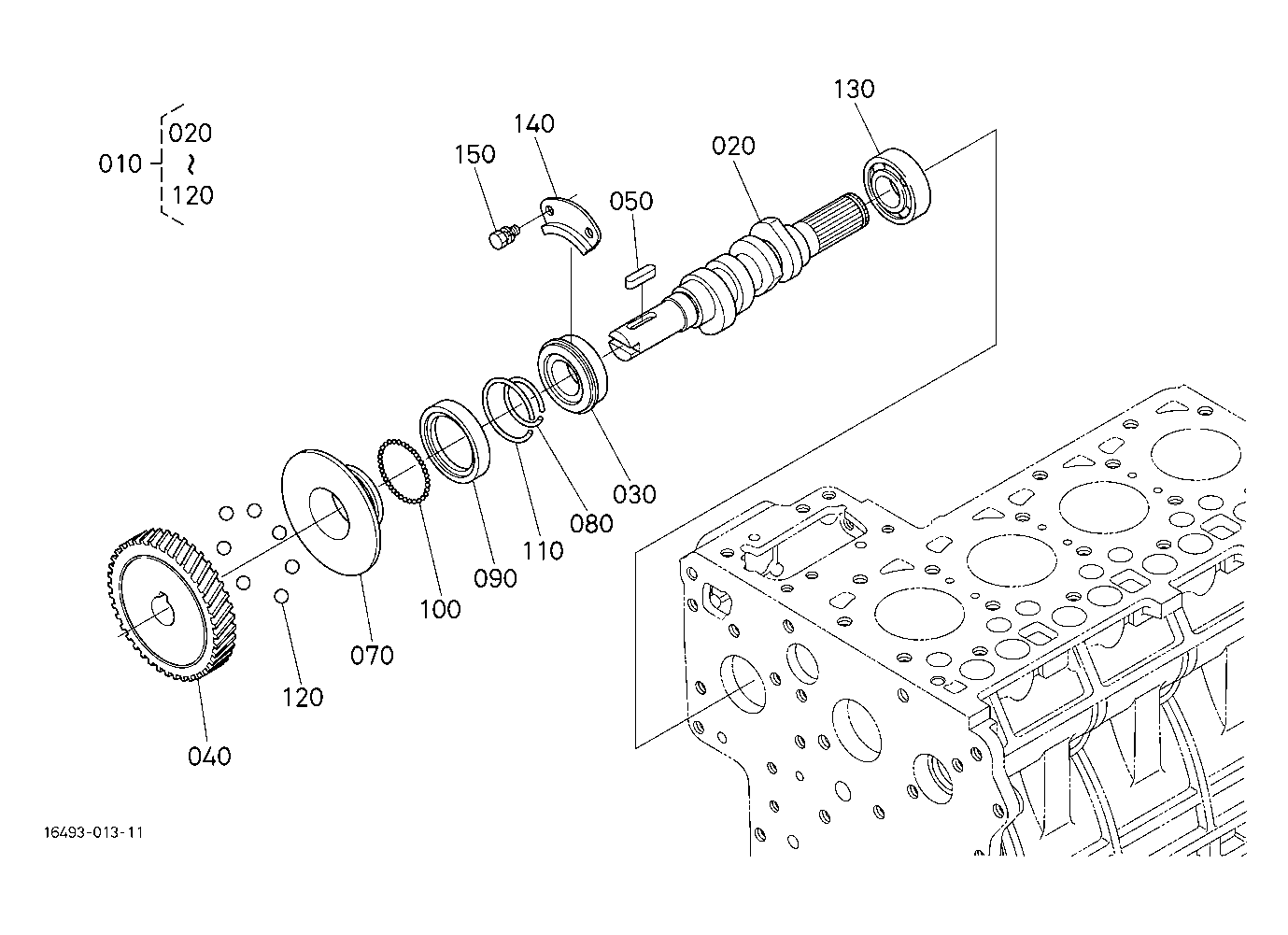
ENGINE 010100 CAMSHAFT AND IDLE GEAR SHAFT
ENGINE 010201 PISTON AND CRANKSHAFT [OLD TYPE]
ENGINE 010202 PISTON AND CRANKSHAFT [NEW TYPE]
ENGINE 010301 FLYWHEEL [L4300F]
ENGINE 010500 FUEL CAMSHAFT
ENGINE 020001 ENGINE STOP LEVER [OLD TYPE]
ENGINE 020002 ENGINE STOP LEVER [NEW TYPE]
ENGINE 020200 INJECTION PUMP
ENGINE 020401 GOVERNOR [OLD TYPE]
ENGINE 020402 GOVERNOR [NEW TYPE]
ENGINE 020501 SPEED CONTROL PLATE [OLD TYPE]
ENGINE 020502 SPEED CONTROL PLATE [NEW TYPE]
ENGINE 020600 NOZZLE HOLDER AND GLOW PLUG
ENGINE 020700 NOZZLE HOLDER [COMPONENT PARTS]
ENGINE 050001 WATER FLANGE AND THERMOSTAT [OLD TYPE]
ENGINE 050002 WATER FLANGE AND THERMOSTAT [NEW TYPE]
ENGINE 050100 WATER PUMP
ENGINE 060001 VALVE AND ROCKER ARM [OLD TYPE]
ENGINE 060002 VALVE AND ROCKER ARM [NEW TYPE]
ENGINE 060100 INLET MANIFOLD
ENGINE 060300 EXHAUST MANIFOLD MUFFLER
ENGINE 060400 AIR CLEANER
ENGINE 090101 UPPER GASKET KIT [OLD TYPE]
ENGINE 090102 UPPER GASKET KIT [NEW TYPE]
ENGINE 090201 LOWER GASKET KIT [OLD TYPE]
ENGINE 090202 LOWER GASKET KIT [NEW TYPE]
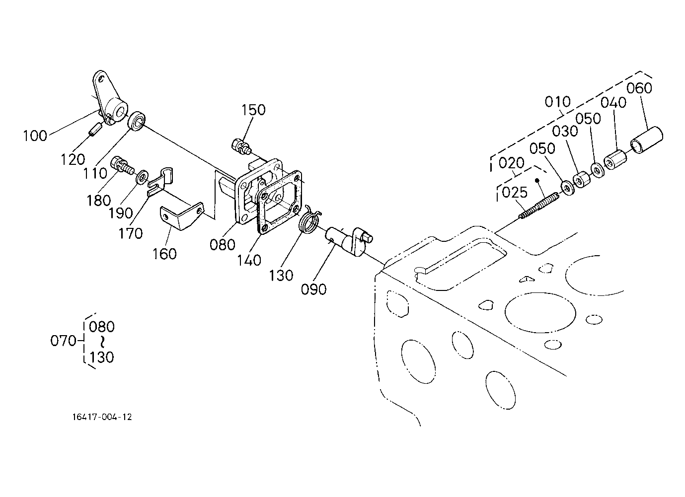
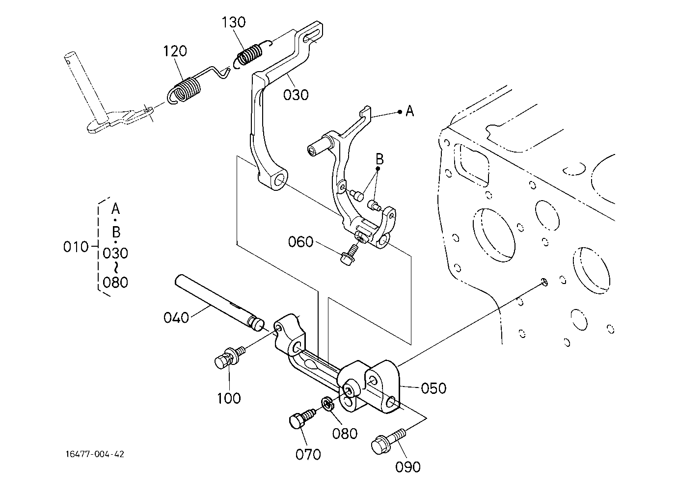
ENGINE A00300 ENGINE STOP ROD [OLD TYPE]
ENGINE A01001 ACCELERATOR LEVER [OLD TYPE]
ENGINE A01002 ACCELERATOR LEVER [NEW TYPE]
ENGINE A02500 ACCELERATOR LINKAGE
FREQUENTLY USED ITEMS 000000 FREQUENTLY USED ITEMS
FRONT AXLE CHASSIS F10501 FRONT AXLE FRAME
FRONT AXLE CHASSIS F11000 FRONT AXLE
FRONT AXLE CHASSIS F11500 KNUCKLE SHAFT
FRONT REAR TIRE P10101 FRONT WHEEL (6.00-16)
FRONT REAR TIRE P10102 FRONT WHEEL (7.5L-15)
FRONT REAR TIRE P10106 FRONT WHEEL (2710.5-15)
FRONT REAR TIRE P10107 FRONT WHEEL (2912.50-15)
FRONT REAR TIRE P11001 REAR WHEEL (13.6-24)
FRONT REAR TIRE P11002 REAR WHEEL (14.9-24)
FRONT REAR TIRE P11005 REAR WHEEL (21.5L-16.1)
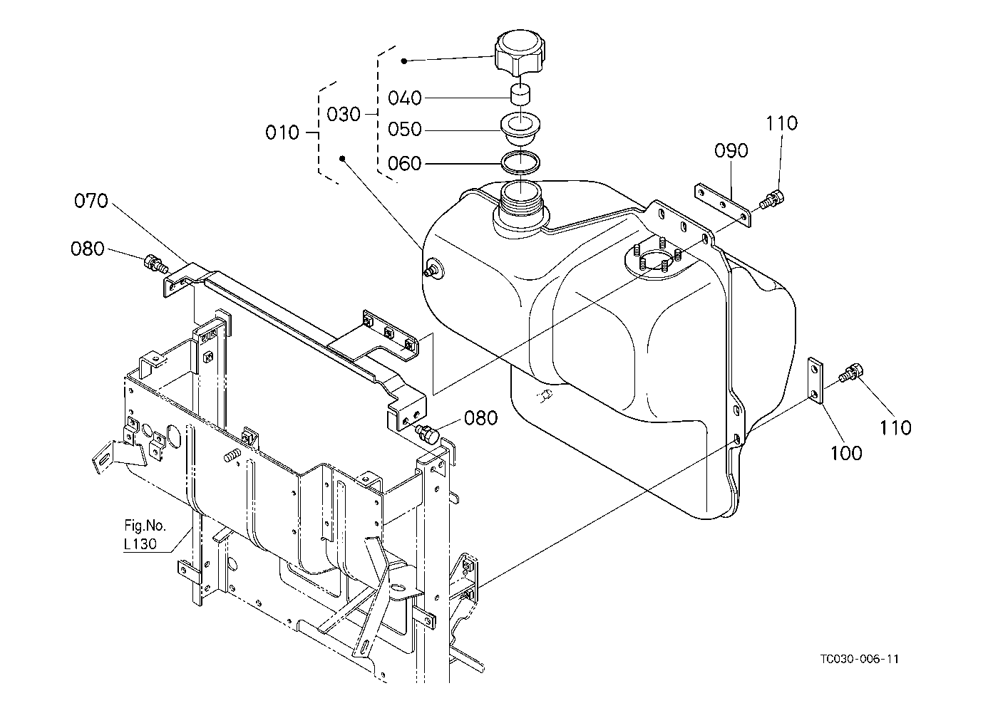
FUEL SYSTEM A10100 FUEL TANK
FUEL SYSTEM A11000 FUEL PIPE AND FUEL FILTER
FUEL SYSTEM A13000 FUEL FILTER [COMPONENT PARTS]
HOOD BONNET L10100 FRONT GRILLE
HOOD BONNET L10501 HOOD(BONNET) [A] [CA]
HOOD BONNET L10502 HOOD(BONNET) [AU]
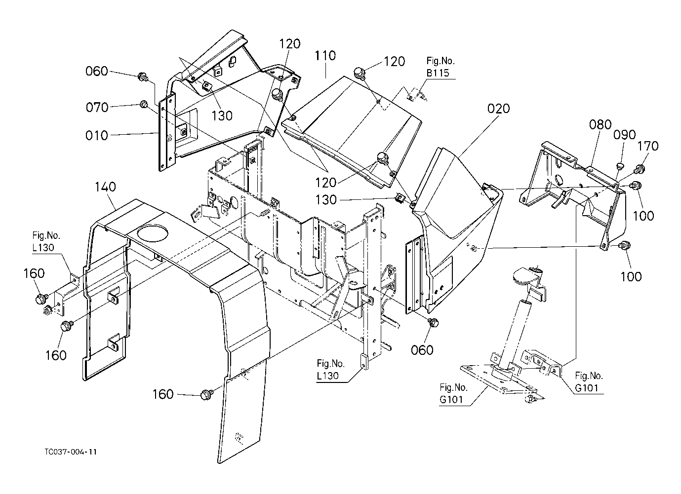
HOOD BONNET L11000 HOOD(BONNET) SIDE
HOOD BONNET L13000 SHUTTER PLATE
HOOD BONNET L20101 PANEL FRAME [A] [CA]
HOOD BONNET L20102 PANEL FRAME [AU]
HOOD BONNET L21001 FENDER [A] [CA]
HOOD BONNET L21002 FENDER [AU]
HOOD BONNET L21300 FENDER SUPPORT
HOOD BONNET L22001 SEAT [OLD TYPE]
HOOD BONNET L22002 SEAT [OLD TYPE]
HOOD BONNET L22003 SEAT [NEW TYPE]
HOOD BONNET L22500 STEP
HOOD BONNET L24000 TOOL BOX
HOOD BONNET L50100 SMV EMBLEM
HYDRAULIC SYSTEM H12000 HYDRAULIC PUMP
HYDRAULIC SYSTEM H12500 HYDRAULIC PUMP [COMPONENT PARTS]
HYDRAULIC SYSTEM H14500 REGULATOR VALVE
HYDRAULIC SYSTEM H20500 HYDRAULIC OIL LINE(INLET) ## NOTE ORDER BY REF.No.030(TA040-3771-0)
HYDRAULIC SYSTEM H21000 HYDRAULIC OIL LINE(DELIVERY)
HYDRAULIC SYSTEM H21500 HYDRAULIC OIL LINE (PS)
HYDRAULIC SYSTEM H23000 PTO HYDRAULIC OIL LINE
HYDRAULIC SYSTEM H23500 HYDRAULIC OUTLET BLOCK
HYDRAULIC SYSTEM H30100 HYDRAULIC CYLINDER ## NOTE ORDER BY REF.No.010 and Fig.No.H32000 REF.No.080
HYDRAULIC SYSTEM H32000 LIFT ARM
HYDRAULIC SYSTEM H33000 FEED BACK LEVER
HYDRAULIC SYSTEM H40500 CONTROL VALVE
HYDRAULIC SYSTEM H41000 CONTROL VALVE [COMPONENT PARTS] [OLD TYPE]
HYDRAULIC SYSTEM H41001 CONTROL VALVE [COMPONENT PARTS] [NEW TYPE]
HYDRAULIC SYSTEM H44000 POSITION CONTROL LEVER
LABELS R10501 LABEL 1 (FRONT) [A] [CA]
LABELS R10502 LABEL 1 (FRONT) [AU]
LABELS R11001 LABEL 2 (REAR) [A] [CA]
LABELS R11003 LABEL 2 (REAR) [AU]
OPTION T12200 FRONT WEIGHT [OPTION]
OPTION T13000 POSITION CONTROL LEVER (WITH DRAFT) (W G No.L8311A) [OPTION]
OPTION T13500 DRAFT CONTROL LEVER (WITH DRAFT) (W G No.L8311A) [OPTION]
OPTION T14000 TOP LINK HOLDER (WITH DRAFT) (W G No.L8311A) [OPTION]
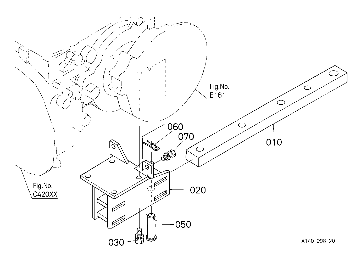
OPTION T14500 SWINGING DRAWBAR [OPTION]
OPTION T15001 AUXILIARY CONTROL VALVE LEVER (1ST) [OPTION]
OPTION T15002 AUXILIARY CONTROL VALVE LEVER (2ND) [OPTION]
OPTION T15003 AUXILIARY CONTROL VALVE LEVER (3RD) [OPTION]
OPTION T15501 AUXILIARY CONTROL VALVE COUPLER (1ST) [OPTION]
OPTION T15502 AUXILIARY CONTROL VALVE COUPLER (2ND) [OPTION]
OPTION T15503 AUXILIARY CONTROL VALVE COUPLER (3RD) [OPTION]
REAR AXLE BRAKE E15100 REAR AXLE LH
REAR AXLE BRAKE E15200 REAR AXLE RH
REAR AXLE BRAKE E16100 BRAKE LH
REAR AXLE BRAKE E16200 BRAKE RH
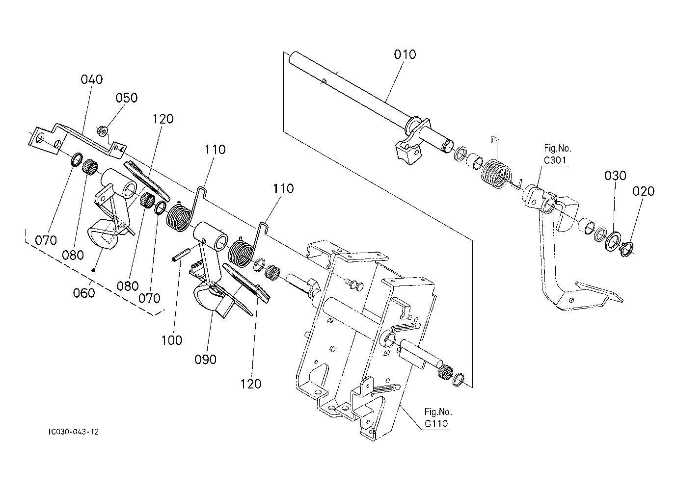
REAR AXLE BRAKE E16500 BRAKE ROD 1 (BRAKE PEDAL)
REAR AXLE BRAKE E17000 BRAKE ROD 2 (BRAKE CAM)
REAR AXLE BRAKE E20100 BRAKE PEDAL
ROPS L30101 ROPS (RIGID TYPE)
ROPS L30102 ROPS (FOLDABLE TYPE)
SPEED CHANGE SHIFT FORK SHIFT LEVER D20100 MAIN GEAR SHIFT FORK
SPEED CHANGE SHIFT FORK SHIFT LEVER D21700 RANGE GEAR SHIFT FORK
SPEED CHANGE SHIFT FORK SHIFT LEVER D22500 DIFFERENTIAL LOCK SHIFT FORK
SPEED CHANGE SHIFT FORK SHIFT LEVER E10100 MAIN GEAR SHIFT LEVER
SPEED CHANGE SHIFT FORK SHIFT LEVER E11000 RANGE GEAR SHIFT LEVER
SPEED CHANGE SHIFT FORK SHIFT LEVER E12601 PTO CLUTCH CONTROL LEVER [OLD TYPE]
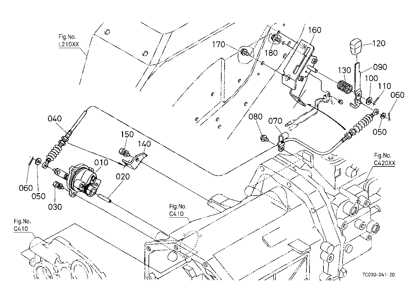
SPEED CHANGE SHIFT FORK SHIFT LEVER E12602 PTO CLUTCH CONTROL LEVER [NEW TYPE] ## [NOTE ORDER BY REF
SPEED CHANGE SHIFT FORK SHIFT LEVER E12700 PTO CLUTCH VALVE [COMPONENT PARTS]
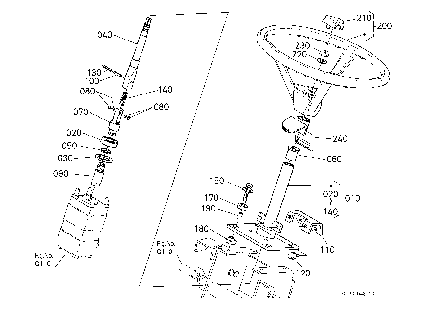
STEERING G10100 STEERING HANDLE
STEERING G11000 STEERING CONTROLLER
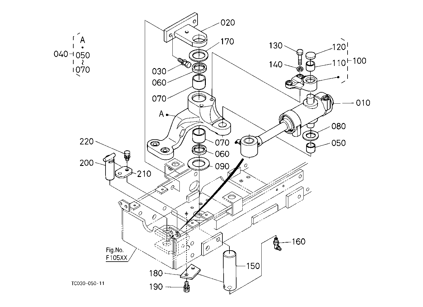
STEERING G12001 STEERING LINKAGE (TIE ROD)
STEERING G18001 STEERING CYLINDER
STEERING G18500 STEERING CYLINDER [COMPONENT PARTS]%
USEFUL PRODUCTS 000010 USEFUL PRODUCTS
New to our website?Creating an account is easy and quick!
Our website uses cookie to give you the best online shopping experience. More information Accept