Model added to My Equipment.Click 'My Equipment' to view updated list.
3-POINT LINKAGE DRAWBAR HITCH J10500 TOP LINK
3-POINT LINKAGE DRAWBAR HITCH J11000 3-POINT LINKAGE 1 (LOWER LINK)
3-POINT LINKAGE DRAWBAR HITCH J11300 STABILIZER
3-POINT LINKAGE DRAWBAR HITCH J11500 3-POINT LINKAGE 2 (LIFT ROD)
3-POINT LINKAGE DRAWBAR HITCH K10500 DRAWBAR
3-POINT LINKAGE DRAWBAR HITCH K12500 PTO PROTECTOR
ACCESSORIES AND SERVICE PARTS S10500 ACCESSORIES AND SERVICE PARTS
CLUTCH TRANSMISSION C10101 CLUTCH [EXCEPT HST TYPE]
CLUTCH TRANSMISSION C10102 CLUTCH [HST TYPE]
CLUTCH TRANSMISSION C20101 CLUTCH LEVER [EXCEPT HST TYPE]
CLUTCH TRANSMISSION C20102 CLUTCH LEVER [HST TYPE]
CLUTCH TRANSMISSION C30101 CLUTCH PEDAL [EXCEPT HST TYPE]
CLUTCH TRANSMISSION C30102 CLUTCH PEDAL [HST TYPE]
CLUTCH TRANSMISSION C40102 CLUTCH HOUSING [GST TYPE]
CLUTCH TRANSMISSION C40103 CLUTCH HOUSING [HST TYPE]
CLUTCH TRANSMISSION C40301 HST (SERVO PISTON) [COMPONENT PARTS] [HST TYPE]
CLUTCH TRANSMISSION C40302 HST (SERVO REGULATOR) [COMPONENT PARTS] [HST TYPE]
CLUTCH TRANSMISSION C40303 HST (HI-LO AND SOLENOID VALVE) [COMPONENT PARTS] [HST TYPE]
CLUTCH TRANSMISSION C40304 HST (RELIEF VALVE) [COMPONENT PARTS] [HST TYPE]
CLUTCH TRANSMISSION C40305 HST (CYLINDER BLOCK) [COMPONENT PARTS] [HST TYPE]
CLUTCH TRANSMISSION C40306 HST (CHARGE PUMP) [COMPONENT PARTS] [HST TYPE]
CLUTCH TRANSMISSION C40307 HST (INPUT SHAFT) [COMPONENT PARTS] [HST TYPE] ## NOTE ORDER BY REF.No.05
CLUTCH TRANSMISSION C40500 GST VALVE [GST TYPE]
CLUTCH TRANSMISSION C40600 GST VALVE [COMPONENT PARTS] [GST TYPE]
CLUTCH TRANSMISSION C41002 MID CASE [GST TYPE]
CLUTCH TRANSMISSION C41003 MID CASE [HST TYPE]
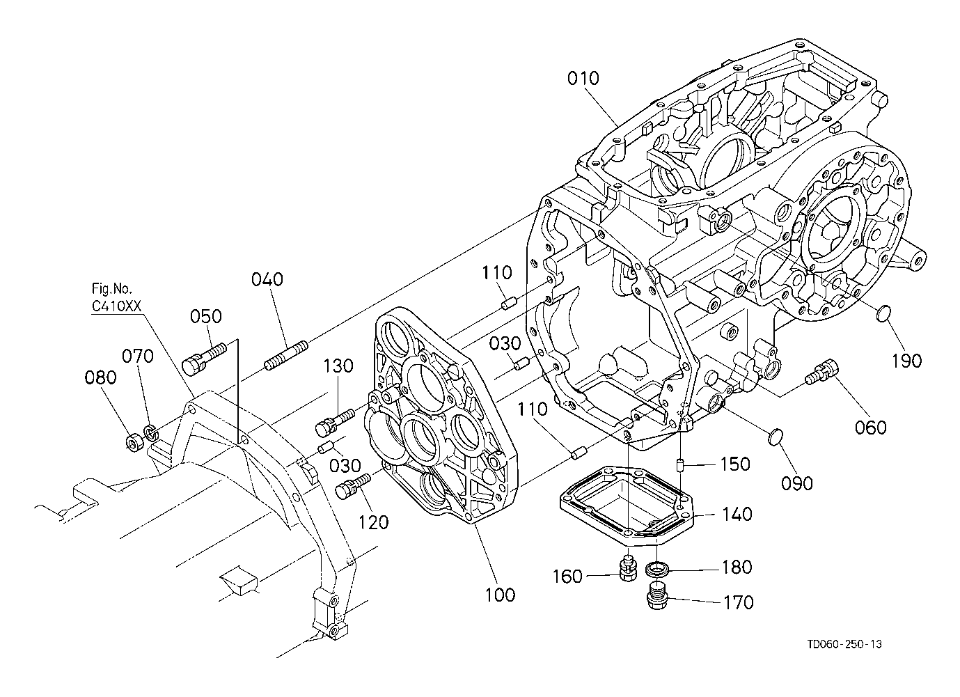
CLUTCH TRANSMISSION C42003 TRANSMISSION CASE [GST TYPE]
CLUTCH TRANSMISSION C42004 TRANSMISSION CASE [HST TYPE]
CLUTCH TRANSMISSION D10100 MAIN SHAFT [EXCEPT HST TYPE]
CLUTCH TRANSMISSION D10502 COUNTERSHAFT [GST TYPE]
CLUTCH TRANSMISSION D10503 COUNTERSHAFT [HST TYPE]
CLUTCH TRANSMISSION D11000 HYDRAULIC CLUTCH [GST TYPE]
CLUTCH TRANSMISSION D11502 SHUTTLE SHAFT [GST TYPE]
CLUTCH TRANSMISSION D11602 REVERSE SHAFT [GST TYPE]
CLUTCH TRANSMISSION D11702 RANGE GEAR SHAFT [GST TYPE]
CLUTCH TRANSMISSION D11703 RANGE GEAR SHAFT [HST TYPE]
CLUTCH TRANSMISSION D12502 SPIRAL BEVEL PINION [GST TYPE]
CLUTCH TRANSMISSION D12503 SPIRAL BEVEL PINION [HST TYPE]
CLUTCH TRANSMISSION D12700 REAR DIFFERENTIAL
CLUTCH TRANSMISSION D13001 PTO COUNTERSHAFT [EXCEPT HST TYPE]
CLUTCH TRANSMISSION D13002 PTO COUNTERSHAFT [HST TYPE]
CLUTCH TRANSMISSION D13202 PTO CLUTCH [EXCEPT HST TYPE]
CLUTCH TRANSMISSION D13203 PTO CLUTCH [HST TYPE]
CLUTCH TRANSMISSION D13300 PTO CLUTCH [COMPONENT PARTS]
CLUTCH TRANSMISSION D13502 PTO SHAFT
COOLING WATER SYSTEM A40102 FAN
COOLING WATER SYSTEM A41002 WATER PIPE
COOLING WATER SYSTEM A42002 RADIATOR
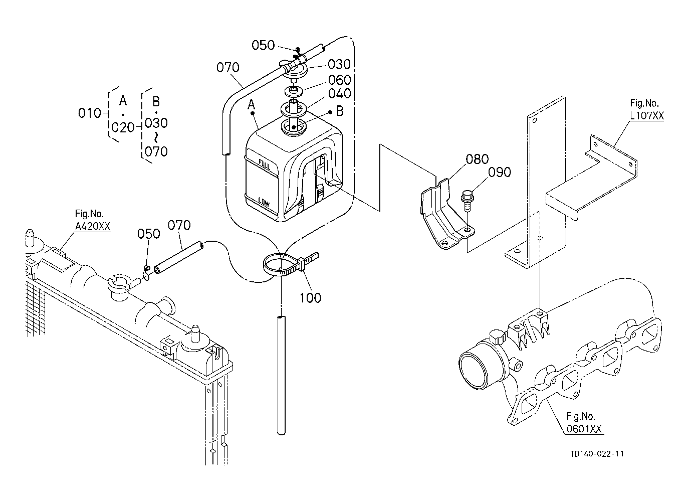
COOLING WATER SYSTEM A43002 RESERVE TANK
ELECTRICAL SYSTEM A51503 ALTERNATOR [GST TYPE]
ELECTRICAL SYSTEM A51504 ALTERNATOR [HST TYPE]
ELECTRICAL SYSTEM A52002 ALTERNATOR [COMPONENT PARTS]
ELECTRICAL SYSTEM A52502 STARTER
ELECTRICAL SYSTEM A53002 STARTER [COMPONENT PARTS](NOT FOR REMAN UNIT)
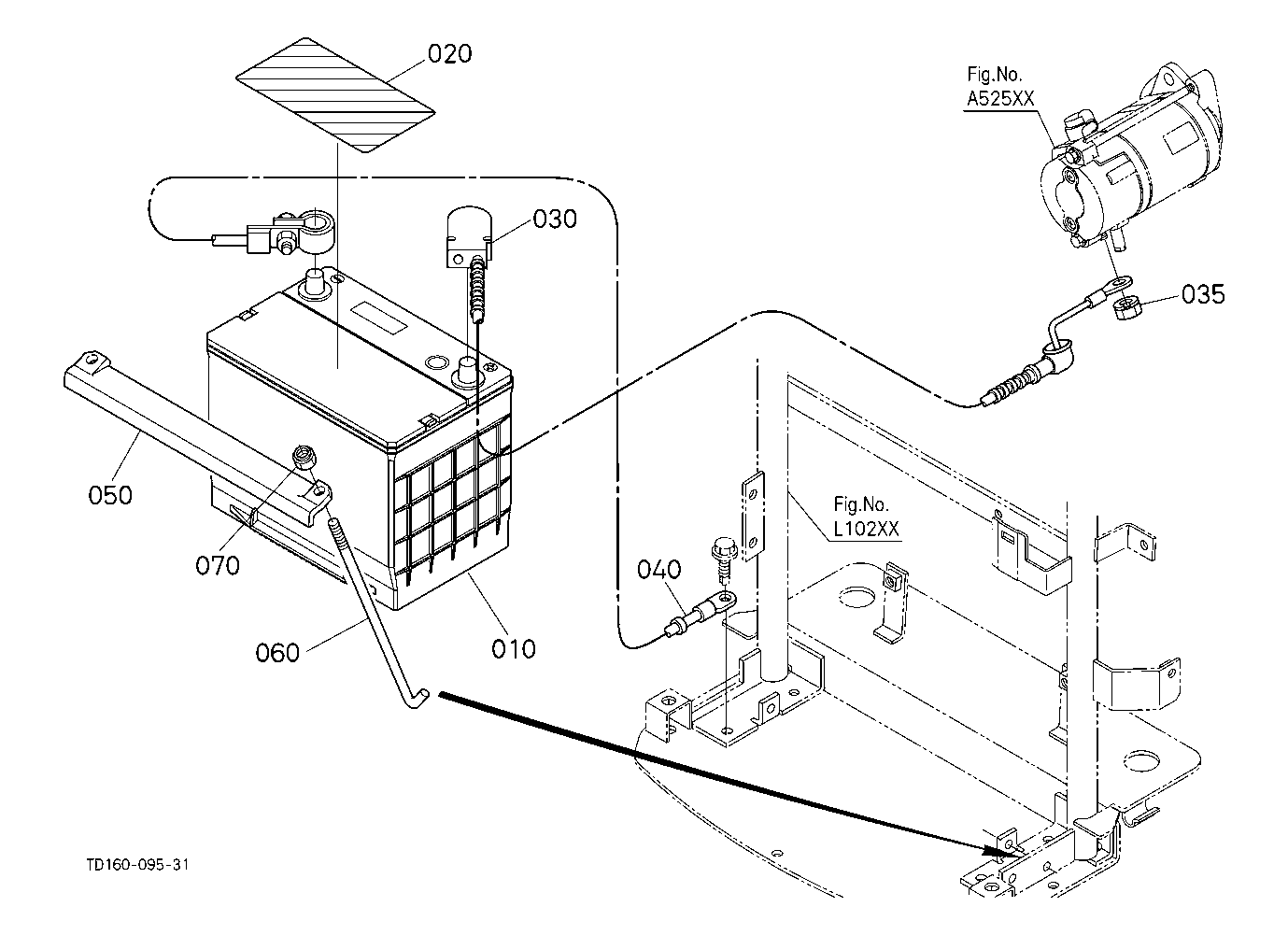
ELECTRICAL SYSTEM A53502 BATTERY
ELECTRICAL SYSTEM B10202 SWITCH RELAY [GST TYPE]
ELECTRICAL SYSTEM B10203 SWITCH RELAY [HST TYPE]
ELECTRICAL SYSTEM B10305 SWITCH SENSOR (ENGINE) [EXCEPT HST TYPE]
ELECTRICAL SYSTEM B10306 SWITCH SENSOR (ENGINE) [HST TYPE]
ELECTRICAL SYSTEM B10401 SWITCH (FRONT) [EXCEPT HST TYPE]
ELECTRICAL SYSTEM B10402 SWITCH (FRONT) [HST TYPE]
ELECTRICAL SYSTEM B10502 SWITCH (REAR) [GST TYPE]
ELECTRICAL SYSTEM B10503 SWITCH (REAR) [HST TYPE]
ELECTRICAL SYSTEM B11500 PANEL BOARD
ELECTRICAL SYSTEM B12000 PANEL BOARD [COMPONENT PARTS]
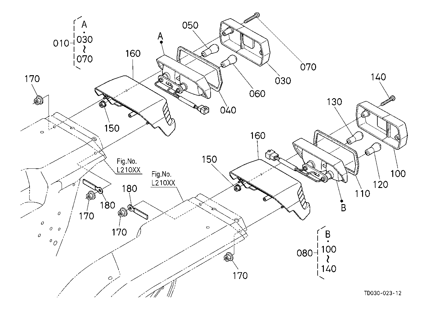
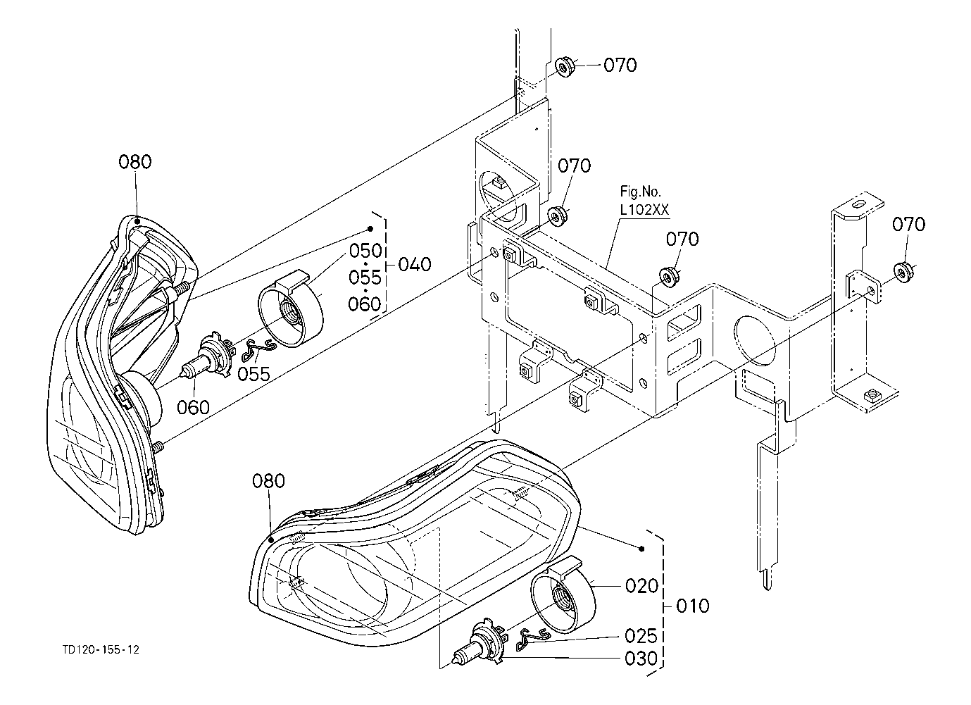
ELECTRICAL SYSTEM B30300 HEAD LIGHT
ELECTRICAL SYSTEM B31100 HAZARD LIGHT
ELECTRICAL SYSTEM B31200 REAR LAMP
ELECTRICAL SYSTEM B50302 ELECTRICAL WIRING (FRONT) [GST TYPE]
ELECTRICAL SYSTEM B50303 ELECTRICAL WIRING (FRONT) [HST TYPE]
ELECTRICAL SYSTEM B50702 ELECTRICAL WIRING (REAR) [GST TYPE]
ELECTRICAL SYSTEM B50703 ELECTRICAL WIRING (REAR) [HST TYPE]
ENGINE 000103 CRANKCASE ## NOTE ORDER BY REF.No.010,Fig.No.010502 REF.No.120 and 125 NEW PARTS.
ENGINE 000200 OIL PAN
ENGINE 000303 CYLINDER HEAD
ENGINE 000402 GEAR CASE
ENGINE 000500 HEAD COVER
ENGINE 010002 MAIN BEARING CASE
ENGINE 010100 CAMSHAFT AND IDLE GEAR SHAFT
ENGINE 010203 PISTON AND CRANKSHAFT
ENGINE 010301 FLYWHEEL [EXCEPT HST TYPE]
ENGINE 010302 FLYWHEEL [HST TYPE]
ENGINE 010502 FUEL CAMSHAFT
ENGINE 010602 BALANCER
ENGINE 020000 ENGINE STOP LEVER
ENGINE 020200 INJECTION PUMP
ENGINE 020400 GOVERNOR
ENGINE 020501 SPEED CONTROL PLATE [EXCEPT HST TYPE]
ENGINE 020502 SPEED CONTROL PLATE [HST TYPE]
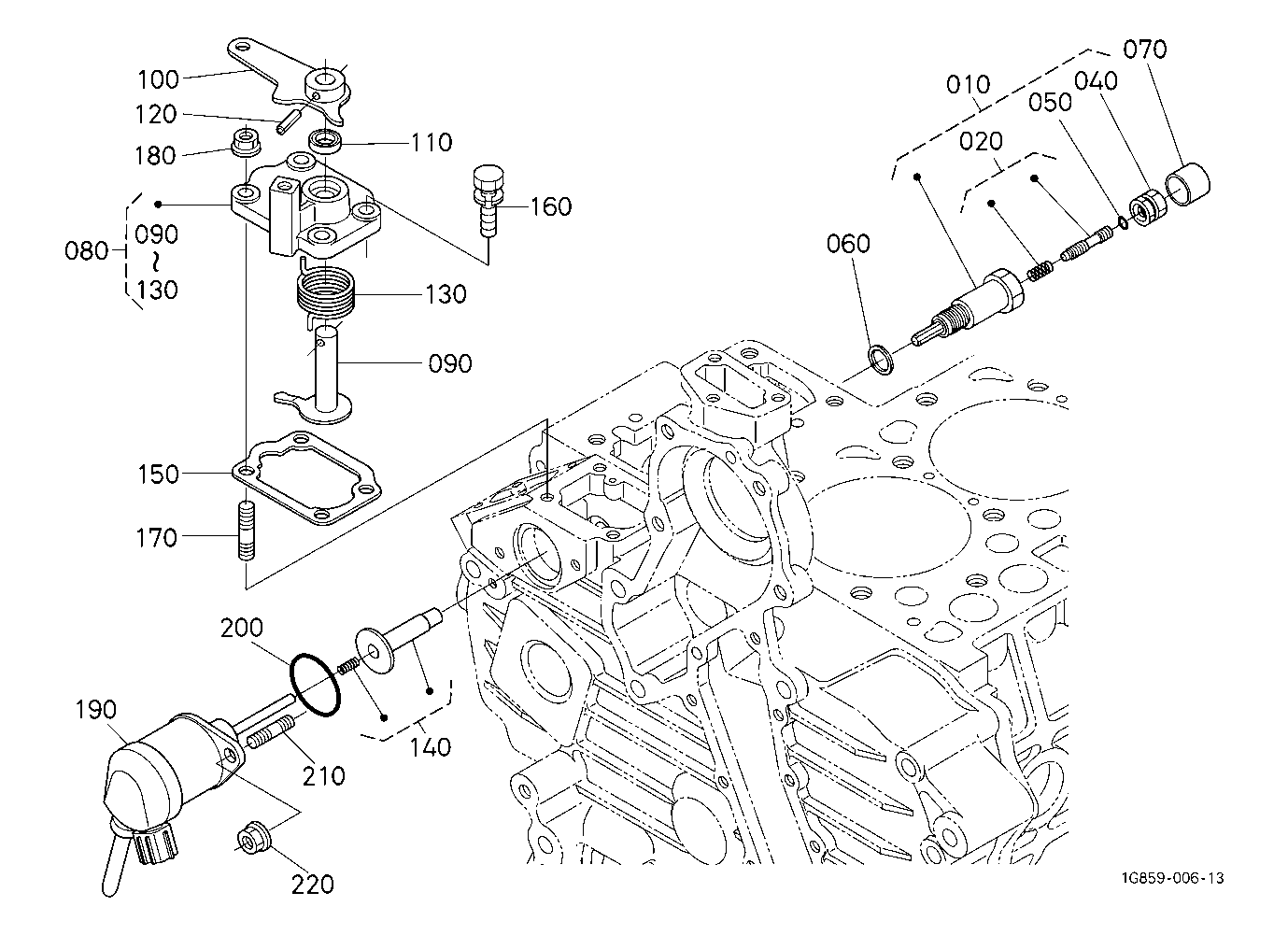
ENGINE 020600 NOZZLE HOLDER AND GLOW PLUG
ENGINE 020700 NOZZLE HOLDER [COMPONENT PARTS]
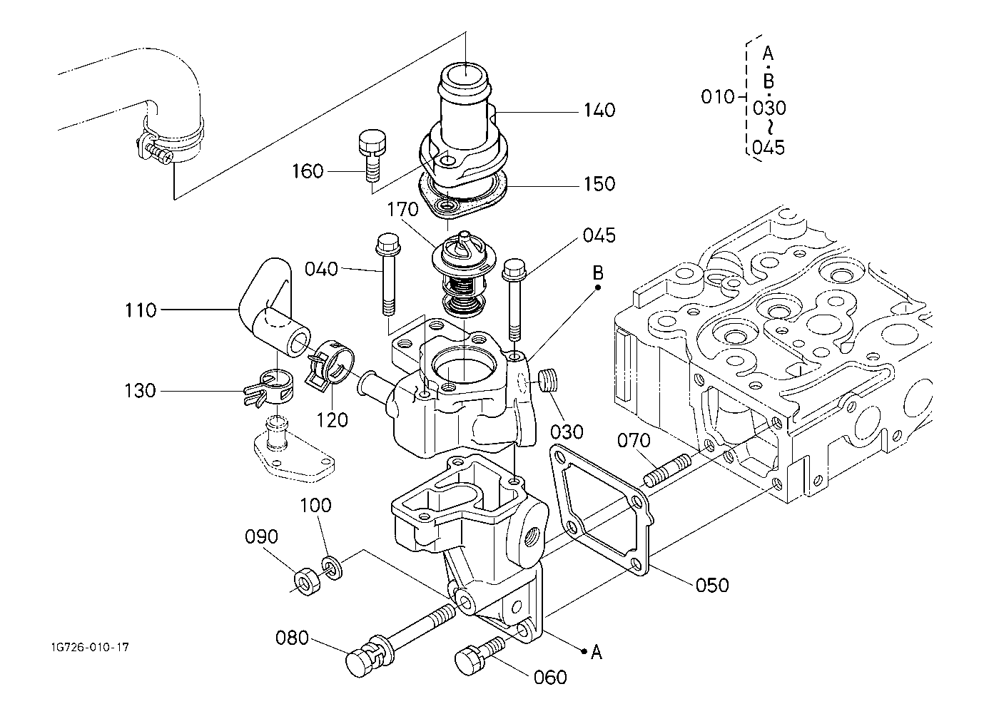
ENGINE 050000 WATER FLANGE AND THERMOSTAT
ENGINE 050100 WATER PUMP
ENGINE 060000 VALVE AND ROCKER ARM
ENGINE 060100 INLET MANIFOLD
ENGINE 060302 EXHAUST MANIFOLD MUFFLER
ENGINE 060402 AIR CLEANER
ENGINE 090102 UPPER GASKET KIT
ENGINE 090202 LOWER GASKET KIT
ENGINE A01002 ACCELERATOR LEVER
ENGINE A02002 ACCELERATOR PEDAL [GST TYPE]
ENGINE A05001 AUTO THROTTLE ADVANCE(ATA) LEVER [HST TYPE] [OLD]
ENGINE A05002 AUTO THROTTLE ADVANCE(ATA) LEVER [HST TYPE] [NEW]
ENGINE A05500 AUTO THROTTLE CAM [HST TYPE]
FREQUENTLY USED ITEMS 000002 FREQUENTLY USED ITEMS
FRONT AXLE CHASSIS F10503 FRONT AXLE FRAME
FRONT AXLE CHASSIS F12001 PROPELLER SHAFT [EXCEPT HST TYPE]
FRONT AXLE CHASSIS F12002 PROPELLER SHAFT [HST TYPE]
FRONT AXLE CHASSIS F12202 FRONT WHEEL DRIVE SHAFT
FRONT AXLE CHASSIS F12502 FRONT DIFFERENTIAL CASE
FRONT AXLE CHASSIS F12702 BEVEL GEAR (FRONT)
FRONT AXLE CHASSIS F13002 DIFFERENTIAL(FRONT)
FRONT AXLE CHASSIS F14102 FRONT AXLE CASE LH
FRONT AXLE CHASSIS F14202 FRONT AXLE CASE RH
FRONT AXLE CHASSIS F14502 DIFFERENTIAL GEAR SHAFT
FRONT AXLE CHASSIS F15002 FRONT AXLE
FRONT REAR TIRE P10101 FRONT WHEEL (8.3-16)
FRONT REAR TIRE P10102 FRONT WHEEL (10.0-16.5)
FRONT REAR TIRE P10105 FRONT WHEEL (2710.50-15)
FRONT REAR TIRE P10106 FRONT WHEEL (2912.5-15)
FRONT REAR TIRE P10107 FRONT WHEEL (305R343LSW)
FRONT REAR TIRE P11001 REAR WHEEL (14.9-24R1)
FRONT REAR TIRE P11002 REAR WHEEL (17.5L-24R4)
FRONT REAR TIRE P11004 REAR WHEEL (4418-20)
FRONT REAR TIRE P11005 REAR WHEEL (41 18LL16.1)
FRONT REAR TIRE P11006 REAR WHEEL (610R470LSW)
FUEL SYSTEM A10102 FUEL TANK
FUEL SYSTEM A11002 FUEL PIPE
FUEL SYSTEM A12002 FUEL FILTER
FUEL SYSTEM A13000 FUEL FILTER [COMPONENT PARTS]
HOOD BONNET L10102 FRONT GRILLE [OLD]
HOOD BONNET L10103 FRONT GRILLE [NEW]
HOOD BONNET L10203 HOOD (BONNET) FRONT SUPPORT [EXCEPT HST TYPE]
HOOD BONNET L10204 HOOD (BONNET) FRONT SUPPORT [HST TYPE]
HOOD BONNET L10502 HOOD(BONNET)
HOOD BONNET L10702 HOOD (BONNET) LINK
HOOD BONNET L11503 SIDE COVER LOWER [OLD] ## S.No.; TO 60034
HOOD BONNET L11504 SIDE COVER LOWER [NEW] ## S.No.; FROM 60035
HOOD BONNET L13002 SHUTTER PLATE
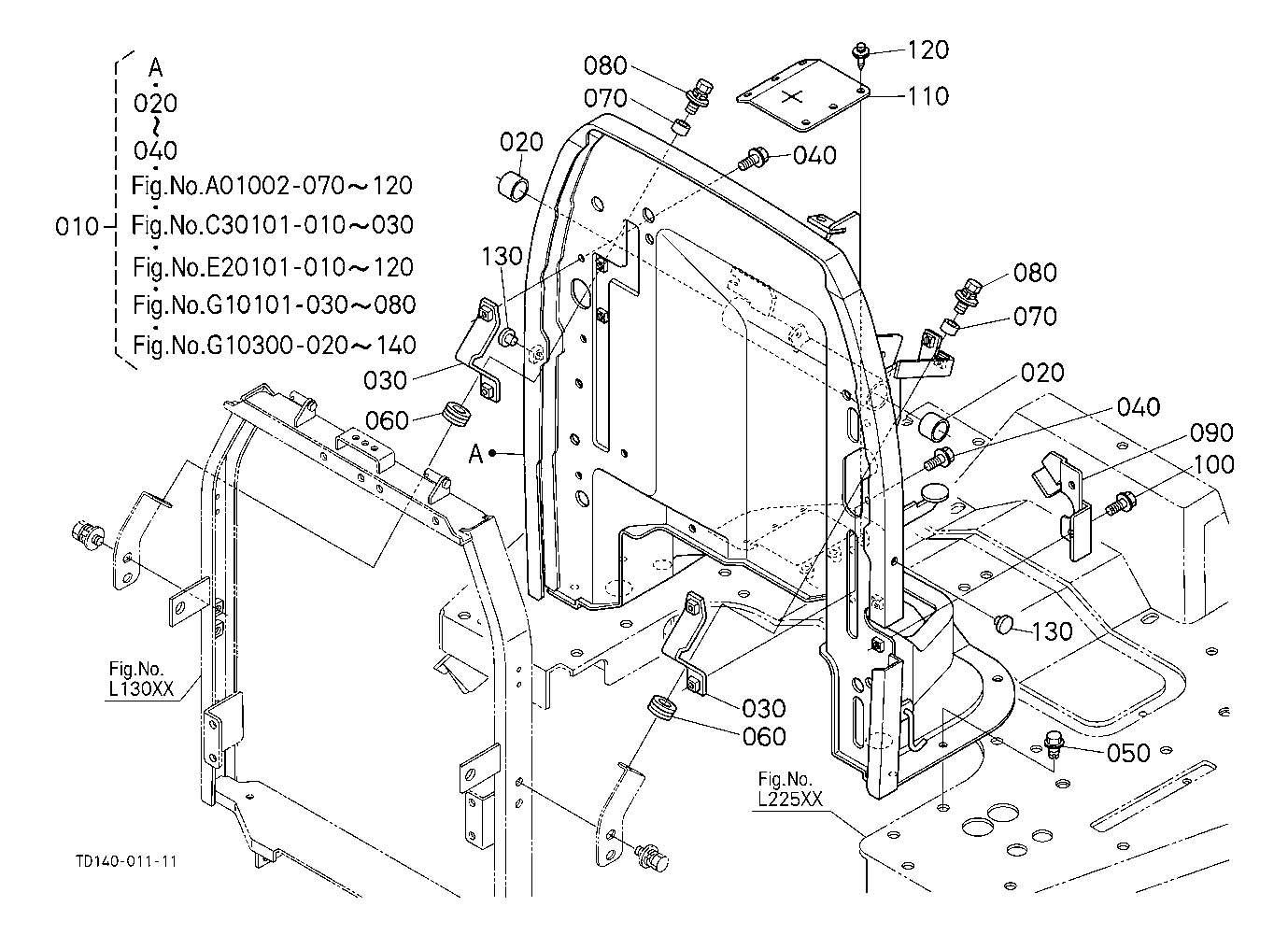
HOOD BONNET L20103 PANEL FRAME [EXCEPT HST TYPE]
HOOD BONNET L20104 PANEL FRAME [HST TYPE]
HOOD BONNET L20301 PANEL COVER [EXCEPT HST TYPE]
HOOD BONNET L20302 PANEL COVER [HST TYPE]
HOOD BONNET L21000 FENDER
HOOD BONNET L21503 FLOOR SHEET [EXCEPT HST TYPE]
HOOD BONNET L21504 FLOOR SHEET [HST TYPE]
HOOD BONNET L21800 HYDRAULIC CONTROL LEVER GUIDE
HOOD BONNET L21900 SEAT
HOOD BONNET L22000 SEAT [COMPONENT PARTS]
HOOD BONNET L22100 SEAT SUSPENSION [COMPONENT PARTS]
HOOD BONNET L22503 STEP
HOOD BONNET L22504 STEP [HST TYPE]
HOOD BONNET L50100 SMV EMBLEM
HYDRAULIC SYSTEM H12000 HYDRAULIC PUMP
HYDRAULIC SYSTEM H12500 HYDRAULIC PUMP [COMPONENT PARTS]
HYDRAULIC SYSTEM H14501 REGULATER VALVE [EXCEPT HST TYPE] [OLD]
HYDRAULIC SYSTEM H14502 REGULATER VALVE [EXCEPT HST TYPE] [NEW]
HYDRAULIC SYSTEM H20501 HYDRAULIC OIL LINE(INLET) [EXCEPT HST TYPE]
HYDRAULIC SYSTEM H20502 HYDRAULIC OIL LINE(INLET) [HST TYPE]
HYDRAULIC SYSTEM H21003 HYDRAULIC OIL LINE (DELIVERY) [EXCEPT HST TYPE]
HYDRAULIC SYSTEM H21004 HYDRAULIC OIL LINE (DELIVERY) [HST TYPE]
HYDRAULIC SYSTEM H21501 HYDRAULIC OIL LINE (PS)[EXCEPT TYPE HST]
HYDRAULIC SYSTEM H21502 HYDRAULIC OIL LINE (PS) [HST TYPE]
HYDRAULIC SYSTEM H23002 PTO HYDRAULIC OIL LINE [GST TYPE]
HYDRAULIC SYSTEM H23003 PTO HYDRAULIC OIL LINE [HST TYPE]
HYDRAULIC SYSTEM H23301 HYDRAULIC OIL LINE (RETURN) [EXCEPT HST TYPE]
HYDRAULIC SYSTEM H23302 HYDRAULIC OIL LINE (RETURN) [HST TYPE]
HYDRAULIC SYSTEM H24502 OIL COOLER [HST TYPE]
HYDRAULIC SYSTEM H28002 LOADER VALVE
HYDRAULIC SYSTEM H28100 HYDRAUL IC OUTLET [COMPONENT PARTS]
HYDRAULIC SYSTEM H28302 LOADER VALVE LEVER
HYDRAULIC SYSTEM H28402 LOADER LOCK LEVER
HYDRAULIC SYSTEM H28500 HYDRAULIC LOADER PIPE
HYDRAULIC SYSTEM H30502 TRANSMISSION CASE COVER
HYDRAULIC SYSTEM H32000 LIFT ARM ## NOTE ORDER BY REF.No.070,090 and 140 NEW PARTS.
HYDRAULIC SYSTEM H33000 FEED BACK LEVER
HYDRAULIC SYSTEM H40500 CONTROL VALVE
HYDRAULIC SYSTEM H41000 CONTROL VALVE [COMPONENT PARTS]
HYDRAULIC SYSTEM H43200 CHECK VALVE SAFETY VALVE
HYDRAULIC SYSTEM H43500 3P CYLINDER RH
HYDRAULIC SYSTEM H43600 3P CYLINDER LH
HYDRAULIC SYSTEM H43701 3P CYLINDER [COMPONENT PARTS] [OLD] ## S.No.; TO 50452
HYDRAULIC SYSTEM H43702 3P CYLINDER [COMPONENT PARTS] [NEW] ## S.No.; FROM 50453
HYDRAULIC SYSTEM H44002 POSITION CONTROL LEVER
LABELS R10504 LABEL 1 (FRONT) [GST TYPE]
LABELS R10505 LABEL 1 (FRONT) [HST TYPE]
LABELS R11001 LABEL 2 (PANEL) [EXCEPT HST TYPE]
LABELS R11002 LABEL 2 (PANEL) [HST TYPE]
LABELS R11504 LABEL 3 (REAR) [GST TYPE]
LABELS R11505 LABEL 3 (REAR) [HST TYPE]
OPTION T10400 MUFFLER KIT (W G No.L8368) [OPTION]
OPTION T10500 WORKING LIGHT KIT (W G No.L8329) [OPTION]
OPTION T11501 CREEP SPEED KIT (GEAR SHAFT) (W G No.L8324) [OPTION]
OPTION T11502 CREEP SPEED KIT (SHIFT FORK) (W G No.L8324) [OPTION]
OPTION T11503 CREEP SPEED KIT (SHIFT LEVER) (W G No.L8324) [MANUAL T M TYPE] [OPTION]
OPTION T11504 CREEP SPEED KIT (SHIFT LEVER) (W G No.L8324) [GST TYPE] [OPTION]
OPTION T11600 MID PTO GEAR KIT (W G No.L8316) [OPTION]
OPTION T11701 MID PTO (CASE) (W G No.L8338) [OPTION]
OPTION T11702 MID PTO (SHIFT FORK) (W G No.L8338) [OPTION]
OPTION T11703 MID PTO (LEVER) (W G No.L8338) [MANUAL T M TYPE] [OPTION]
OPTION T11704 MID PTO (LEVER) (W G No.L8338) [EXCEPT MANUAL T M TYPE] [OPTION]
OPTION T12100 FRONT BUMPER (W G No.MX8068) [OPTION]
OPTION T12602 HYDRAULIC PIPE KIT (W G No.L8349) [OPTION]
OPTION T13002 POSITION CONTROL LEVER (WITH DRAFT) (W G No.L8317) [OPTION]
OPTION T13300 POSITION CONTROL LINK (WITH DRAFT) (W G No.L8317) [OPTION]
OPTION T13502 DRAFT CONTROL LEVER (WITH DRAFT) (W G No.L8317) [OPTION]
OPTION T13900 LUBRICATION KIT (HYDRAULIC PUMP DRIVE GEAR) [OPTION]
OPTION T14000 TOP LINK HOLDER (WITH DRAFT) (W G No.L8317) [OPTION]
OPTION T14400 SWINGING DRAWBAR (W G No.L8325) [OPTION]
OPTION T14901 AUXILIARY CONTROL VALVE (W G No.L8308) [OPTION]
OPTION T14902 AUXILIARY CONTROL VALVE (FLOATING) (W G No.L8309) [OPTION]
OPTION T15000 AUXILIARY CONTROL VALVE BASE (W G No.L8335) [OPTION]
OPTION T15102 AUXILIARY CONTROL VALVE LEVER (1ST) (W G No.L8335) [OPTION]
OPTION T15104 AUXILIARY CONTROL VALVE LEVER (2ND) (W G No.L8336) [OPTION]
OPTION T15106 AUXILIARY CONTROL VALVE LEVER (3RD) (W G No.L8337) [OPTION]
OPTION T15502 AUXILIARY CONTROL VALVE COUPLER (1ST) (W G No.L8335) [OPTION]
OPTION T15504 AUXILIARY CONTROL VALVE COUPLER (2ND) (W G No.L8336) [OPTION]
OPTION T15506 AUXILIARY CONTROL VALVE COUPLER (3RD) (W G No.L8337) [OPTION]
REAR AXLE BRAKE E15100 REAR AXLE LH
REAR AXLE BRAKE E15200 REAR AXLE RH
REAR AXLE BRAKE E16101 BRAKE LH [EXCEPT GST TYPE]
REAR AXLE BRAKE E16102 BRAKE LH [GST TYPE]
REAR AXLE BRAKE E16200 BRAKE RH
REAR AXLE BRAKE E16502 BRAKE ROD 1 (BRAKE PEDAL)
REAR AXLE BRAKE E17001 BRAKE ROD 2 (BRAKE CAM) [EXCEPT HST TYPE]
REAR AXLE BRAKE E17002 BRAKE ROD 2 (BRAKE CAM) [HST TYPE]
REAR AXLE BRAKE E20101 BRAKE PEDAL [EXCEPT HST TYPE]
REAR AXLE BRAKE E20102 BRAKE PEDAL [HST TYPE]
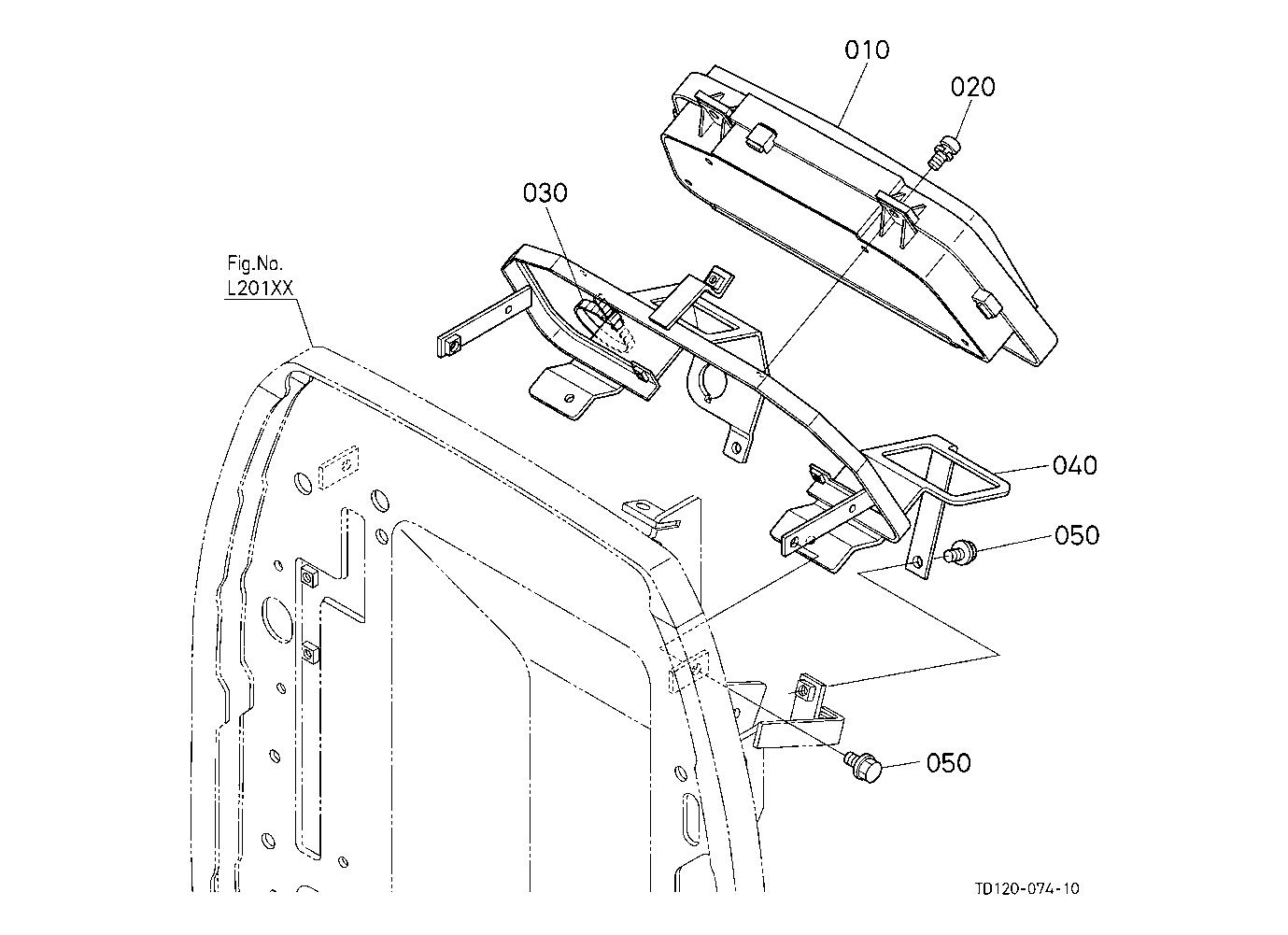
ROPS L30102 ROPS
SPEED CHANGE SHIFT FORK SHIFT LEVER D20102 MAIN GEAR SHIFT FORK [GST TYPE]
SPEED CHANGE SHIFT FORK SHIFT LEVER D20502 SHUTTLE SHIFT FORK [GST TYPE]
SPEED CHANGE SHIFT FORK SHIFT LEVER D21702 RANGE GEAR SHIFT FORK [GST TYPE]
SPEED CHANGE SHIFT FORK SHIFT LEVER D21703 RANGE GEAR SHIFT FORK [HST TYPE]
SPEED CHANGE SHIFT FORK SHIFT LEVER D22502 DIFFERENTIAL LOCK SHIFT FORK [EXCEPT HST TYPE]
SPEED CHANGE SHIFT FORK SHIFT LEVER D22503 DIFFERENTIAL LOCK SHIFT FORK [HST TYPE]
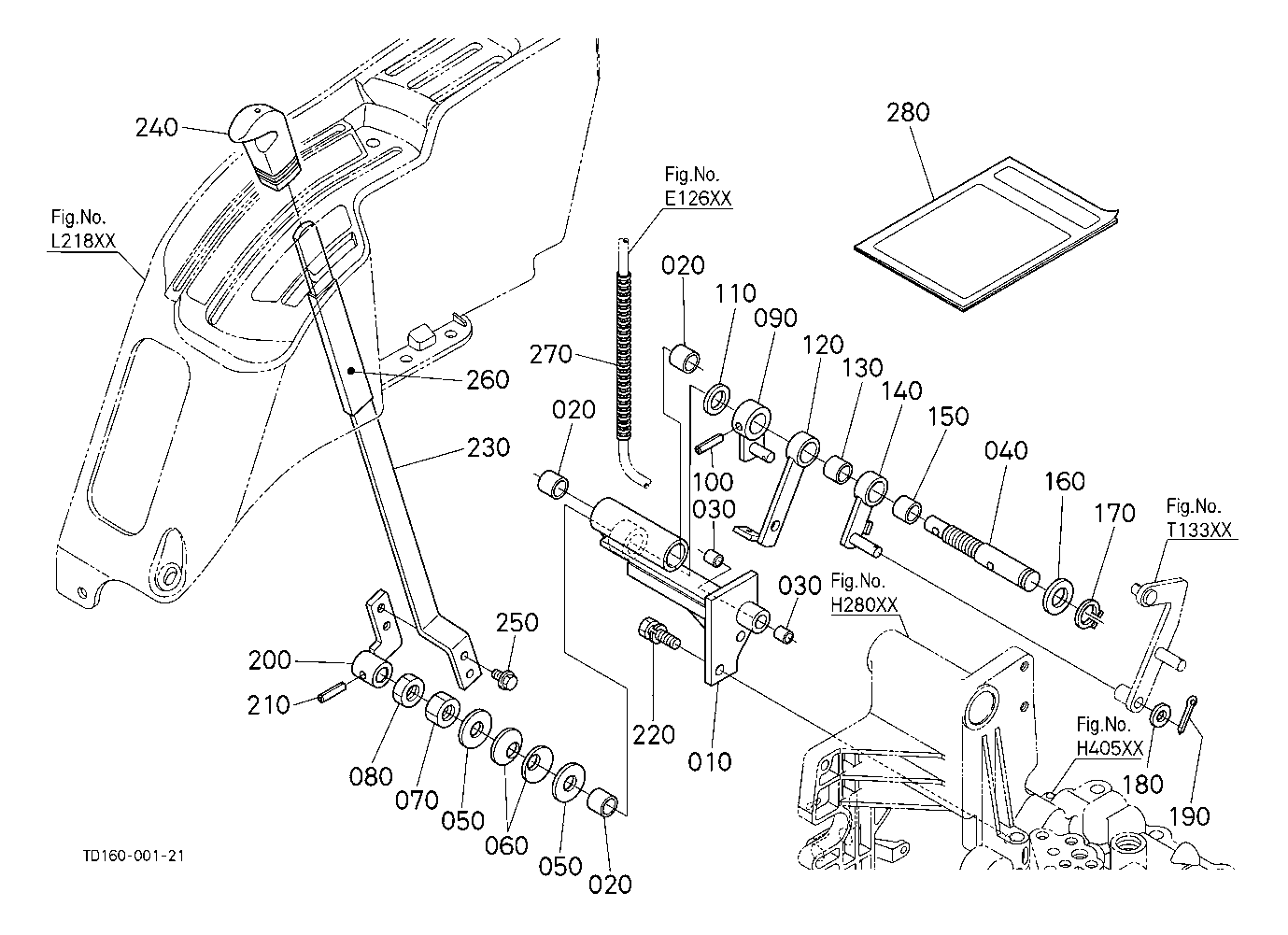
SPEED CHANGE SHIFT FORK SHIFT LEVER E10102 MAIN GEAR SHIFT LEVER [GST TYPE]
SPEED CHANGE SHIFT FORK SHIFT LEVER E10502 SHUTTLE SHIFT LEVER [EXCEPT HST TYPE]
SPEED CHANGE SHIFT FORK SHIFT LEVER E10600 CRUISE CONTROL LEVER [HST TYPE]
SPEED CHANGE SHIFT FORK SHIFT LEVER E10900 SPEED CONTROL PEDAL [HST TYPE]
SPEED CHANGE SHIFT FORK SHIFT LEVER E11003 RANGE GEAR SHIFT LEVER [HST TYPE]
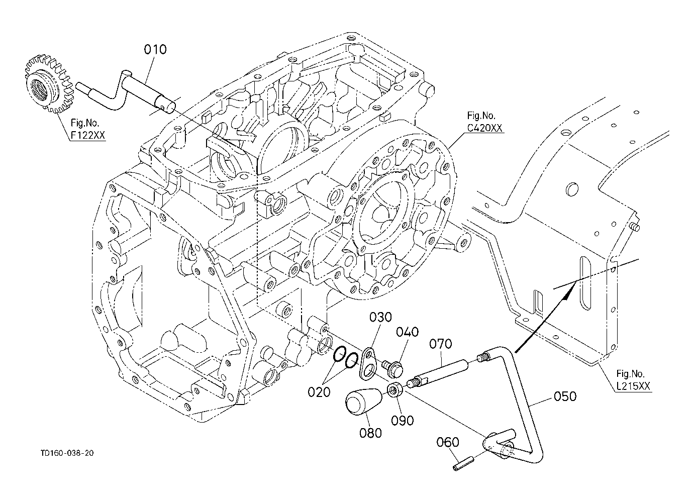
SPEED CHANGE SHIFT FORK SHIFT LEVER E12601 PTO CLUTCH CONTROL LEVER [EXCEPT HST TYPE]
SPEED CHANGE SHIFT FORK SHIFT LEVER E12602 PTO CLUTCH CONTROL LEVER [HST TYPE]
SPEED CHANGE SHIFT FORK SHIFT LEVER E12700 PTO CLUTCH VALVE [COMPONENT PARTS]
SPEED CHANGE SHIFT FORK SHIFT LEVER E14002 FRONT WHEEL DRIVE LEVER
STEERING G10101 STEERING HANDLE [EXCEPT HST TYPE]
STEERING G10102 STEERING HANDLE [HST TYPE]
STEERING G10300 TILT PEDAL
STEERING G10502 UNIVERSAL JOINT
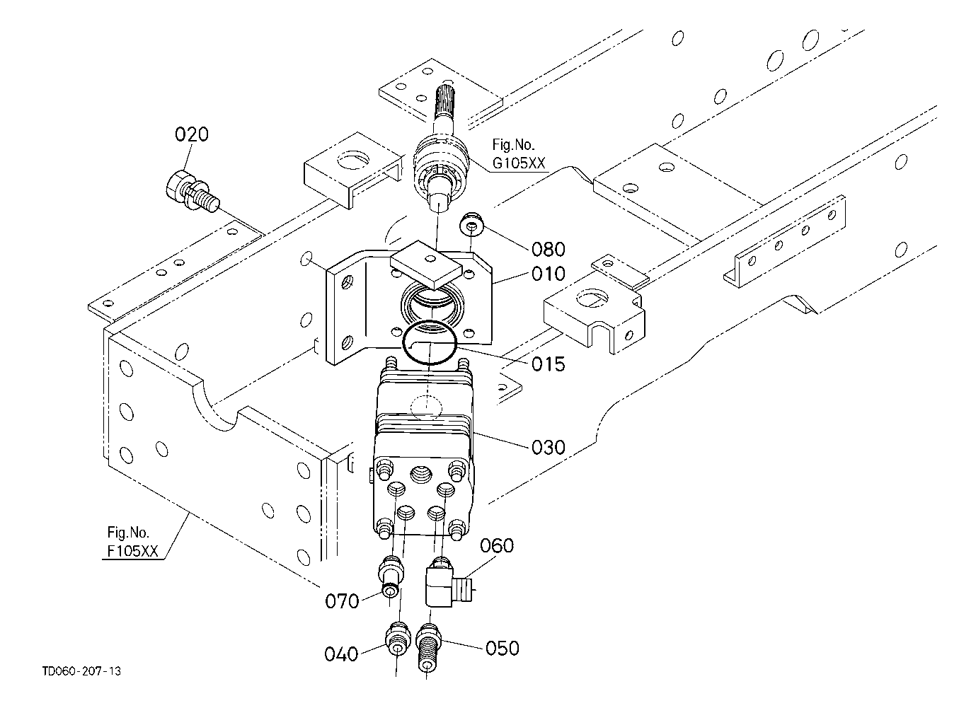
STEERING G11000 STEERING CONTROLLER
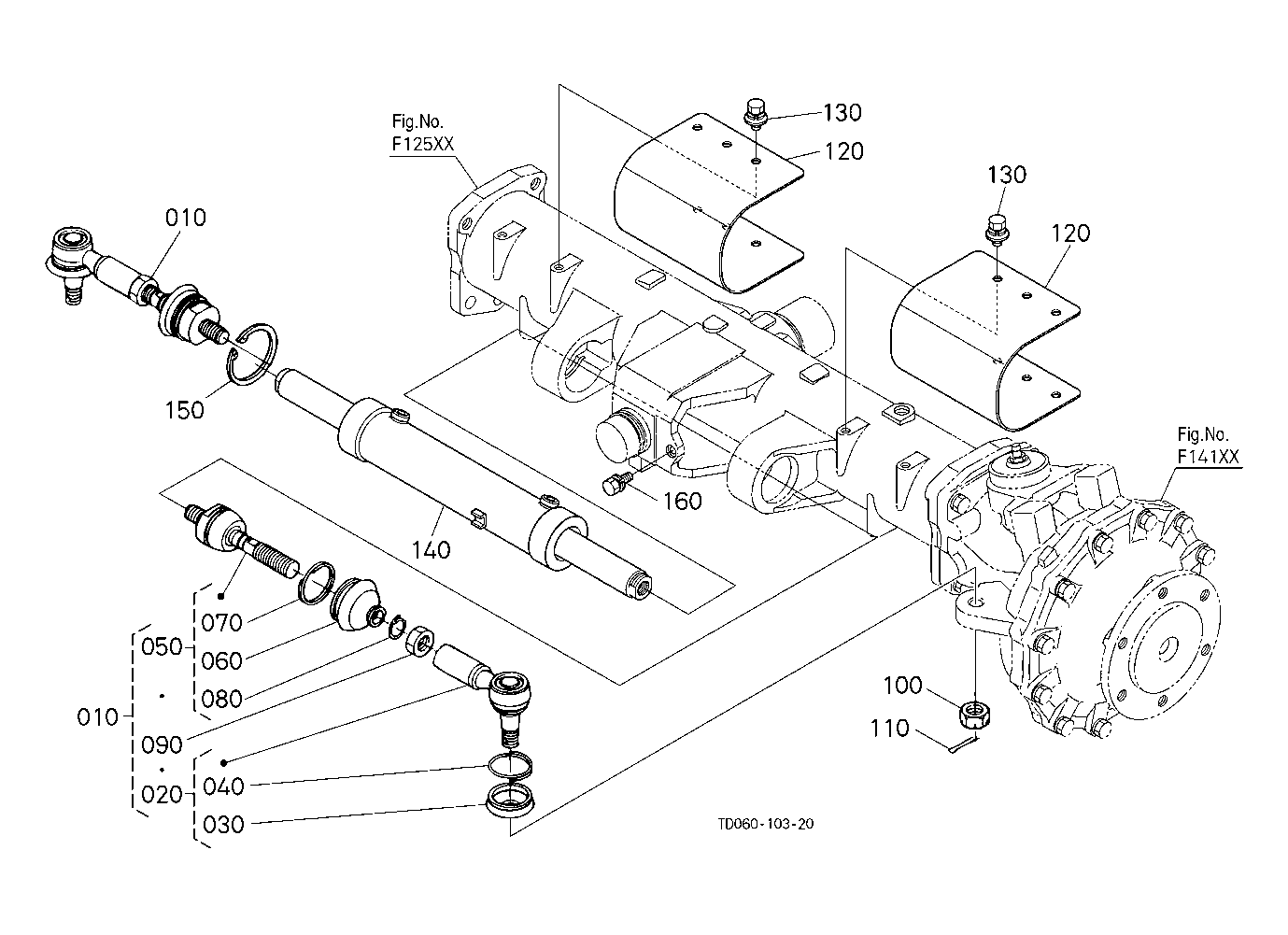
STEERING G18002 STEERING CYLINDER
STEERING G18500 STEERING CYLINDER [COMPONENT PARTS]
USEFUL PRODUCTS 000010 USEFUL PRODUCTS
New to our website?Creating an account is easy and quick!
Our website uses cookie to give you the best online shopping experience. More information Accept