Model added to My Equipment.Click 'My Equipment' to view updated list.
3-POINT LINKAGE DRAWBAR HITCH K10500 TOP LINK BRACKET
3-POINT LINKAGE DRAWBAR HITCH K11000 TOP LINK
3-POINT LINKAGE DRAWBAR HITCH K12500 LOWER LINK
3-POINT LINKAGE DRAWBAR HITCH K13300 STABILIZER
3-POINT LINKAGE DRAWBAR HITCH K14000 LIFT ROD RH
3-POINT LINKAGE DRAWBAR HITCH K14300 LIFT ROD LH
3-POINT LINKAGE DRAWBAR HITCH L11000 SWINGING DRAWBAR
3-POINT LINKAGE DRAWBAR HITCH L17000 PTO SHAFT PROTECTOR
ACCESSORIES T11000 ACCESSORIES AND SERVICE PARTS ## NOTE ORDER BY REF.No.010 NEW PART
CLUTCH TRANSMISSION C11003 CLUTCH HOUSING
CLUTCH TRANSMISSION C11100 SHUTTLE VALVE
CLUTCH TRANSMISSION C11302 SHUTTLE GEAR CASE
CLUTCH TRANSMISSION C12500 SHIFT COVER
CLUTCH TRANSMISSION C14001 TRANSMISSION CASE [OLD] ## S.No.; TO 52728 [NOTE ORDER BY Fig.No.C14002 R
CLUTCH TRANSMISSION C14002 TRANSMISSION CASE [NEW] ## S.No.;C FROM 52729
CLUTCH TRANSMISSION C15000 TRANSMISSION CASE REAR COVER
CLUTCH TRANSMISSION C17000 REAR AXLE CASE
CLUTCH TRANSMISSION C22000 DAMPER DISK
CLUTCH TRANSMISSION C24002 CLUTCH PEDAL
CLUTCH TRANSMISSION C26500 VALVE LEVER (CLUTCH)
CLUTCH TRANSMISSION D21502 INPUT SHAFT
CLUTCH TRANSMISSION D21600 SHUTTLE CLUTCH [COMPONENT PARTS]
CLUTCH TRANSMISSION D21702 SHUTTLE SHAFT
CLUTCH TRANSMISSION D22502 FIRST SHAFT [OLD] ## S.No.;C TO 80199
CLUTCH TRANSMISSION D22503 FIRST SHAFT [NEW] ## S.No.;C FROM 80200
CLUTCH TRANSMISSION D22702 SECOND SHAFT
CLUTCH TRANSMISSION D23500 THIRD SHAFT
CLUTCH TRANSMISSION D25300 DRIVE SHAFT (MIDDLE REAR)
CLUTCH TRANSMISSION D26000 BEVEL GEAR
CLUTCH TRANSMISSION D26200 DIFFERENTIAL REAR ## NOTE ORDER BY REF.No.170 NEW PART.
CLUTCH TRANSMISSION D26502 PTO PROPELLER SHAFT
CLUTCH TRANSMISSION D26602 PTO CLUTCH
CLUTCH TRANSMISSION D26702 PTO CLUTCH [COMPONENT PARTS]
CLUTCH TRANSMISSION D26800 PTO CLUTCH VALVE
CLUTCH TRANSMISSION D27500 PTO SHAFT
COOLING WATER SYSTEM A41001 FAN [OLD] ## S.No.; TO 54787
COOLING WATER SYSTEM A41002 FAN [NEW] ## S.No.;C FROM 80001
COOLING WATER SYSTEM A42000 WATER PIPE
COOLING WATER SYSTEM A43000 RADIATOR
COOLING WATER SYSTEM A45000 RESERVE TANK
ELECTRICAL SYSTEM A54001 ALTERNATOR [OLD] ## S.No.; TO 54787
ELECTRICAL SYSTEM A54002 ALTERNATOR [NEW] ## S.No.; FROM 80001
ELECTRICAL SYSTEM A55000 ALTERNATOR [COMPONENT PARTS]
ELECTRICAL SYSTEM A56000 STARTER
ELECTRICAL SYSTEM A57000 STARTER [COMPONENT PARTS]
ELECTRICAL SYSTEM A58000 BATTERY
ELECTRICAL SYSTEM B02000 SWITCH SENSOR (FRONT)
ELECTRICAL SYSTEM B03003 SWITCH SENSOR (REAR)
ELECTRICAL SYSTEM B10500 SWITCH (PANEL BOARD) ## NOTE ORDER BY REF.No.030 NEW PART and Fig.No.M15501
ELECTRICAL SYSTEM B13000 RELAY
ELECTRICAL SYSTEM B14002 PANEL BOARD ## NOTE ORDER BY ALL PARTS OF Fig.No.U11500.
ELECTRICAL SYSTEM B32000 HEAD LIGHT
ELECTRICAL SYSTEM B32100 HEAD LIGHT [COMPONENT PARTS]
ELECTRICAL SYSTEM B33500 HAZARD LIGHT TAIL LIGHT
ELECTRICAL SYSTEM B37000 TRAILER SOCKET
ELECTRICAL SYSTEM B51003 ELECTRICAL WIRING (FRONT)
ELECTRICAL SYSTEM B51503 ELECTRICAL WIRING (REAR)
ENGINE 300002 CRANK CASE [NEW] ## S.No.;C FROM 8U0001
ENGINE 301002 OIL PAN [NEW] ## S.No.; FROM 8U0001
ENGINE 302002 CYLINDER HEAD [NEW] ## S.No.;C FROM 8U0001
ENGINE 303002 INLET VALVE AND EXHAUST VALVE [NEW] ## S.No.;C FROM 8U0001
ENGINE 304002 ROCKER ARM SHAFT [NEW] ## S.No.; FROM 8U0001
ENGINE 305002 HEAD COVER [NEW] ## S.No.; FROM 8U0001
ENGINE 310002 FRONT COVER [NEW] ## S.No.; FROM 8U0001
ENGINE 311002 PISTON AND CRANKSHAFT [NEW] ## S.No.;C FROM 8U0001
ENGINE 312002 CAMSHAFT AND IDLE GEAR SHAFT [NEW] ## S.No.;C FROM 8U0001
ENGINE 313002 BALANCER [NEW] ## S.No.;C FROM 8U0001
ENGINE 315004 FLYWHEEL [NEW] ## S.No.;C FROM 8U0001
ENGINE 320002 INJECTION PUMP UNIT [NEW] ## S.No.;C FROM 8U0001 [NOTE INJECTION PUMP KIT COMPONENTS i
ENGINE 321002 INJECTION PUMP [NEW] ## S.No.; FROM 8U0001
ENGINE 322002 FUEL CAMSHAFT [NEW] ## S.No.;C FROM 8U0001
ENGINE 323002 GOVERNOR [NEW] ## S.No.;C FROM 8U0001
ENGINE 324002 FORK LEVER (GOVERNOR) [NEW] ## S.No.; FROM 8U0001
ENGINE 325002 RESTRICTION ADJUSTING BOLT [NEW] ## S.No.;C FROM 8U0001
ENGINE 331002 FUEL FILTER [NEW] ## S.No.;C FROM 8U0001
ENGINE 340002 NOZZLE HOLDER AND GLOW PLUG [NEW] ## S.No.;C FROM 8U0001
ENGINE 345002 INJECTION PIPE [NEW] ## S.No.; FROM 8U0001
ENGINE 360002 WATER FLANGE AND THERMOSTAT [NEW] ## S.No.; FROM 8U0001
ENGINE 361002 WATER PUMP [NEW] ## S.No.; FROM 8U0001
ENGINE 371002 INLET MANIFOLD [NEW] ## S.No.;C FROM 8U0001
ENGINE 372002 EXHAUST MANIFOLD [NEW] ## S.No.; FROM 8U0001
ENGINE 372200 EGR VALVE AND EGR COOLER [NEW] ## S.No.;C FROM 8U0001
ENGINE 372300 EGR COOLER [NEW] ## S.No.; FROM 8U0001
ENGINE 372500 EGR WATER PIPING [NEW] ## S.No.; FROM 8U0001
ENGINE 372600 TURBO CHARGER [NEW] ## S.No.;C FROM 8U0001
ENGINE 373003 AIR CLEANER [OLD]
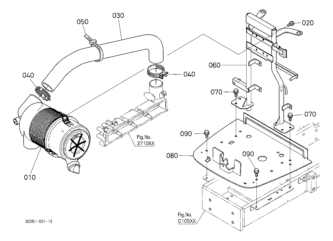
ENGINE 373004 AIR CLEANER [NEW] ## S.No.;C FROM 80001
ENGINE 373500 AIR CLEANER [COMPONENT PARTS]
ENGINE 374500 INLET PIPE (AIR CLEANER) [NEW] ## S.No.;C FROM 80001
ENGINE 375001 MUFFLER [OLD] ## S.No.; TO 54787 [NOTE ORDER BY REF.No.010015 and 016 NEW PARTS.]
ENGINE 375002 MUFFLER [NEW] ## S.No.;C FROM 80001
ENGINE 380000 OIL PIPE (TURBO CHARGER) [NEW] ## S.No.;C FROM 8U0001
ENGINE 382002 OIL COOLER [NEW] ## S.No.; FROM 8U0001
ENGINE 391002 UPPER GASKET KIT [NEW] ## S.No.;C FROM 8U0001
ENGINE 392002 LOWER GASKET KIT [NEW] ## S.No.;C FROM 8U0001
ENGINE A01000 HAND ACCELERATOR LEVER
ENGINE A03000 ACCELERATOR PEDAL
FREQUENTLY USED ITEMS 000000 FREQUENTLY USED ITEMS
FREQUENTLY USED ITEMS 000001 FILTER AND FLUID CAPACITY
FRONT AXLE CHASSIS G10502 FRONT AXLE FRAME
FRONT AXLE CHASSIS G11002 FRONT AXLE BRACKET
FRONT AXLE CHASSIS G14000 FRONT PROPELLER SHAFT
FRONT AXLE CHASSIS G15000 FRONT DIFFERENTIAL CASE
FRONT AXLE CHASSIS G16000 BEVEL GEAR (FRONT)
FRONT AXLE CHASSIS G17000 DIFFERENTIAL FRONT
FRONT AXLE CHASSIS G22100 BEVEL GEAR CASE RH
FRONT AXLE CHASSIS G22200 BEVEL GEAR CASE LH
FRONT AXLE CHASSIS G22300 FRONT AXLE CASE RH
FRONT AXLE CHASSIS G22400 FRONT AXLE CASE LH
FRONT AXLE CHASSIS G22800 DIFFERENTIAL GEAR SHAFT RH
FRONT AXLE CHASSIS G22900 DIFFERENTIAL GEAR SHAFT LH
FRONT AXLE CHASSIS G24100 FRONT AXLE RH
FRONT AXLE CHASSIS G24200 FRONT AXLE LH
FRONT REAR TIRE R11004 FRONT WHEEL (9.5-24)
FRONT REAR TIRE R12001 REAR WHEEL (14.9-28)
FRONT REAR TIRE R12002 REAR WHEEL (16.9-28)
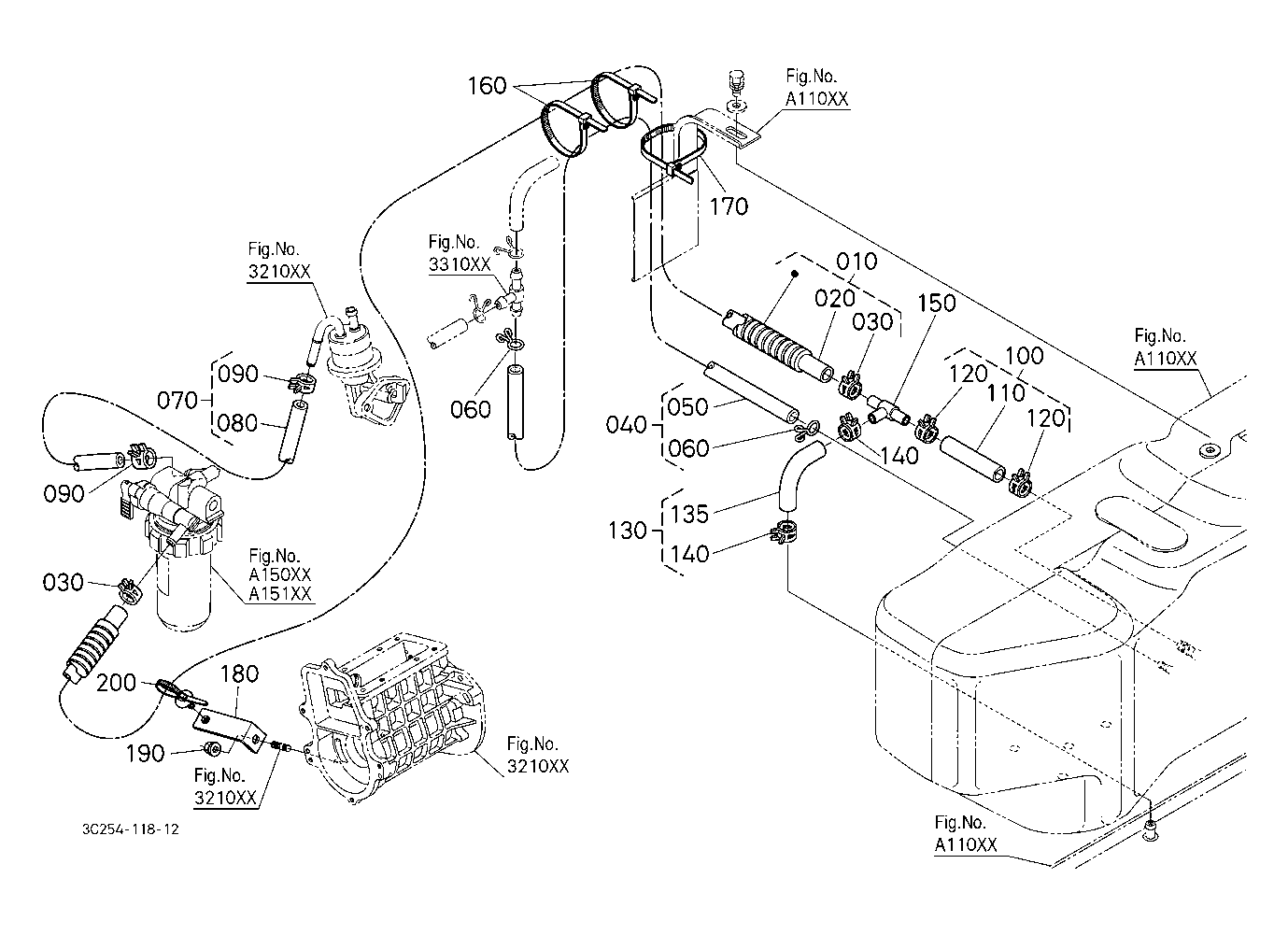
FUEL SYSTEM A11000 FUEL TANK ## NOTE ORDER BY REF.No.010,070 and Fig.No.A14003 REF.No.100 to 150 NEW
FUEL SYSTEM A13500 FUEL FILLER
FUEL SYSTEM A14001 FUEL PIPE [OLD] ## S.No.; TO 54471
FUEL SYSTEM A14002 FUEL PIPE [OLD] ## S.No.;A 10997 to 11030,B 54472 to 54708,C 54472 to 54708
FUEL SYSTEM A14003 FUEL PIPE [NEW] ## S.No.;C FROM 54709
FUEL SYSTEM A15000 SEDIMENTER [OLD]
FUEL SYSTEM A15101 SEPARATOR [OLD]
FUEL SYSTEM A15102 SEPARATOR [NEW] ## S.No.; FROM 54709
FUEL SYSTEM A16000 SEPARATOR [COMPONENT PARTS]
FUEL SYSTEM A16101 SEPARATOR [COMPONENT PARTS] [OLD]
FUEL SYSTEM A16102 SEPARATOR [COMPONENT PARTS] [NEW] ## S.No.; FROM 54709
HOOD BONNET M11000 FRONT GRILLE
HOOD BONNET M12000 HOOD(BONNET) UPPER
HOOD BONNET M12100 HOOD(BONNET) UPPER(SOUND ABSORBER INSULATOR)
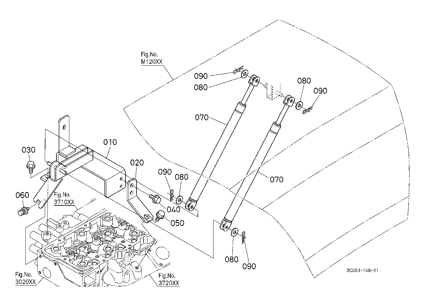
HOOD BONNET M12301 HOOD(BONNET) DAMPER [OLD] ## S.No.; TO 54787
HOOD BONNET M12302 HOOD(BONNET) DAMPER [NEW] ## S.No.;C FROM 80001
HOOD BONNET M12400 BONNET LOCK
HOOD BONNET M12700 HOOD(BONNET) SIDE COVER
HOOD BONNET M14002 BONNET SUPPORT
HOOD BONNET M15502 HOOD(BONNET) REAR ## NOTE ORDER BY REF.No.020 and Fig.No.B10500 REF.No.030 NEW PA
HOOD BONNET M22000 FENDER
HOOD BONNET M22302 FLOOR SHEET
HOOD BONNET M23300 STEP
HOOD BONNET M23402 AUXILIARY STEP
HOOD BONNET M23501 SEAT [OLD] ## S.No.; TO 50001 [NOTE ORDER BY Fig.No.M23502 REF.No.010,060 NEW PAR
HOOD BONNET M23502 SEAT [NEW] ## [ORDER BY REF.No.010 and 060 NEW PART.]
HOOD BONNET M23602 SEAT [COMPONENT PARTS]
HOOD BONNET M24000 SEAT SUSPENSION [COMPONENT PARTS]
HOOD BONNET M27000 TOOL BOX
HOOD BONNET M50000 SMV EMBLEM
HYDRAULIC SYSTEM J13000 HYDRAULIC PUMP
HYDRAULIC SYSTEM J13500 HYDRAULIC PUMP [COMPONENT PARTS]
HYDRAULIC SYSTEM J22001 HYDRAULIC PIPE (DELIVERY) [OLD] ## S.No.; TO 80491
HYDRAULIC SYSTEM J22002 HYDRAULIC PIPE (DELIVERY) [NEW] ## S.No.;C FROM 80492 [NOTE ORDER BY 060,010
HYDRAULIC SYSTEM J26501 OIL COOLER [OLD]
HYDRAULIC SYSTEM J26503 OIL COOLER [NEW] ## S.No.;C FROM 80001
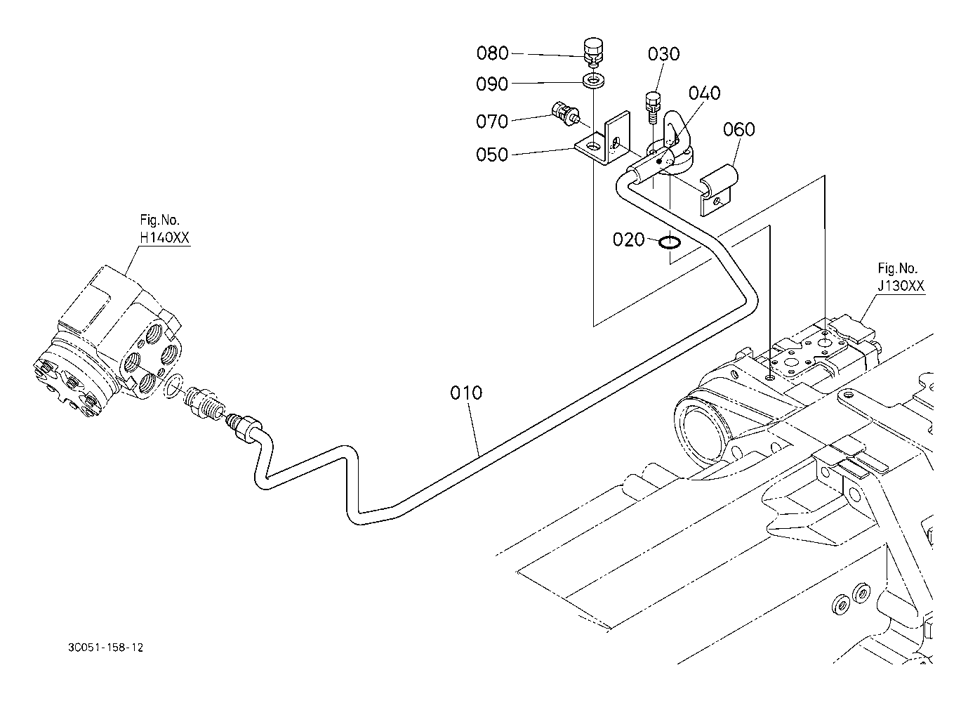
HYDRAULIC SYSTEM J27500 HYDRAULIC OIL LINE (STEERING PTO)
HYDRAULIC SYSTEM J27603 HYDRAULIC OIL LINE (SHUTTLE PTO) [OLD] ## S.No.; TO 54787
HYDRAULIC SYSTEM J27604 HYDRAULIC OIL LINE (SHUTTLE PTO) [NEW] ## S.No.;C FROM 80001
HYDRAULIC SYSTEM J28000 STEERING HOSE (DELIVERY)
HYDRAULIC SYSTEM J31000 HYDRAULIC CYLINDER
HYDRAULIC SYSTEM J31500 HYDRAULIC LIFT ARM
HYDRAULIC SYSTEM J31700 SAFETY VALVE RELIEF VALVE
HYDRAULIC SYSTEM J32300 LOWERING LOCK LEVER
HYDRAULIC SYSTEM J35500 CONTROL VALVE
HYDRAULIC SYSTEM J38000 DRAFT AND POSITION CONTROL LEVER
HYDRAULIC SYSTEM J38200 POSITION AND DRAFT SHAFT [OLD] ## S.No.;C TO 83045
HYDRAULIC SYSTEM J38201 POSITION AND DRAFT SHAFT [NEW] ## S.No.;C FROM 83046
HYDRAULIC SYSTEM J39200 FEED BACK LEVER
HYDRAULIC SYSTEM J44500 AUXILIARY CONTROL VALVE (SCD)
HYDRAULIC SYSTEM J44700 AUXILIARY CONTROL VALVE (SCD) [COMPONENT PARTS]
HYDRAULIC SYSTEM J45500 AUXILIARY CONTROL VALVE LEVER
HYDRAULIC SYSTEM J47100 3P-LIFT ASSIST CYLINDER LH
HYDRAULIC SYSTEM J47200 3P-LIFT ASSIST CYLINDER RH
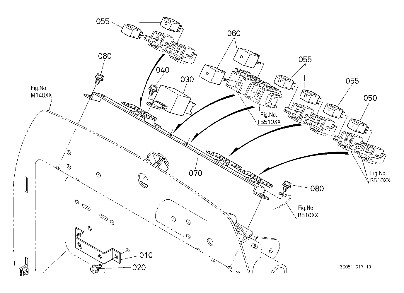
LABELS S12002 LABEL (FRONT)
LABELS S13003 LABEL (REAR)
OPTION U05000 UNDER MUFFLER KIT [OPTION]
OPTION U11000 ALTERNATOR KIT 1 (ALTERNATOR) [OLD] [OPTION] ## S.No.; TO 54787
OPTION U11001 ALTERNATOR KIT 1 (ALTERNATOR) [NEW] [OPTION] ## S.No.; FROM 80001
OPTION U11100 ALTERNATOR KIT 2 (WIRE HARNESS) [OLD] [OPTION] ## S.No.; TO 54787
OPTION U11101 ALTERNATOR KIT 2 (WIRE HARNESS) [NEW] [OPTION] ## S.No.; FROM 80001
OPTION U11300 ALTERNATOR [COMPONENT PARTS] [OPTION]
OPTION U11500 4WD INDICATOR [OLD] [OPTION] ## S.No.; TO 50821
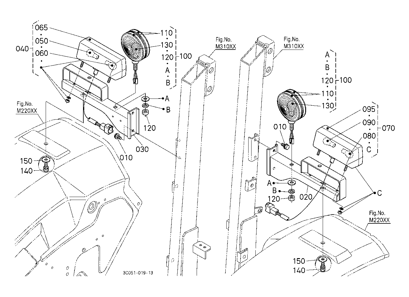
OPTION U13000 WORKING LIGHT KIT [OPTION]
OPTION U32000 CREEP SPEED KIT [OPTION]
OPTION U70001 AUXILIARY CONTROL VALVE KIT (SCD) [OPTION] ## NOTE REFER TO Fig.No.J44700 FOR COMPONEN
OPTION U70002 AUXILIARY CONTROL VALVE KIT (FD) [OPTION]
OPTION U70500 AUXILIARY CONTROL VALVE (FD) [COMPONENT PARTS] [OLD] [OPTION]%
OPTION U70501 AUXILIARY CONTROL VALVE (FD) [COMPONENT PARTS] [OPTION] [NEW] ## S.No.; FROM 83013
OPTION U71001 AUXILIARY CONTROL VALVE LEVER KIT (2ND) [OPTION]
OPTION U71002 AUXILIARY CONTROL VALVE LEVER KIT (3RD) [OPTION]
OPTION U90500 STEP SUPPORT KIT [OPTION] ## S.No.;C TO 80491
REAR AXLE BRAKE F20000 REAR AXLE
REAR AXLE BRAKE F20600 BRAKE RH
REAR AXLE BRAKE F20700 BRAKE LH
REAR AXLE BRAKE F21100 BRAKE ROD (BRAKE PEDAL)
REAR AXLE BRAKE F21200 BRAKE ROD (BRAKE CAM)
REAR AXLE BRAKE F23500 BRAKE PEDAL
ROPS M31000 ROPS
SPEED CHANGE SHIFT FORK SHIFT LEVER D41002 MAIN GEAR SHIFT FORK
SPEED CHANGE SHIFT FORK SHIFT LEVER D43000 RANGE GEAR SHIFT FORK
SPEED CHANGE SHIFT FORK SHIFT LEVER D47000 REAR DIFFERENTIAL LOCK SHIFT FORK
SPEED CHANGE SHIFT FORK SHIFT LEVER F11000 MAIN GEAR SHIFT LEVER
SPEED CHANGE SHIFT FORK SHIFT LEVER F11500 MAIN GEAR SHIFT ROD
SPEED CHANGE SHIFT FORK SHIFT LEVER F12502 SHUTTLE SHIFT LEVER
SPEED CHANGE SHIFT FORK SHIFT LEVER F13302 SHUTTLE CABLE
SPEED CHANGE SHIFT FORK SHIFT LEVER F13500 RANGE GEAR SHIFT LEVER
SPEED CHANGE SHIFT FORK SHIFT LEVER F14500 PTO CLUTCH LEVER
SPEED CHANGE SHIFT FORK SHIFT LEVER F15300 FRONT WHEEL DRIVE LEVER
STEERING H11002 STEERING HANDLE ## NOTE ORDER BY REF.No.010,070 to 085 and 095 NEW PARTS.
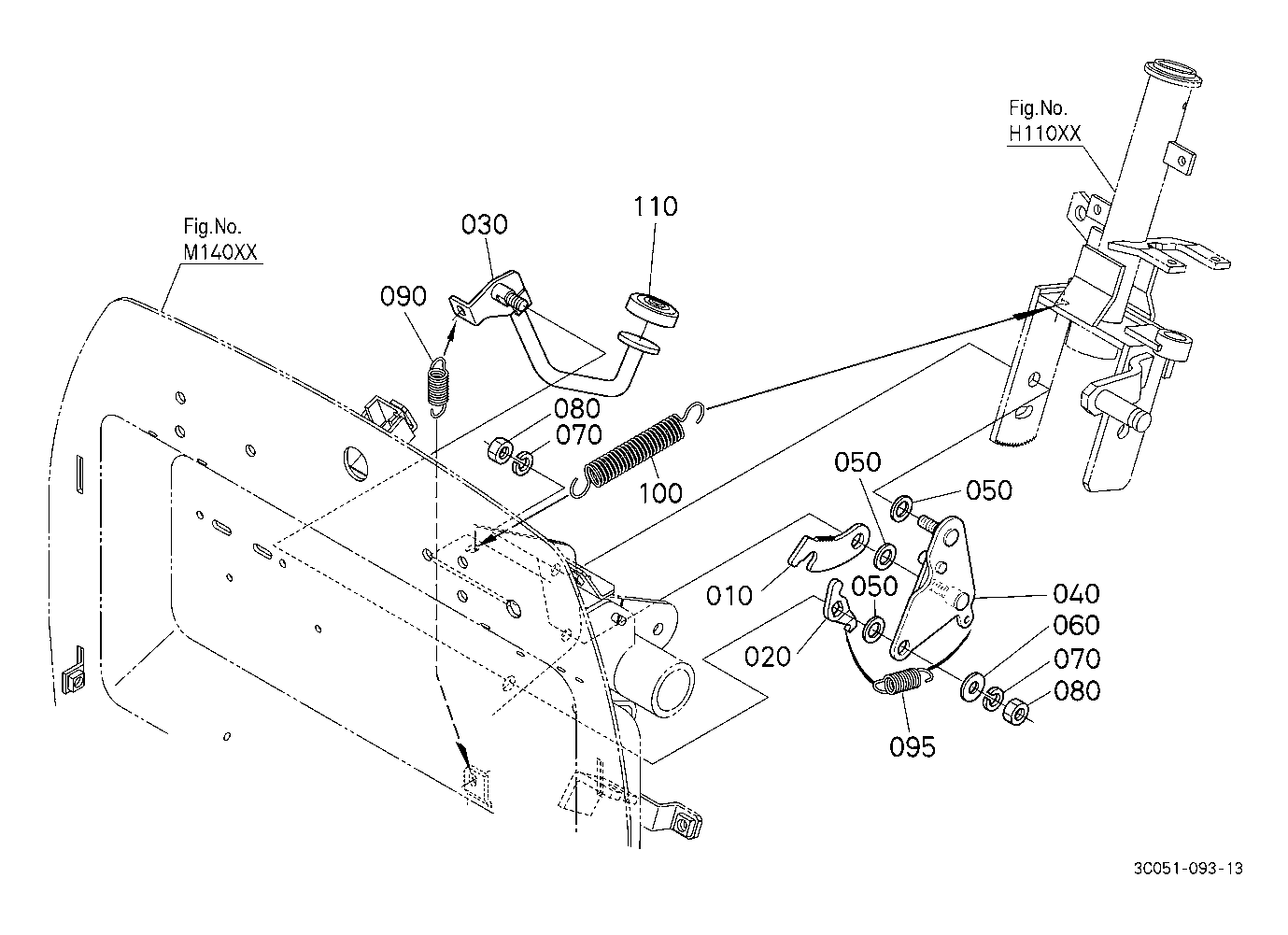
STEERING H12000 TILT PEDAL
STEERING H13000 STEERING JOINT
STEERING H14000 STEERING CONTROLLER
STEERING H15000 STEERING CONTROLLER [COMPONENT PARTS]
STEERING H16002 TIE ROD STEERING CYLINDER
STEERING H16503 STEERING CYLINDER [COMPONENT PARTS]
USEFUL PRODUCTS 000010 USEFUL PRODUCTS
New to our website?Creating an account is easy and quick!
Our website uses cookie to give you the best online shopping experience. More information Accept