Model added to My Equipment.Click 'My Equipment' to view updated list.
ACCESSORIES T21900 ACCESSORIES AND SERVICE PARTS
BRAKE T10200 BRAKE
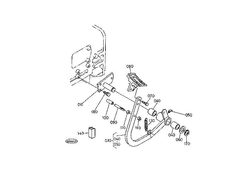
BRAKE T10301 BRAKE PEDAL W O CAB
BRAKE T10401 BRAKE OIL TANK W O CAB
BRAKE T10501 MASTER CYLINDER W O CAB [COMPONENT PARTS]
BRAKE T10701 PARKING BRAKE LEVER W O CAB
BRAKE T10800 PARKING BRAKE
CAB T21401 TOOL BOX W O CAB
CLUTCH T05900 CLUTCH
CLUTCH T06001 CLUTCH FORK W O CAB
CLUTCH T06101 CLUTCH PEDAL W O CAB
CLUTCH T06800 PTO CLUTCH
CLUTCH T06900 PTO CLUTCH BRAKE
CLUTCH T07001 PTO CLUTCH VALVE [A][CA] W O CAB
CLUTCH T07100 PTO CLUTCH VALVE [COMPONENT PARTS]
CLUTCH T07201 PTO CONTROL LEVER W O CAB
CLUTCH T07401 CLUTCH HOUSING 1 [A][CA]
CLUTCH T07500 CLUCTH HOUSING 2
COOLING WATER SYSTEM T03901 RADIATOR [W O CAB]
COOLING WATER SYSTEM T04000 WATER PIPE
ELECTRICAL SYSTEM T04100 STARTER AND DYNAMO
ELECTRICAL SYSTEM T04200 STARTER [COMPONENT PARTS]
ELECTRICAL SYSTEM T04301 DYNAMO W O CAB [COMPONENT PARTS]
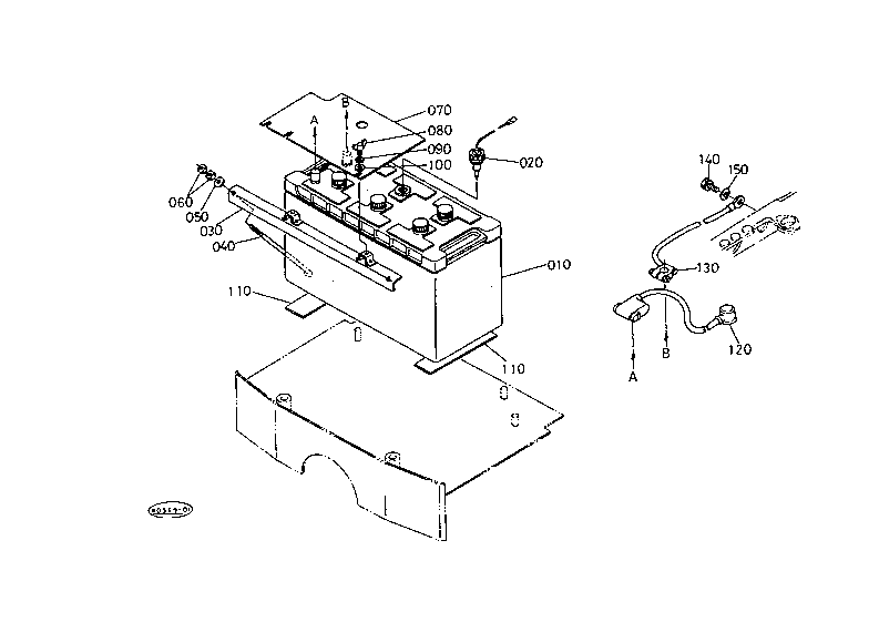
ELECTRICAL SYSTEM T04401 BATTERY [A][CA] W O CAB
ELECTRICAL SYSTEM T04501 PANEL BOARD W O CAB
ELECTRICAL SYSTEM T04600 PANEL BOARD W O CAB [COMPONENT PARTS]
ELECTRICAL SYSTEM T04701 SWITCH 1 W O CAB
ELECTRICAL SYSTEM T05000 LIGHT 1
ELECTRICAL SYSTEM T05101 LIGHT 2 W O CAB
ELECTRICAL SYSTEM T05300 WORKING LIGHT AND TRAILER HARNESS [AU] W O CAB [[A][CA] OPTION]
ELECTRICAL SYSTEM T05801 WIRE HARNESS [A][CA] W O CAB
ENGINE T00100 CRANKCASE
ENGINE T00200 BREATHER
ENGINE T00300 OIL PUMP
ENGINE T00401 OIL PAN [OLD TYPE] ## S.No. V4000-2A V4300-A; TO 65877
ENGINE T00402 OIL PAN [NEW TYPE] ## S.No. V4000-2A V4300-A; FROM 65878
ENGINE T00501 BALANCER [OLD TYPE] ## S.No. V4000-2A V4300-A; TO 65877
ENGINE T00502 BALANCER [NEW TYPE] ## S.No. V4000-2A V4300-A; FROM 65878
ENGINE T00600 PISTON AND CRANKSHAFT
ENGINE T00700 FLYWHEEL
ENGINE T00800 CYLINDER HEAD
ENGINE T00900 VALVE AND ROCKER ARM
ENGINE T01000 NOZZLE HOLDER AND FUEL PIPE
ENGINE T01100 FUEL FILTER [COMPONENT PARTS]
ENGINE T01200 NOZZLE HOLDER [COMPONENT PARTS]
ENGINE T01300 SEDIMENTER [COMPONENT PARTS]
ENGINE T01400 CYLINDER HEAD COVER
ENGINE T01500 INLET MANIFOLD
ENGINE T01600 AIR CLEANER (DOUBLE)
ENGINE T01700 AIR CLEANER (DOUBLE) [COMPONENT PARTS]
ENGINE T01801 AIR CLEANER SUPPORT W O CAB
ENGINE T01900 PRE-CLEANER [AU] [[A][CA] OPTION]
ENGINE T02001 MUFFLER
ENGINE T02002 UNDER MUFFLER [OPTION]
ENGINE T02100 CAMSHAFT
ENGINE T02200 GEAR CASE
ENGINE T02300 HYDRAULIC PUMP BASE
ENGINE T02400 THERMOSTAT
ENGINE T02500 WATER PUMP
ENGINE T02600 FAN
ENGINE T02700 INJECTION PUMP
ENGINE T02800 INJECTION PUMP [COMPONENT PARTS]
ENGINE T02900 FUEL PUMP
ENGINE T03000 FUEL PUMP [COMPONENT PARTS] ## S.No. V4000-2A V4300-A; TO 67564
ENGINE T03101 HAND ACCELERATOR W O CAB
ENGINE T03201 ACCELERATOR PEDAL W O CAB
ENGINE T03400 ENGINE STOP ROD W O CAB
FRONT AXLE AND FRONT WHEEL T10900 FRONT AXLE
FRONT AXLE AND FRONT WHEEL T11000 FRONT WHEEL HUB
FRONT AXLE AND FRONT WHEEL T12901 FRONT AXLE BRACKET
FUEL SYSTEM T03501 FUEL TANK W O CAB
FUEL SYSTEM T03600 SUB FUEL TANK W O CAB
FUEL SYSTEM T03700 FUEL TANK SUPPORT WITH CAB
FUEL SYSTEM T03801 FUEL PIPE W O CAB
HOOD(BONNET) AND CHASSIS T17200 HOOD FRONT (BONNET FRONT)
HOOD(BONNET) AND CHASSIS T17301 HOOD (BONNET) W O CAB
HOOD(BONNET) AND CHASSIS T17501 HOOD SIDE 1 (BONNET SIDE 1) [A][CA]
HOOD(BONNET) AND CHASSIS T17600 HOOD SIDE 2 (BONNET SIDE 2)
HOOD(BONNET) AND CHASSIS T17700 HOOD REAR (BONNET REAR) W O CAB
HOOD(BONNET) AND CHASSIS T17800 HANDRAIL W O CAB [OPTION]
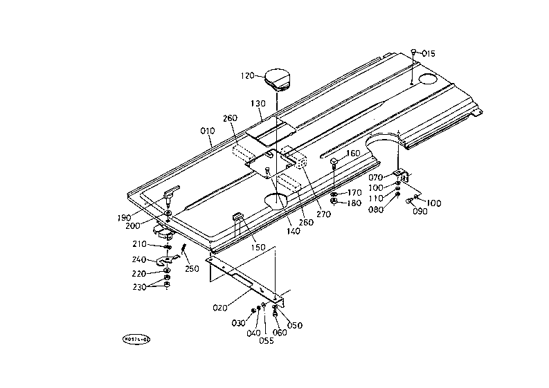
HOOD(BONNET) AND CHASSIS T17900 PANEL AND REAR COVER W O CAB
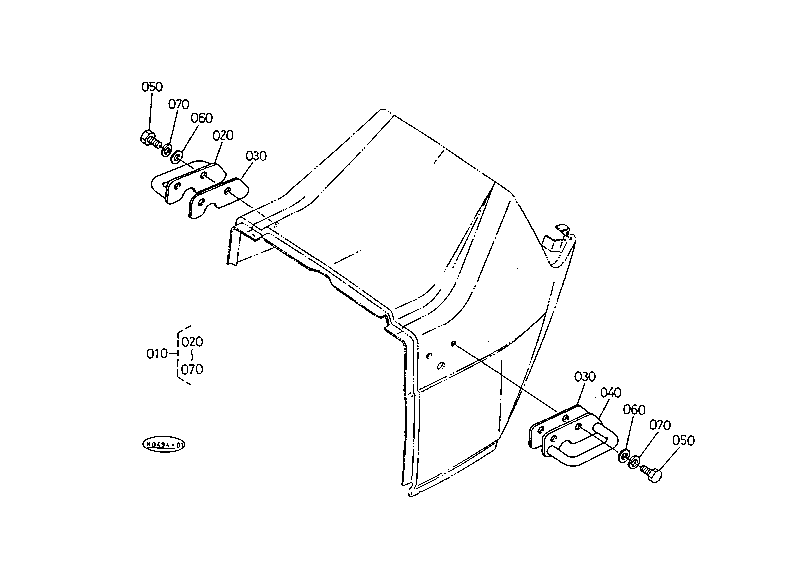
HOOD(BONNET) AND CHASSIS T18001 FENDER W O CAB
HOOD(BONNET) AND CHASSIS T18100 FENDER BRACKET W O CAB
HOOD(BONNET) AND CHASSIS T18200 SEAT W O CAB
HOOD(BONNET) AND CHASSIS T18300 SEAT [COMPONENT PARTS]
HOOD(BONNET) AND CHASSIS T18500 STEP W O CAB
HOOD(BONNET) AND CHASSIS T18600 AID STEP W O CAB
HOOD(BONNET) AND CHASSIS T18700 CENTER FRAME W O CAB
HOOD(BONNET) AND CHASSIS T18800 HOUSING COVER W O CAB
HYDRAULIC SYSTEM T13901 POWER STEERING OIL TANK W O CAB
HYDRAULIC SYSTEM T14001 POWER STEERING OIL PUMP W O CAB
HYDRAULIC SYSTEM T14100 POWER STEERING OIL PUMP [COMPONENT PARTS]
HYDRAULIC SYSTEM T14201 POWER STEERING OIL PIPE W O CAB
HYDRAULIC SYSTEM T14301 HYD.CYLINDER BODY W O CAB
HYDRAULIC SYSTEM T14400 HYD.CYLINDER LINER
HYDRAULIC SYSTEM T14501 DOWN SPEED ADJUSTING ROD W O CAB
HYDRAULIC SYSTEM T14600 LIFT LEVER
HYDRAULIC SYSTEM T14700 HYDRAULIC SYSTEM 1
HYDRAULIC SYSTEM T14800 HYDRAULIC SYSTEM 2
HYDRAULIC SYSTEM T14901 HYD.CONTROL LEVER GUIDE W O CAB
HYDRAULIC SYSTEM T15001 DRAFT POSITION CONTROL LEVER W O CAB
HYDRAULIC SYSTEM T15200 HYDRAULIC PUMP AND SUCTION PIPE
HYDRAULIC SYSTEM T15300 HYDRAULIC PUMP [COMPONENT PARTS]
HYDRAULIC SYSTEM T15400 DELIVERY PIPE
HYDRAULIC SYSTEM T15500 UNLOADING VALVE
HYDRAULIC SYSTEM T15600 UNLOADING VALVE [COMPONENT PARTS]
HYDRAULIC SYSTEM T15700 SENSOR BAR 1
HYDRAULIC SYSTEM T15800 SENSOR BAR 2
HYDRAULIC SYSTEM T15901 AUX.CONTROL VALVE W O CAB
HYDRAULIC SYSTEM T16101 AUX.CONTROL VALVE HOSE W O CAB
HYDRAULIC SYSTEM T16201 AUX.CONTROL VALVE W O CAB [OPTION] ## SELF-CANCELLING WITH DETENTS (DOUBLE A
HYDRAULIC SYSTEM T16203 AUX.CONTROL VALVE W O CAB [OPTION] ## NO DETENTS OR SELF-CANCELLING (DOUBLE
HYDRAULIC SYSTEM T16301 AUX.CONTROL VALVE [COMPONENT PARTS] ## SELF-CANCELLING WITH DETENTS (SINGLE
HYDRAULIC SYSTEM T16302 AUX.CONTROL VALVE [COMPONENT PARTS] ## DETENTED FLOAT POSITION (DOUBLE ACTIN
HYDRAULIC SYSTEM T16303 AUX.CONTROL VALVE [COMPONENT PARTS] ## SELF-CANCELLING WITH DETENTS (DOUBLE
HYDRAULIC SYSTEM T16304 AUX.CONTROL VALVE [COMPONENT PARTS] ## NO DETENTS OR SELF-CANCELLING (DOUBLE
HYDRAULIC SYSTEM T16400 HYDRAULIC LIFT LINK 1 (LOWER LINK)
HYDRAULIC SYSTEM T16500 HYDRAULIC LIFT LINK 2 (CHECK CHAIN)
HYDRAULIC SYSTEM T16701 HYDRAULIC LIFT LINK 3 (LIFT ROD RH) W O CAB [A][CA] WITH CAB
HYDRAULIC SYSTEM T16800 HYDRAULIC LIFT LINK 4 (LIFT ROD LH)
HYDRAULIC SYSTEM T16900 HYDRAULIC LIFT LINK 5 (TOP LINK)
LABELS T21501 LABEL (ENGLISH) W O CAB
REAR AXLE AND REAR WHEEL T09900 REAR AXLE CASE
REAR AXLE AND REAR WHEEL T10000 REAR AXLE
SPEED CHANGE LEVER T08601 MAIN GEAR SHIFT LEVER [A][CA] W O CAB
SPEED CHANGE LEVER T08800 MAIN GEAR SHIFT FORK
SPEED CHANGE LEVER T08901 HI-LO GEAR SHIFT LEVER W O CAB
SPEED CHANGE LEVER T09001 HI-LO GEAR SHIFT FORK W O CAB
SPEED CHANGE LEVER T09101 HALF GEAR SHIFT FORK W O CAB
SPEED CHANGE LEVER T09201 PTO GEAR SHIFT LEVER W O CAB
SPEED CHANGE LEVER T09300 PTO GEAR SHIFT LEVER
SPEED CHANGE LEVER T09500 BEVEL GEAR
SPEED CHANGE LEVER T09601 DIFFERENTIAL (REAR)
SPEED CHANGE LEVER T09701 DIFF.LOCK FORK W O CAB
STEERING T13001 STEERING LINKAGE
STEERING T13200 STEERING LEVER
STEERING T13300 POWER STEERING CYLINDER
STEERING T13400 STEERING CYLINDER [COMPONENT PARTS]
STEERING T13501 STEERING HANDLE W O CAB
STEERING T13701 POWER STEERING CONTROLLER W O CAB
STEERING T13800 STEERING CONTROLLER [COMPONENT PARTS]
SWINGING DRAWBAR AND HITCH T17000 SWINGING DRAWBAR
SWINGING DRAWBAR AND HITCH T17100 DRAWBAR HITCH [A][CA] [OPTION]
TRANSMISSION T07600 TRANSMISSION CASE
TRANSMISSION T07700 TRANSMISSION CASE REAR COVER
TRANSMISSION T07800 PTO PROPELLER SHAFT
TRANSMISSION T07901 FIRST SHAFT (EXCEPT DUAL SPEED)
TRANSMISSION T08000 COUNTER SHAFT
TRANSMISSION T08100 HI-LO GEAR SHAFT
TRANSMISSION T08200 HALF GEAR SHAFT
TRANSMISSION T08300 BACK IDLE SHAFT
TRANSMISSION T08400 PTO DRIVE SHAFT
TRANSMISSION T08501 PTO SHAFT [A][CA]
USEFUL PRODUCTS 000010 USEFUL PRODUCTS
New to our website?Creating an account is easy and quick!
Our website uses cookie to give you the best online shopping experience. More information Accept