Model added to My Equipment.Click 'My Equipment' to view updated list.
3-POINT LINKAGE DRAWBAR HITCH J10500 TOP LINK
3-POINT LINKAGE DRAWBAR HITCH J11000 LOWER LINK
3-POINT LINKAGE DRAWBAR HITCH J11300 STABILIZER
3-POINT LINKAGE DRAWBAR HITCH J11500 LIFT ROD
3-POINT LINKAGE DRAWBAR HITCH K10500 DRAWBAR [OLD] ## S.No.; TO 12148
3-POINT LINKAGE DRAWBAR HITCH K10501 DRAWBAR [NEW] ## S.No.; FROM 12149
3-POINT LINKAGE DRAWBAR HITCH K12501 PTO PROTECTOR
ACCESSORIES AND SERVICE PARTS S10500 ACCESSORIES AND SERVICE PARTS
CLUTCH TRANSMISSION C40100 CLUTCH HOUSING
CLUTCH TRANSMISSION C40301 HST (SERVO PISTON) [COMPONENT PARTS]
CLUTCH TRANSMISSION C40302 HST (SERVO REGULATOR) [COMPONENT PARTS]
CLUTCH TRANSMISSION C40303 HST (RELIEF VALVE) [COMPONENT PARTS]
CLUTCH TRANSMISSION C40305 HST (CYLINDER BLOCK) [COMPONENT PARTS]
CLUTCH TRANSMISSION C40306 HST (CHARGE PUMP) [COMPONENT PARTS]
CLUTCH TRANSMISSION C40307 HST (INPUT SHAFT) [COMPONENT PARTS]
CLUTCH TRANSMISSION C41000 MID CASE
CLUTCH TRANSMISSION C41200 PTO CLUTCH VALVE
CLUTCH TRANSMISSION C41400 PTO CLUTCH VALVE [COMPONENT PARTS]
CLUTCH TRANSMISSION C42000 TRANSMISSION CASE
CLUTCH TRANSMISSION D10500 COUNTERSHAFT
CLUTCH TRANSMISSION D11700 RANGE GEAR SHAFT
CLUTCH TRANSMISSION D12500 SPIRAL BEVEL PINION
CLUTCH TRANSMISSION D12700 REAR DIFFERENTIAL
CLUTCH TRANSMISSION D13000 PTO COUNTERSHAFT
CLUTCH TRANSMISSION D13202 PTO CLUTCH
CLUTCH TRANSMISSION D13302 PTO CLUTCH [COMPONENT PARTS]
CLUTCH TRANSMISSION D13400 PTO DRIVE SHAFT
CLUTCH TRANSMISSION D13500 PTO SHAFT
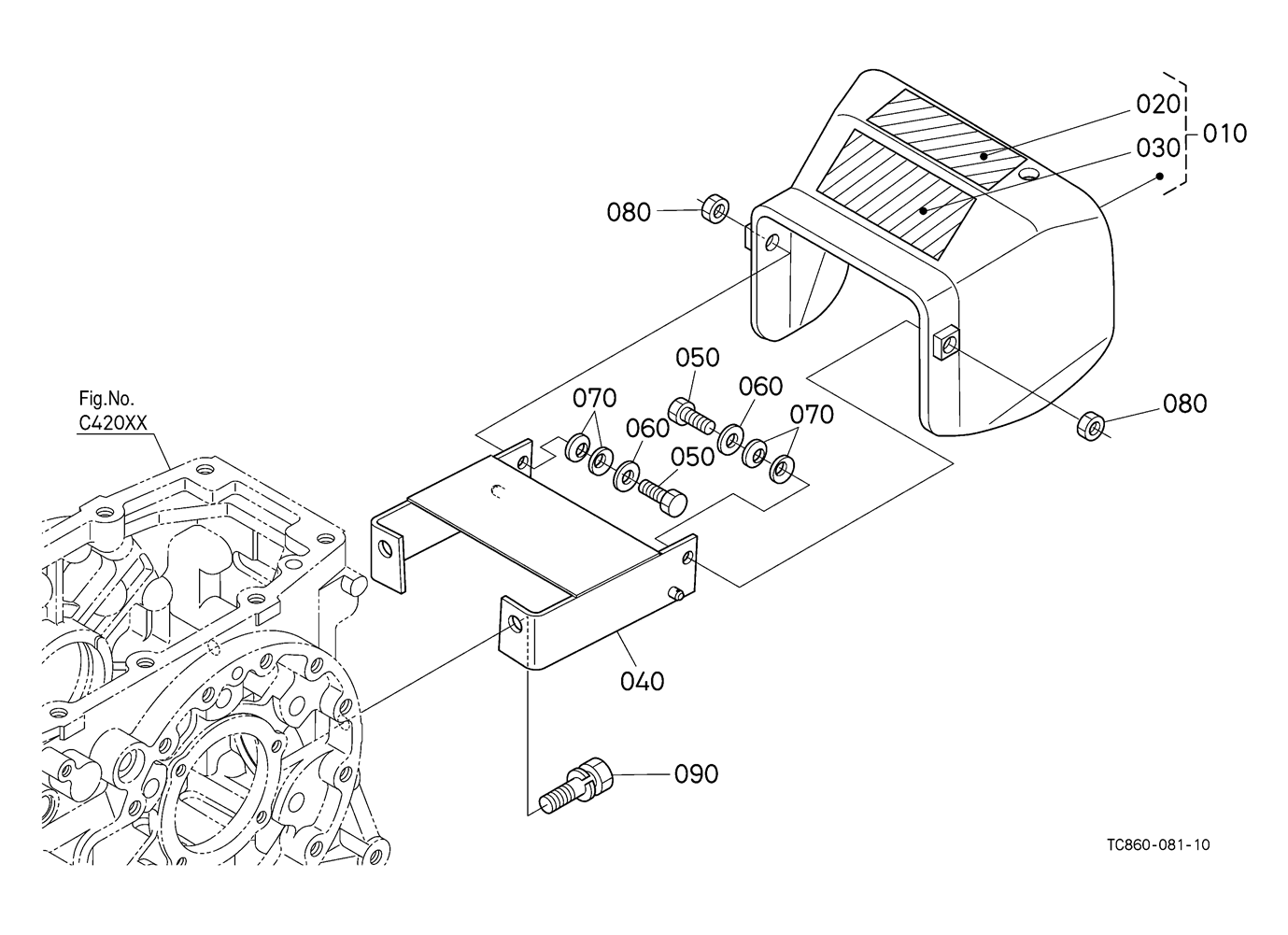
COOLING WATER SYSTEM A40102 FAN
COOLING WATER SYSTEM A41000 WATER PIPE
COOLING WATER SYSTEM A42000 RADIATOR
COOLING WATER SYSTEM A43000 RESERVE TANK
ELECTRICAL SYSTEM A51500 ALTERNATOR
ELECTRICAL SYSTEM A52000 ALTERNATOR [COMPONENT PARTS]
ELECTRICAL SYSTEM A52500 STARTER
ELECTRICAL SYSTEM A53000 STARTER [COMPONENT PARTS](NOT FOR REMAN UNIT)
ELECTRICAL SYSTEM A53501 BATTERY
ELECTRICAL SYSTEM B00100 SWITCH SENSOR (ENGINE)
ELECTRICAL SYSTEM B00200 SWITCH (MUFFLER ECU)
ELECTRICAL SYSTEM B10201 RELAY
ELECTRICAL SYSTEM B10300 SENSOR (FUEL INLET PIPE)
ELECTRICAL SYSTEM B10400 SWITCH (OPERATION)
ELECTRICAL SYSTEM B10600 SWITCH AND SENSOR (STEERING POST LEVER GUIDE)
ELECTRICAL SYSTEM B11100 ELECTRONIC CONTROL UNIT
ELECTRICAL SYSTEM B11500 PANEL
ELECTRICAL SYSTEM B12000 PANEL BOARD [COMPONENT PARTS]
ELECTRICAL SYSTEM B30100 HEAD LIGHT
ELECTRICAL SYSTEM B31100 HAZARD LIGHT
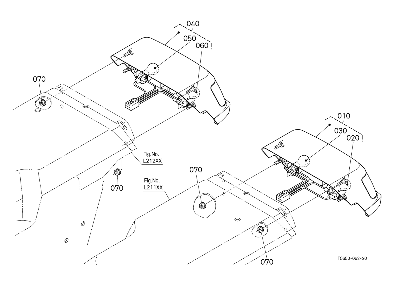
ELECTRICAL SYSTEM B31200 TAIL LIGHT
ELECTRICAL SYSTEM B50101 ELECTRICAL WIRING (ENGINE)
ELECTRICAL SYSTEM B50301 ELECTRICAL WIRING (FRONT)
ELECTRICAL SYSTEM B50701 ELECTRICAL WIRING (REAR)
ENGINE 500000 CRANKCASE
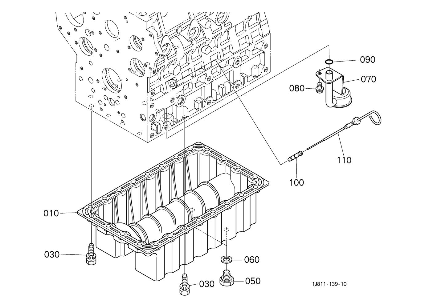
ENGINE 501000 OIL PAN
ENGINE 502000 CYLINDER HEAD
ENGINE 503000 INLET VALVE AND EXHAUST VALVE
ENGINE 504000 ROCKER ARM SHAFT
ENGINE 505000 HEAD COVER
ENGINE 508000 GEAR CASE
ENGINE 511000 PISTON AND CRANKSHAFT
ENGINE 511500 MAIN BEARING CASE
ENGINE 512000 CAMSHAFT AND IDLE GEAR SHAFT
ENGINE 513000 BALANCER
ENGINE 515000 FLYWHEEL
ENGINE 520500 SUPPLY PUMP
ENGINE 521500 FUEL PUMP
ENGINE 522000 FUEL CAMSHAFT
ENGINE 540200 INJECTOR AND GLOW PLUG
ENGINE 545000 INJECTION PIPE
ENGINE 548000 COMMON RAIL
ENGINE 560000 WATER FLANGE AND THERMOSTAT
ENGINE 560200 WATER PIPE
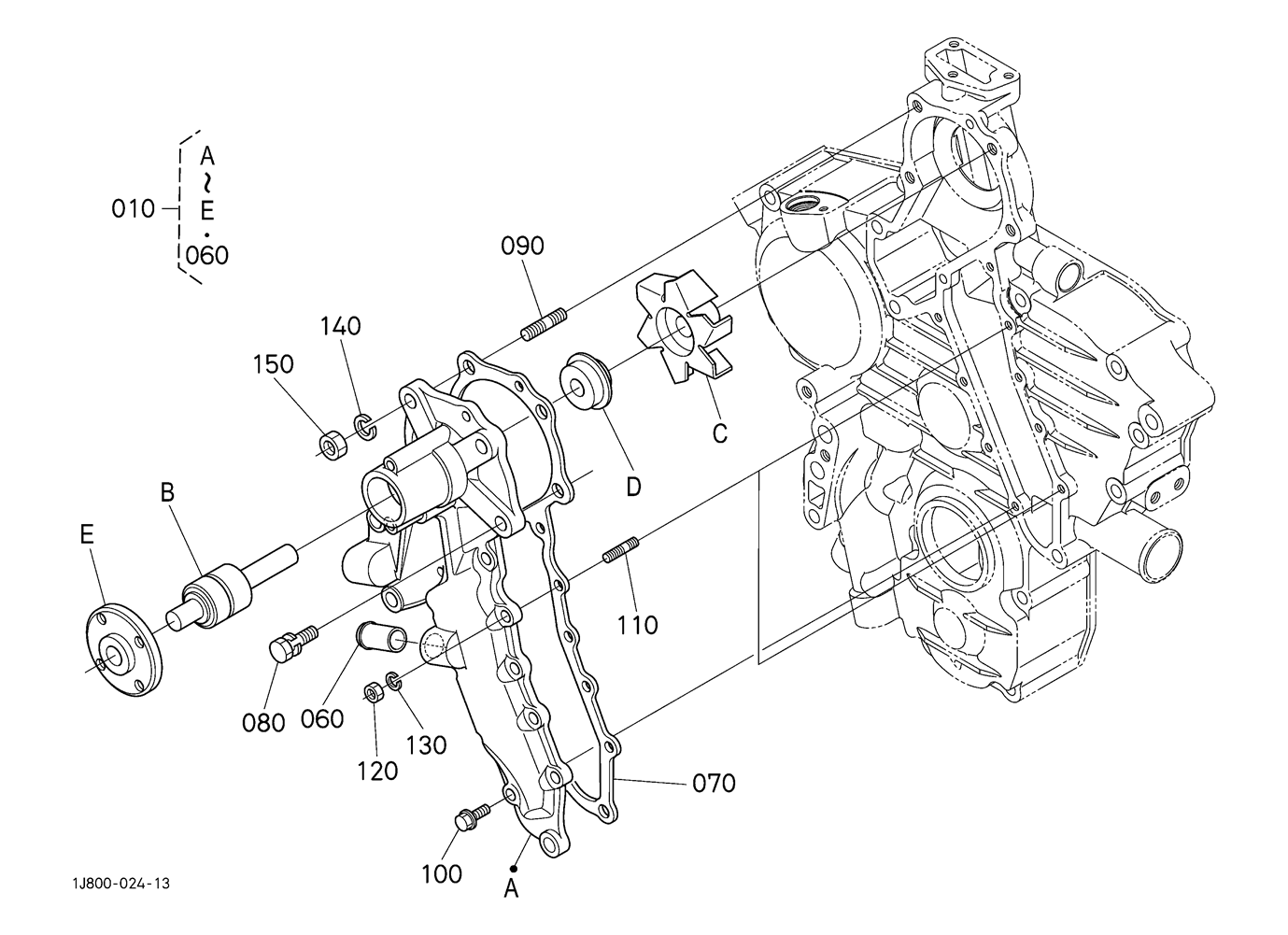
ENGINE 561000 WATER PUMP
ENGINE 565000 HYDRAULIC OIL LINE (OIL COOLER)
ENGINE 571000 INLET MANIFOLD
ENGINE 571900 EXHAUST MANIFOLD COVER
ENGINE 572000 EXHAUST MANIFOLD
ENGINE 572200 EGR VALVE
ENGINE 572300 EGR COOLER
ENGINE 572600 TURBO CHARGER
ENGINE 573000 AIR CLEANER
ENGINE 573500 AIR CLEANER [COMPONENT PARTS]
ENGINE 574500 INLET PIPE
ENGINE 575500 MUFFLER PIPE
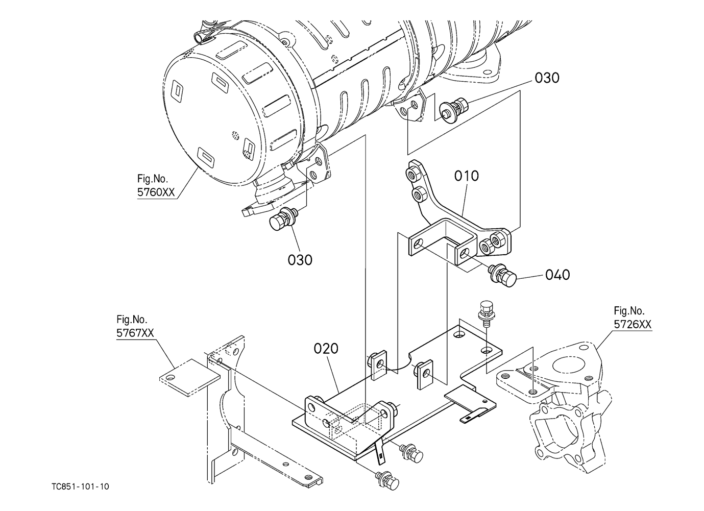
ENGINE 576000 DIESEL PARTICULATE FILTER MUFFLER
ENGINE 576100 DIESEL PARTICULATE FILTER MUFFLER [COMPONENT PARTS]
ENGINE 576500 MUFFLER BRACKET
ENGINE 576700 MUFFLER BRACKET MOUNTINGPART
ENGINE 577500 PRESSURE PIPE
ENGINE 578001 OIL SEPARATOR
ENGINE 578100 OIL SEPARATOR [COMPONENT PARTS]
ENGINE 580000 OIL PIPE (TURBO CHARGER)
ENGINE 585000 HYDRAULIC PUMP HOLDER
ENGINE 595000 ENGINE ELECTRICAL PARTS (ENGINE)
ENGINE 595100 ENGINE ELECTRICAL PARTS (MUFFLER ECU)
ENGINE A01000 ACCELERATOR LEVER
FREQUENTLY USED ITEMS 000000 FREQUENTLY USED ITEMS
FREQUENTLY USED ITEMS 000010 USEFUL PRODUCTS
FREQUENTLY USED ITEMS 000040 PAINT
FRONT AXLE CHASSIS F10500 FRONT AXLE FRAME
FRONT AXLE CHASSIS F12200 FRONT WHEEL DRIVE SHAFT
FRONT AXLE CHASSIS F12300 PROPELLER SHAFT (REAR)
FRONT AXLE CHASSIS F12400 PROPELLER SHAFT (FRONT)
FRONT AXLE CHASSIS F12500 FRONT DIFFERENTIAL CASE
FRONT AXLE CHASSIS F12700 BEVEL GEAR (FRONT)
FRONT AXLE CHASSIS F13000 DIFFERENTIAL (FRONT)
FRONT AXLE CHASSIS F14000 FRONT AXLE CASE
FRONT AXLE CHASSIS F14500 BEVEL GEAR SHAFT
FRONT AXLE CHASSIS F15000 FRONT AXLE
FRONT REAR TIRE P10101 FRONT WHEEL (305R343 LSW)
FRONT REAR TIRE P10102 FRONT WHEEL (9.5-16)
FRONT REAR TIRE P10103 FRONT WHEEL (12-16.5)
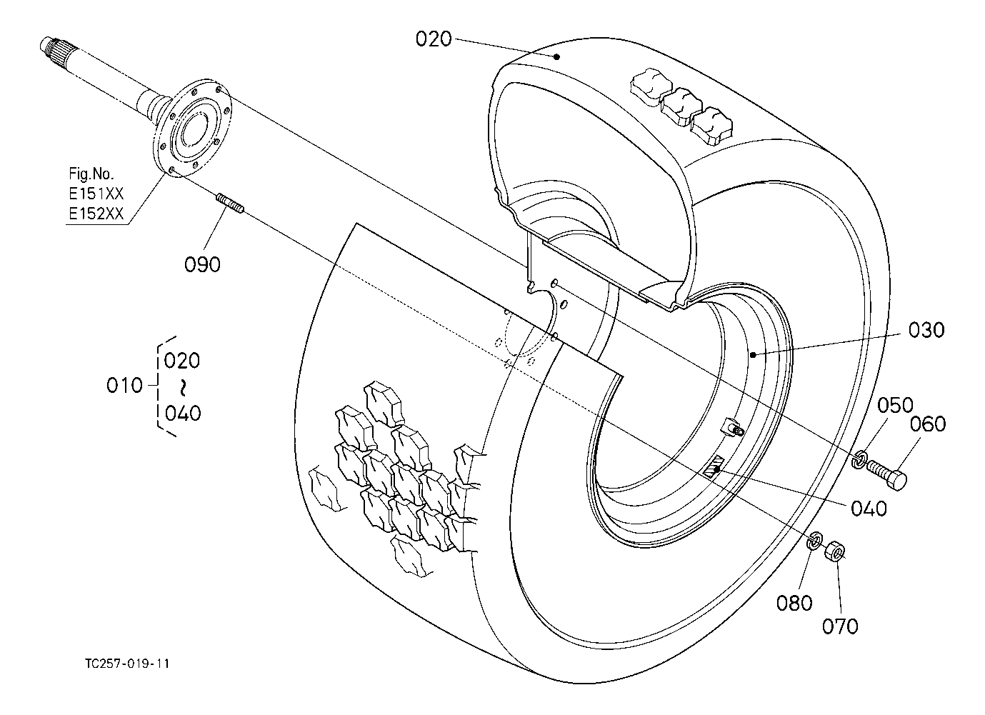
FRONT REAR TIRE P11001 REAR WHEEL (4418-20)
FRONT REAR TIRE P11002 REAR WHEEL (610R470 LSW)
FRONT REAR TIRE P11003 REAR WHEEL (13.6-28)
FRONT REAR TIRE P11004 REAR WHEEL (17.5L-24)
FUEL SYSTEM A10000 FUEL TANK SUPPORT
FUEL SYSTEM A10100 FUEL TANK
FUEL SYSTEM A11001 FUEL PIPE (SEPARATOR FUEL PUMP)
FUEL SYSTEM A11100 FUEL PIPE (FUEL PUMP FUEL COOLER)
FUEL SYSTEM A12000 FUEL FILTER
FUEL SYSTEM A13000 FUEL FILTER [COMPONENT PARTS]
FUEL SYSTEM A14000 SEPARATOR
FUEL SYSTEM A15000 SEPARATOR [COMPONENT PARTS]
FUEL SYSTEM A16000 FUEL COOLER
HOOD BONNET L10100 FRONT GRILLE
HOOD BONNET L10200 HOOD (BONNET) FRONT SUPPORT
HOOD BONNET L10501 HOOD (BONNET) UPPER
HOOD BONNET L10801 HOOD (BONNET) DAMPER
HOOD BONNET L11000 BONNET SIDE
HOOD BONNET L13000 SHUTTER PLATE
HOOD BONNET L13501 HOOD (BONNET) REAR
HOOD BONNET L21101 FENDER LH
HOOD BONNET L21201 FENDER RH
HOOD BONNET L21300 FENDER SUPPORT
HOOD BONNET L21700 FLOOR SHEET COVER
HOOD BONNET L22000 SEAT
HOOD BONNET L22100 SEAT SUSPENSION [COMPONENT PARTS]
HOOD BONNET L22500 STEP
HOOD BONNET L24000 TOOL BOX
HOOD BONNET L50100 SMV EMBLEM
HYDRAULIC SYSTEM H12000 HYDRAULIC PUMP
HYDRAULIC SYSTEM H12500 HYDRAULIC PUMP [COMPONENT PARTS]
HYDRAULIC SYSTEM H14500 REGULATER VALVE
HYDRAULIC SYSTEM H20500 HYDRAULIC OIL LINE (INLET)
HYDRAULIC SYSTEM H21000 HYDRAULIC PIPE (DELIVERY)
HYDRAULIC SYSTEM H21500 HYDRAULIC OIL LINE (STEERING)
HYDRAULIC SYSTEM H23000 PTO HYDRAULIC PIPE
HYDRAULIC SYSTEM H23300 HYDRAULIC OIL LINE (RETURN)
HYDRAULIC SYSTEM H23500 HYDRAULIC OUTLET BLOCK
HYDRAULIC SYSTEM H24500 OIL COOLER
HYDRAULIC SYSTEM H30000 HYDRAULIC CYLINDER CASE
HYDRAULIC SYSTEM H32000 LIFT ARM
HYDRAULIC SYSTEM H33000 FEED BACK LEVER
HYDRAULIC SYSTEM H40500 CONTROL VALVE
HYDRAULIC SYSTEM H44000 POSITION CONTROL LEVER
LABELS R10501 LABEL (FRONT)
LABELS R11001 LABEL (REAR)
OPTION V09500 HEATER KIT (HEATER PIPE) (W G No.MX6812) [OPTION]
OPTION V09600 HEATER KIT (ELECTRICAL WIRING RELAY) (W G No.MX6812) [OPTION]
OPTION V18000 WORKING LIGHT KIT (W G No.M9551) [OPTION]
OPTION V22500 TRAILER HARNESS KIT (W G No.MX6880) [OPTION]
OPTION V41500 FRONT BUMPER KIT (W G No.MX8068) [OPTION]
OPTION V42000 WEIGHT KIT[OPTION]
OPTION V54000 DRAFT AND POSITION CONTROL LEVER (WITH DRAFT) (POSITION CONTROL LEVER) (W G No.MX6884)
OPTION V54200 DRAFT AND POSITION CONTROL LEVER (WITH DRAFT) (POSITION CONTROL LINK) (W G No.MX6884)
OPTION V54500 DRAFT AND POSITION CONTROL LEVER (WITH DRAFT) (DRAFT CONTROL LEVER) (W G No.MX6884) [O
OPTION V55200 DRAFT AND POSITION CONTROL LEVER (WITH DRAFT) (TOP LINK) (W G No.MX6884) [OPTION]
OPTION V60001 AUXILIARY CONTROL VALVE (W G No.L8303) [OPTION]
OPTION V60002 AUXILIARY CONTROL VALVE (FLOATING) (W G No.L8304) [OPTION]
OPTION V62101 AUXILIARY CONTROL VALVE LEVER KIT (1ST) (W G No.MX6881) [OPTION]
OPTION V62102 AUXILIARY CONTROL VALVE LEVER KIT (2ND) (W G No.MX6882) [OPTION]
OPTION V62103 AUXILIARY CONTROL VALVE LEVER KIT (3RD) (W G No.MX6883) [OPTION]
OPTION V62501 AUXILIARY CONTROL VALVE COUPLER (1ST) (W G No.MX8451) [OPTION]
OPTION V62502 AUXILIARY CONTROL VALVE COUPLER (2ND) (W G No.MX8452) [OPTION]
OPTION V62503 AUXILIARY CONTROL VALVE COUPLER (3RD) (W G No.MX8453) [OPTION]
REAR AXLE BRAKE E15100 REAR AXLE LH
REAR AXLE BRAKE E15200 REAR AXLE RH
REAR AXLE BRAKE E16100 BRAKE LH
REAR AXLE BRAKE E16200 BRAKE RH
REAR AXLE BRAKE E16500 BRAKE ROD (BRAKE PEDAL)
REAR AXLE BRAKE E17000 BRAKE ROD (BRAKE CAM)
REAR AXLE BRAKE E20100 BRAKE PEDAL
ROPS L30100 ROPS
SPEED CHANGE SHIFT FORK SHIFT LEVER D21700 RANGE GEAR SHIFT FORK
SPEED CHANGE SHIFT FORK SHIFT LEVER D22500 DIFFERENTIAL LOCK SHIFT FORK
SPEED CHANGE SHIFT FORK SHIFT LEVER E10600 CRUISE CONTROL LEVER
SPEED CHANGE SHIFT FORK SHIFT LEVER E10700 CRUISE CONTROL CABLE
SPEED CHANGE SHIFT FORK SHIFT LEVER E10800 NEUTRAL HOLDER LINK
SPEED CHANGE SHIFT FORK SHIFT LEVER E10900 SPEED CONTROL PEDAL
SPEED CHANGE SHIFT FORK SHIFT LEVER E11000 RANGE GEAR SHIFT LEVER
SPEED CHANGE SHIFT FORK SHIFT LEVER E14000 FRONT WHEEL DRIVE LEVER
STEERING G10100 STEERING WHEEL
STEERING G11000 STEERING CONTROLLER
STEERING G11700 STEERING SUPPORT
STEERING G18000 TIE ROD STEERING CYLINDER
STEERING G18500 STEERING CYLINDER [COMPONENT PARTS]
New to our website?Creating an account is easy and quick!
Our website uses cookie to give you the best online shopping experience. More information Accept