Model added to My Equipment.Click 'My Equipment' to view updated list.
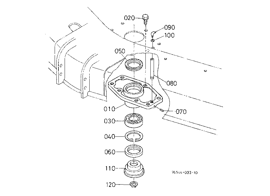
MOWER G13300 UNIVERSAL JOINT
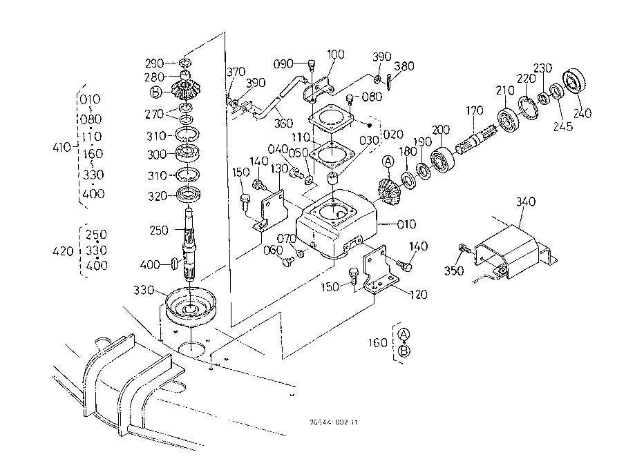
MOWER G13400 BEVEL CASE
MOWER G13500 PULLEY HOLDER
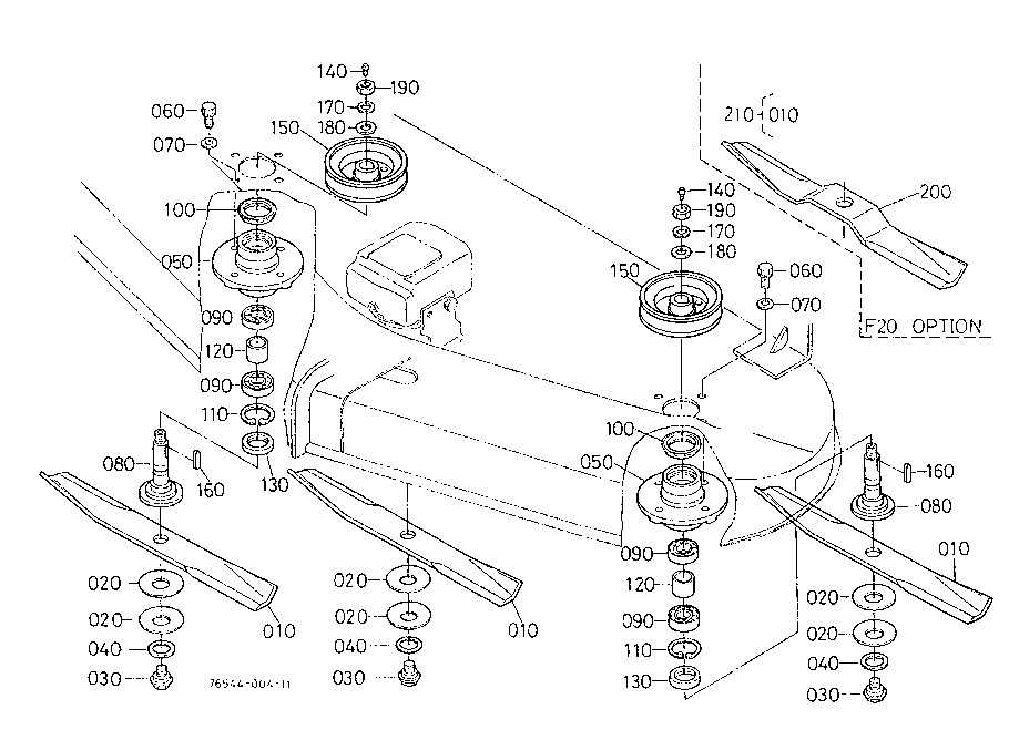
MOWER G13600 BLADE
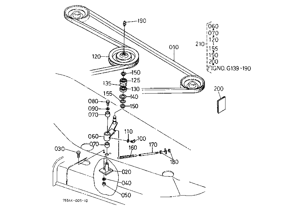
MOWER G13700 TENSION PULLEY
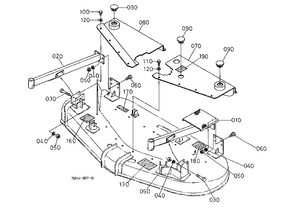
MOWER G13800 MOWER DECK
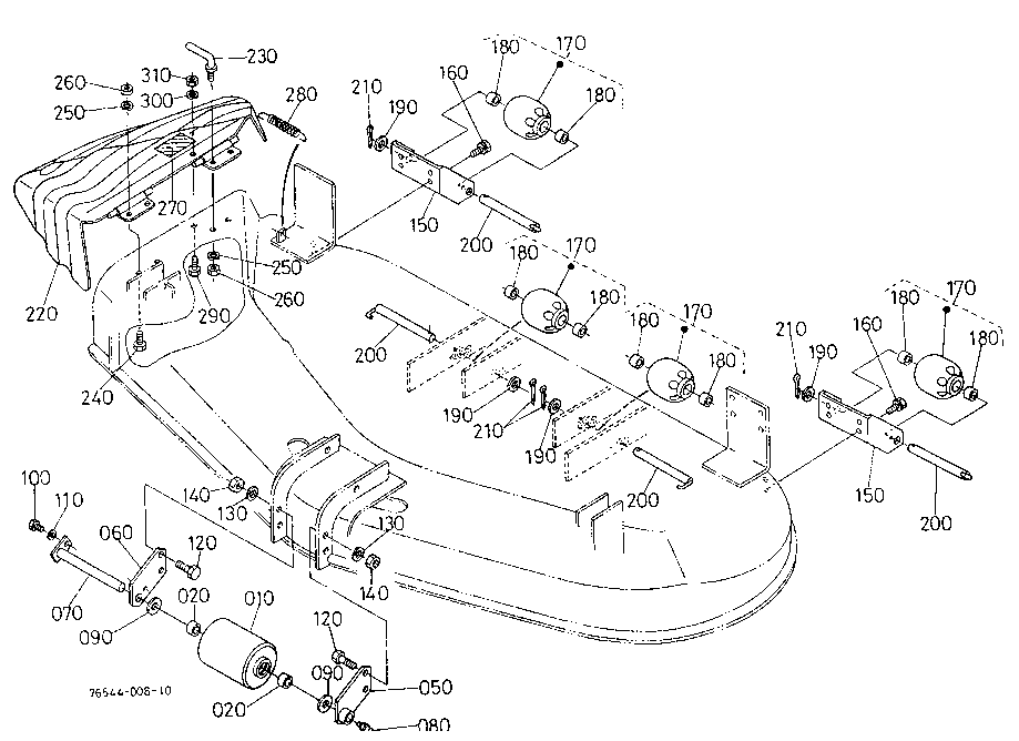
MOWER G13900 WHEEL STAY
MOWER G14000 REAR WHEEL
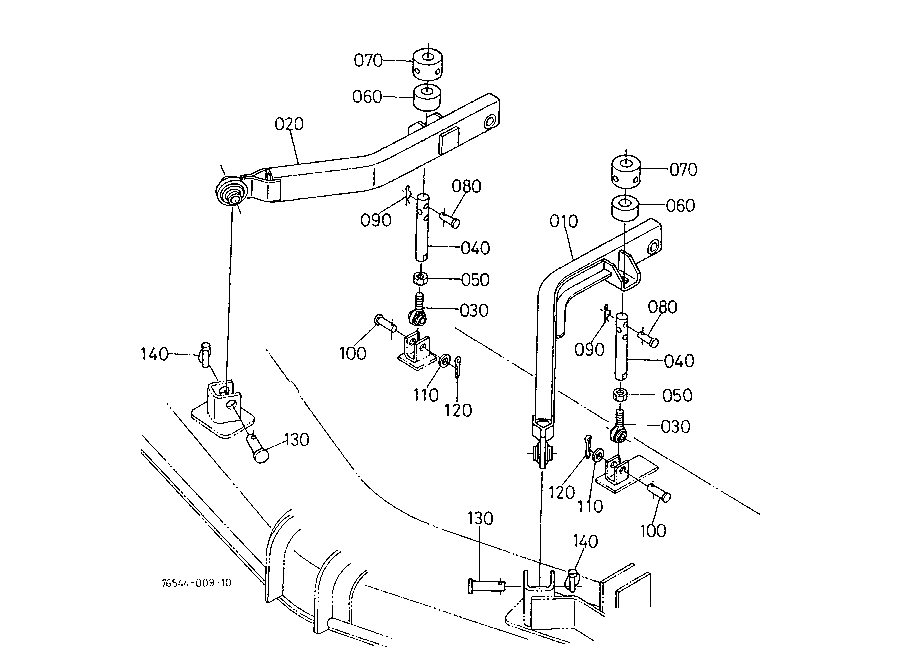
MOWER G14100 MOWER LINK
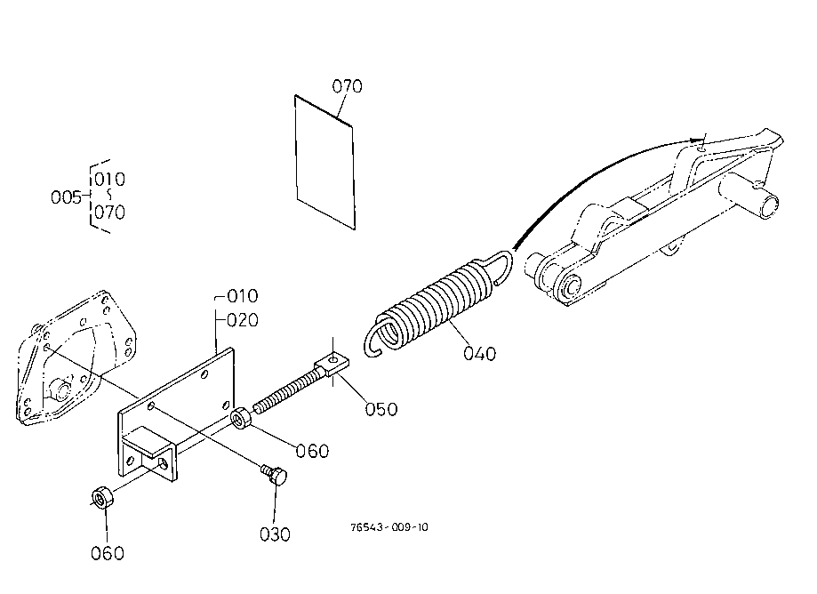
MOWER G14200 LIFT SPRING [OPTION]
MOWER G14400 ACCESSORIES AND SERVICE PARTS
New to our website?Creating an account is easy and quick!
Our website uses cookie to give you the best online shopping experience. More information Accept