Model added to My Equipment.Click 'My Equipment' to view updated list.
FREQUENTLY USED ITEMS 000006 FREQUENTLY USED ITEMS
MOWER S00100 UNIVERSAL JOINT
MOWER S00400 BEVEL GEAR CASE
MOWER S00700 PULLEY HOLDER
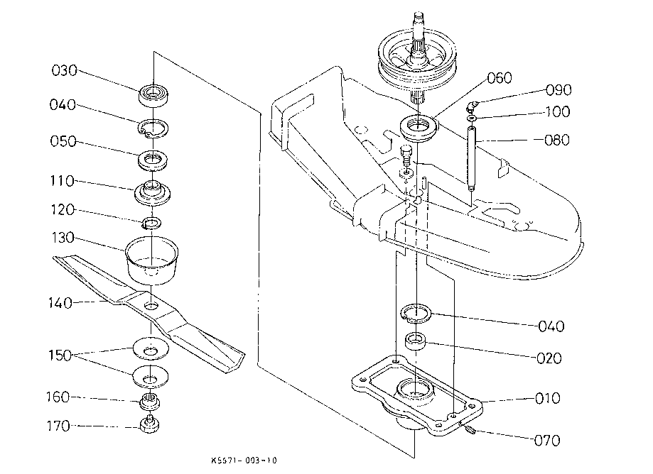
MOWER S01000 BLADE
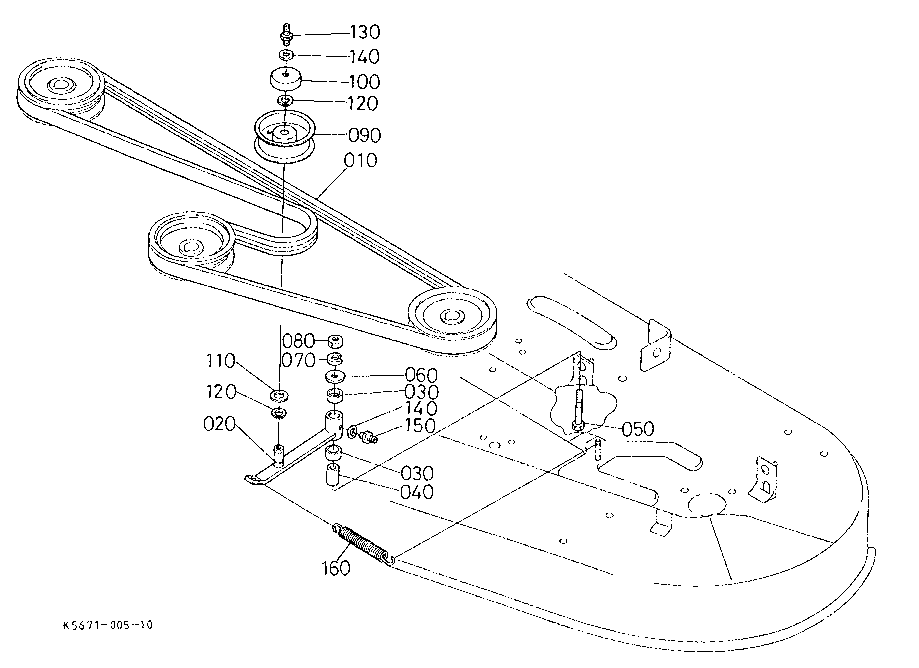
MOWER S01300 TENSION PULLEY
MOWER S10000 MOWER DECK
MOWER S10300 FRONT GAUGE WHEEL
MOWER S10500 ANTI-SCALP ROLLER
MOWER S10900 DISCHARGE COVER
MOWER S20000 MOWER LINKAGE
MOWER S30000 ACCESSORIES
New to our website?Creating an account is easy and quick!
Our website uses cookie to give you the best online shopping experience. More information Accept