Model added to My Equipment.Click 'My Equipment' to view updated list.
ACCESSORIES AND SERVICE PARTS T10500 ACCESSORIES AND SERVICE PARTS
BRAKE E00100 FRONT BRAKE
BRAKE E00500 REAR BRAKE
BRAKE E01000 BRAKE CYLINDER(LEFT)
BRAKE E01500 BRAKE CYLINDER(RIGHT)
BRAKE E02000 BRAKE MASTER CYLINDER ## NOTE ORDER BY REF.No.010,030 NEW PARTS.
BRAKE E02500 BRAKE MASTER CYLINDER [COMPONENT PARTS] ## NOTE ORDER BY REF.No.010,140,150 and Fig.No.
BRAKE E03000 BRAKE OIL LINE(FRONT)
BRAKE E03500 BRAKE OIL LINE(REAR)
BRAKE E05000 BRAKE ROD
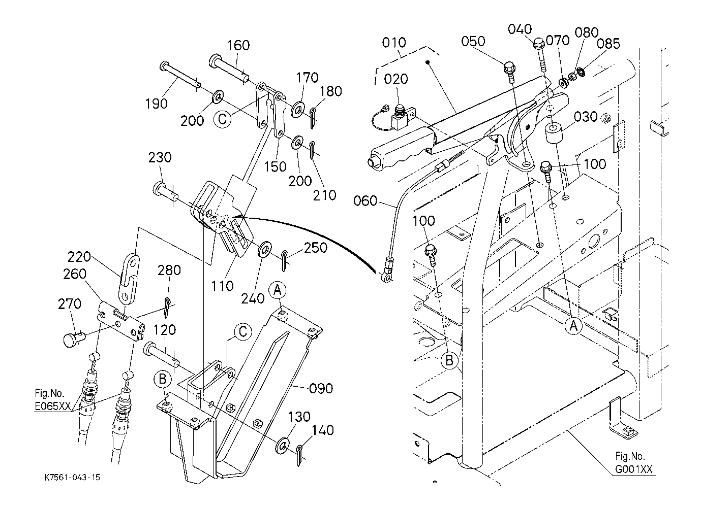
BRAKE E06000 PARKING BRAKE LEVER
BRAKE E06500 PARKING BRAKE WIRE
BRAKE F20100 BRAKE PEDAL
CARGO BED L00101 BOX [EXCEPT HYDRO LIFT TYPE] [EXCEPT BED LINER]
CARGO BED L00500 BOX PLATE [EXCEPT BED LINER]
CARGO BED L01001 BOX GATE [EXCEPT BED LINER]
CARGO BED L02001 BOX COVER [EXCEPT BED LINER]
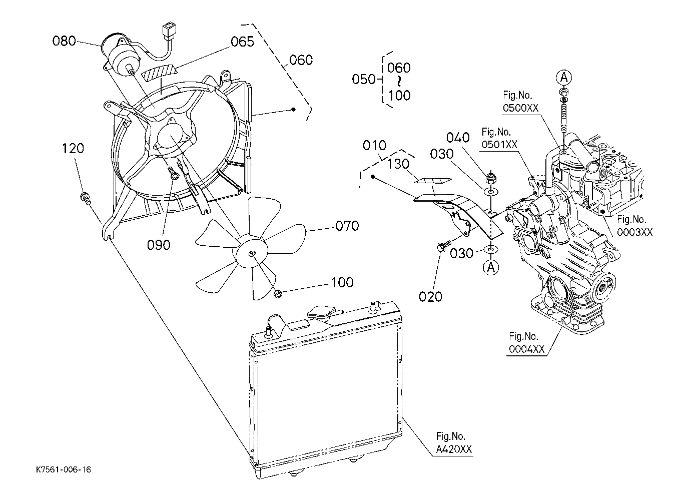
COOLING WATER SYSTEM A40100 FAN
COOLING WATER SYSTEM A41000 WATER PIPE
COOLING WATER SYSTEM A42000 RADIATOR
COOLING WATER SYSTEM A43000 RESERVE TANK
ELECTRICAL SYSTEM A52000 ALTERNATOR
ELECTRICAL SYSTEM A52500 ALTERNATOR [COMPONENT PARTS]%
ELECTRICAL SYSTEM A54000 STARTER
ELECTRICAL SYSTEM A54500 STARTER [COMPONENT PARTS](NOT FOR REMAN UNIT)
ELECTRICAL SYSTEM A55000 BATTERY
ELECTRICAL SYSTEM B10501 SWITCH SENSOR
ELECTRICAL SYSTEM B11501 PANEL SWITCH
ELECTRICAL SYSTEM B13000 BRAKE SWITCH
ELECTRICAL SYSTEM B30100 HEAD LIGHT
ELECTRICAL SYSTEM B30500 TAIL LIGHT
ELECTRICAL SYSTEM B50101 ELECTRICAL WIRING
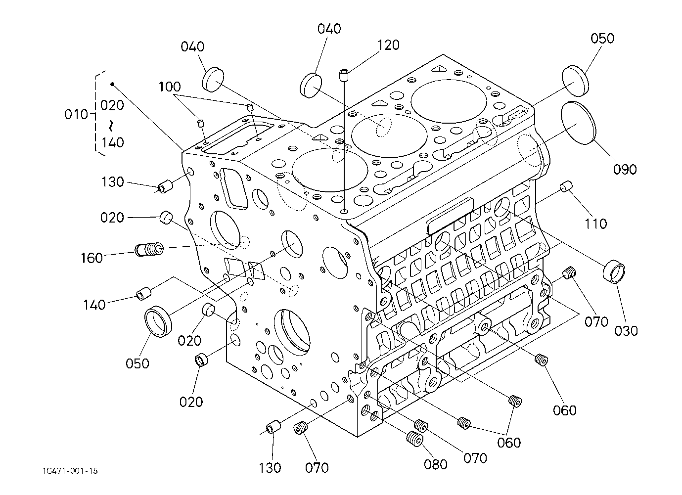
ENGINE 000100 CRANKCASE
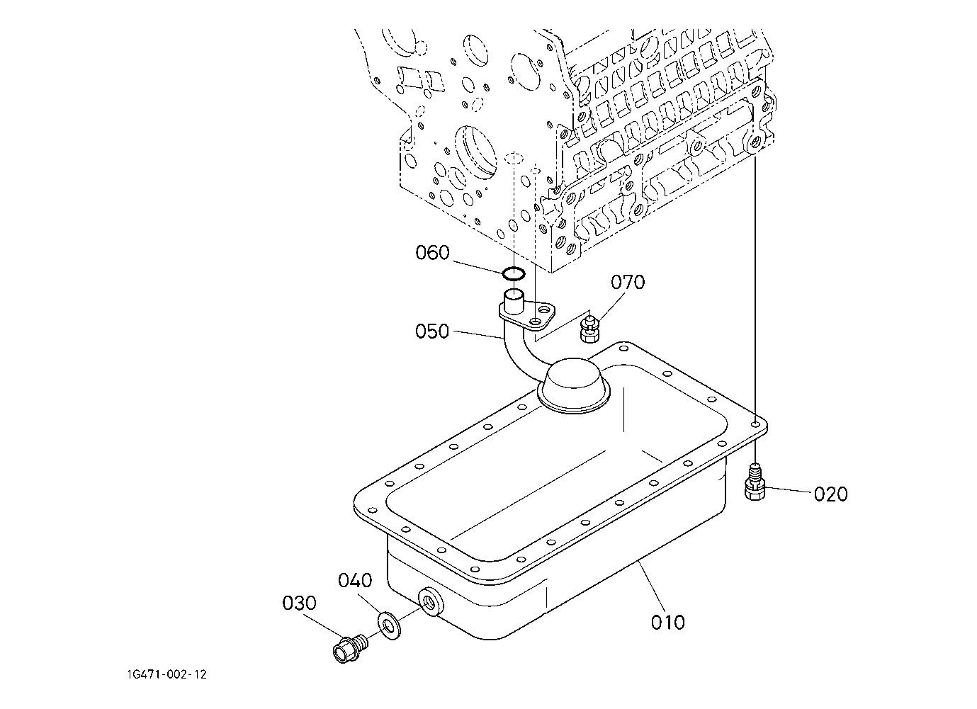
ENGINE 000200 OIL PAN
ENGINE 000300 CYLINDER HEAD
ENGINE 000400 GEAR CASE
ENGINE 000500 HEAD COVER
ENGINE 000600 OIL FILTER
ENGINE 000700 DIPSTICK AND GUIDE
ENGINE 000800 OIL PUMP
ENGINE 010000 MAIN BEARING CASE
ENGINE 010100 CAMSHAFT AND IDLE GEAR SHAFT
ENGINE 010200 PISTON AND CRANKSHAFT
ENGINE 010300 FLYWHEEL
ENGINE 010500 FUEL CAMSHAFT AND GOVERNOR SHAFT
ENGINE 020000 IDLE APPARATUS
ENGINE 020200 INJECTION PUMP
ENGINE 020400 GOVERNOR
ENGINE 020500 SPEED CONTROL PLATE
ENGINE 020600 NOZZLE HOLDER AND GLOW PLUG
ENGINE 020700 NOZZLE HOLDER [COMPONENT PARTS]%
ENGINE 020701 NOZZLE HOLDER (COMPONENT PARTS) ## S.No.; FROM 9J0001
ENGINE 030100 FUEL PUMP(MECHANICAL)
ENGINE 040600 OIL SWITCH THERMOMETER AND PLUG
ENGINE 050000 WATER FLANGE AND THERMOSTAT
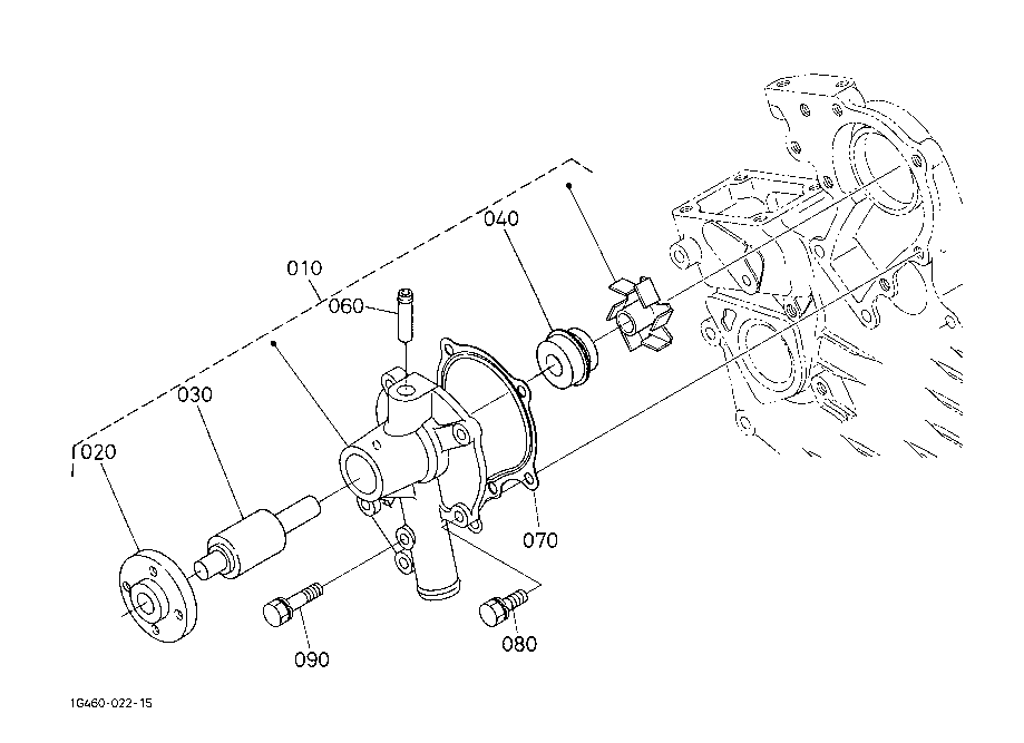
ENGINE 050100 WATER PUMP
ENGINE 050300 WATER PIPE
ENGINE 050400 FAN
ENGINE 060000 VALVE AND ROCKER ARM
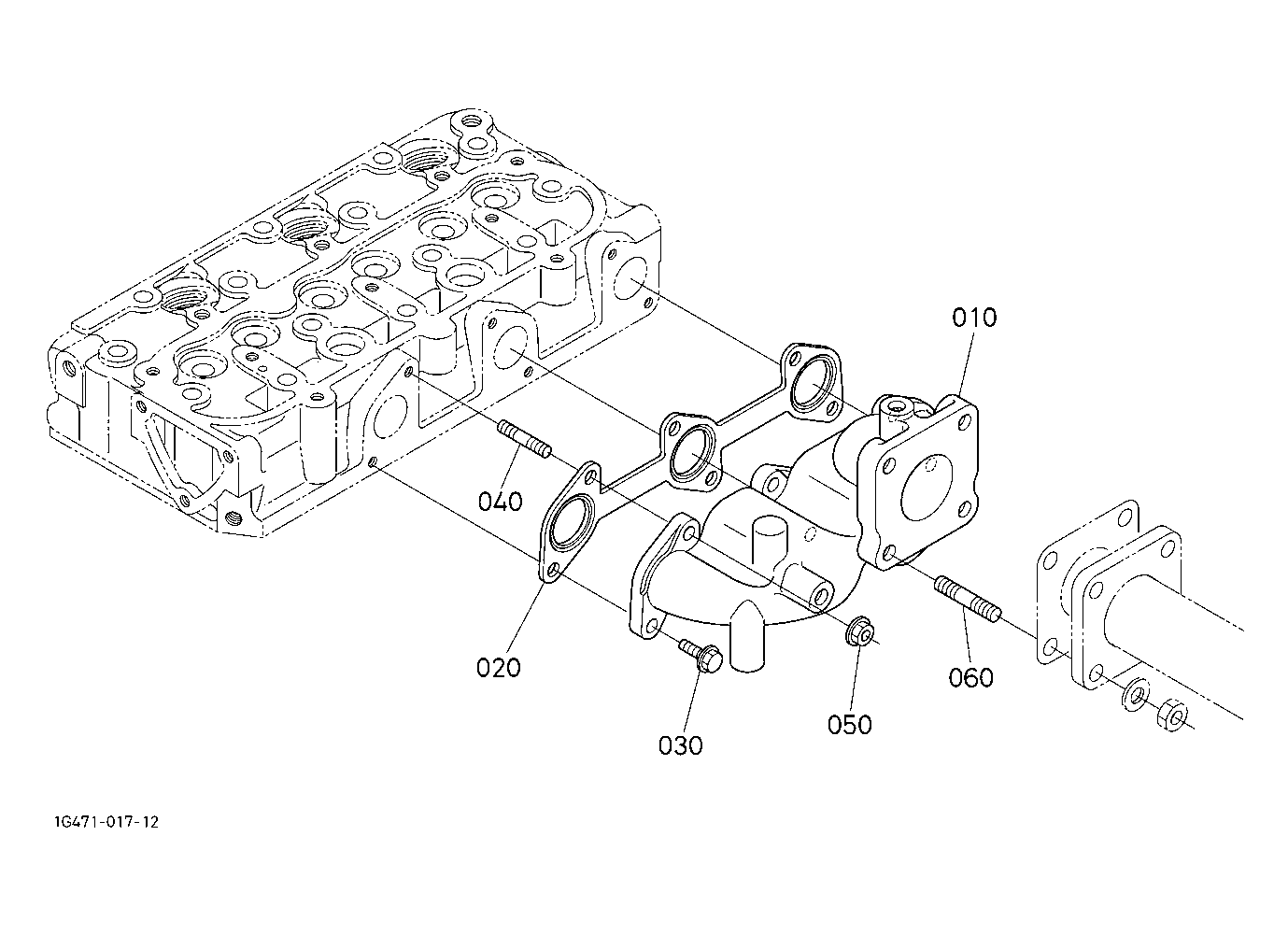
ENGINE 060100 INLET MANIFOLD
ENGINE 060200 EXHAUST MANIFOLD
ENGINE 060301 AIR CLEANER
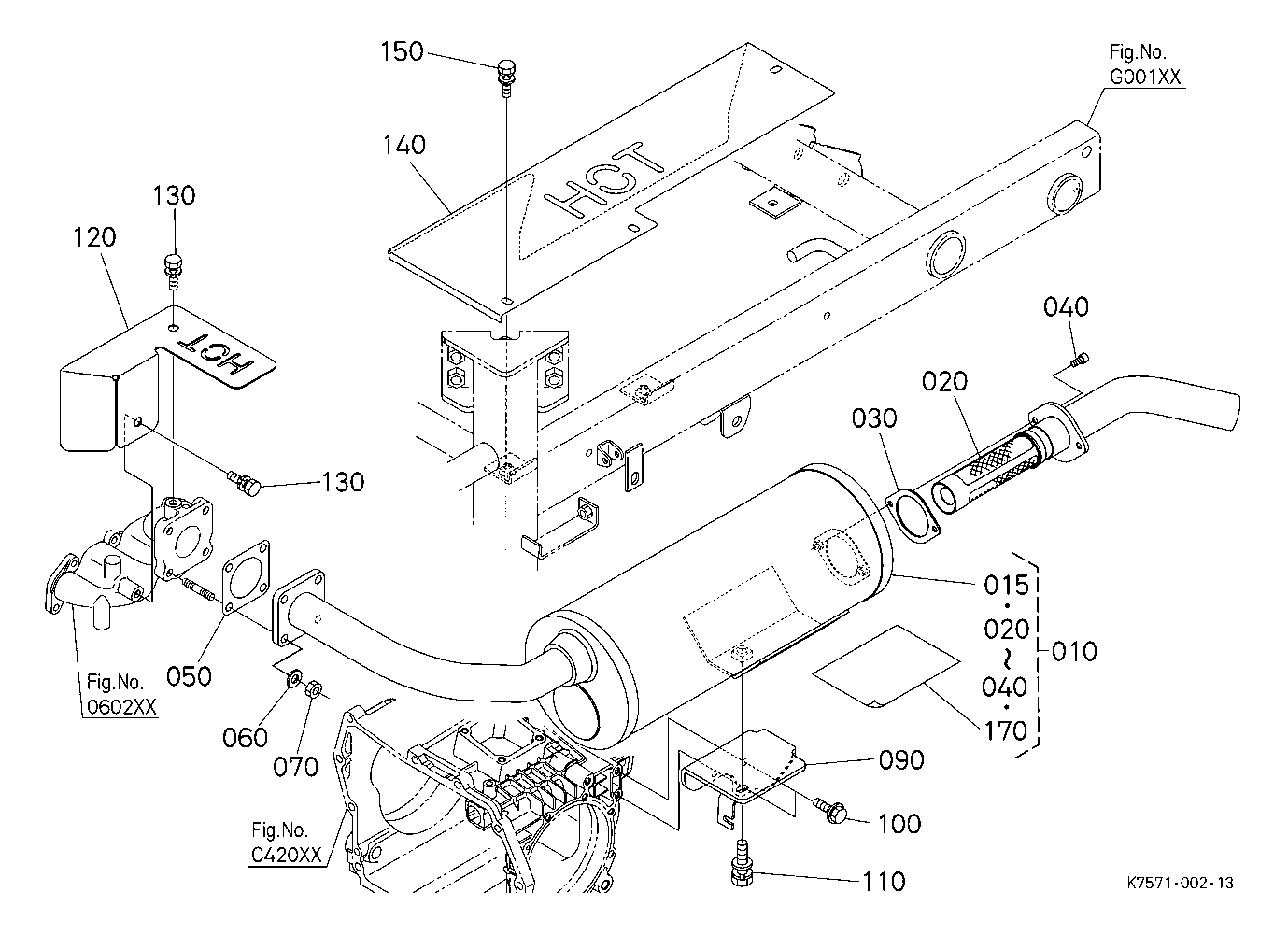
ENGINE 060500 MUFFLER
ENGINE 090000 UPPER GASKET KIT
ENGINE 090100 LOWER GASKET KIT
ENGINE A51000 STOP SOLENOID
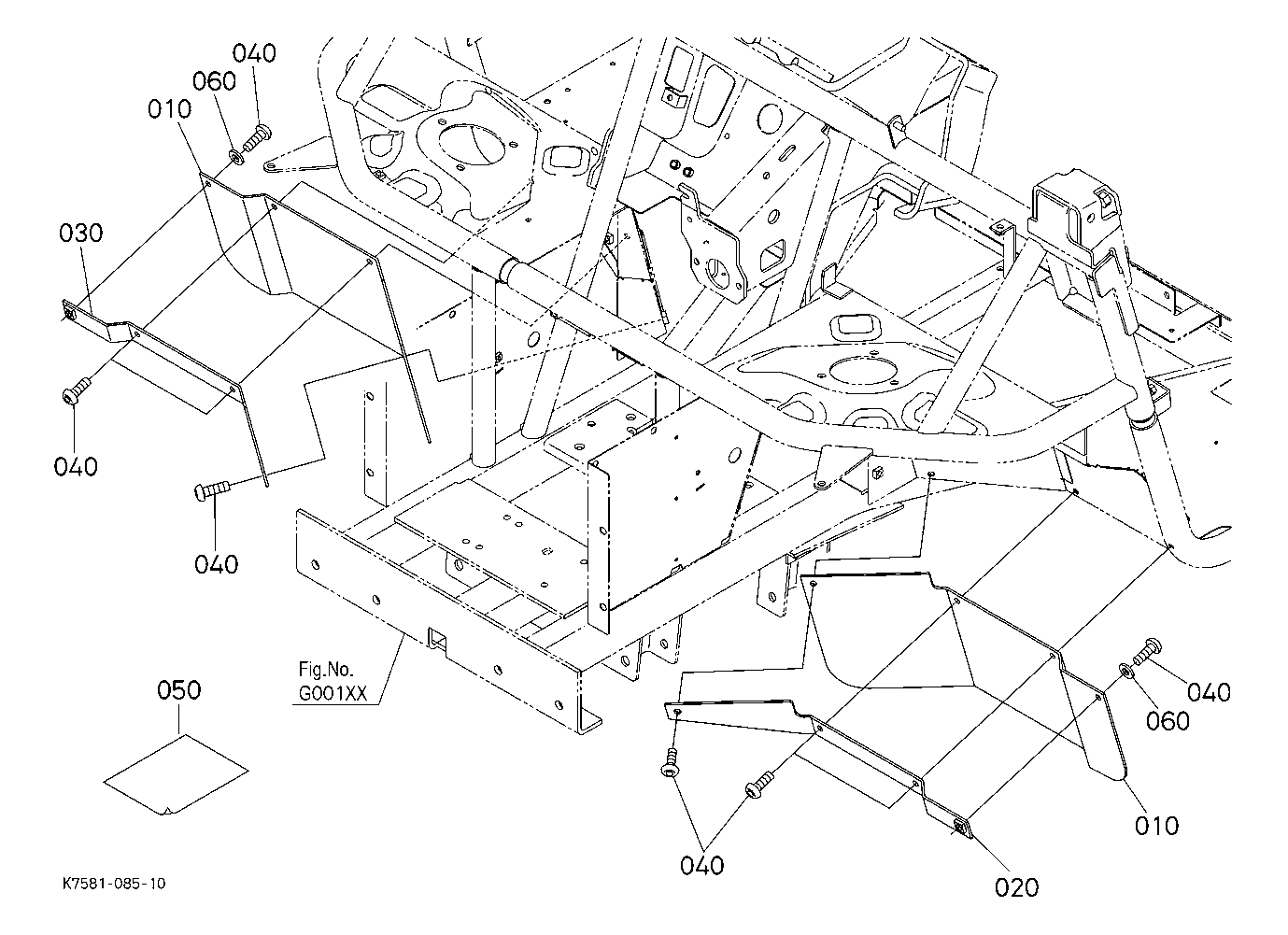
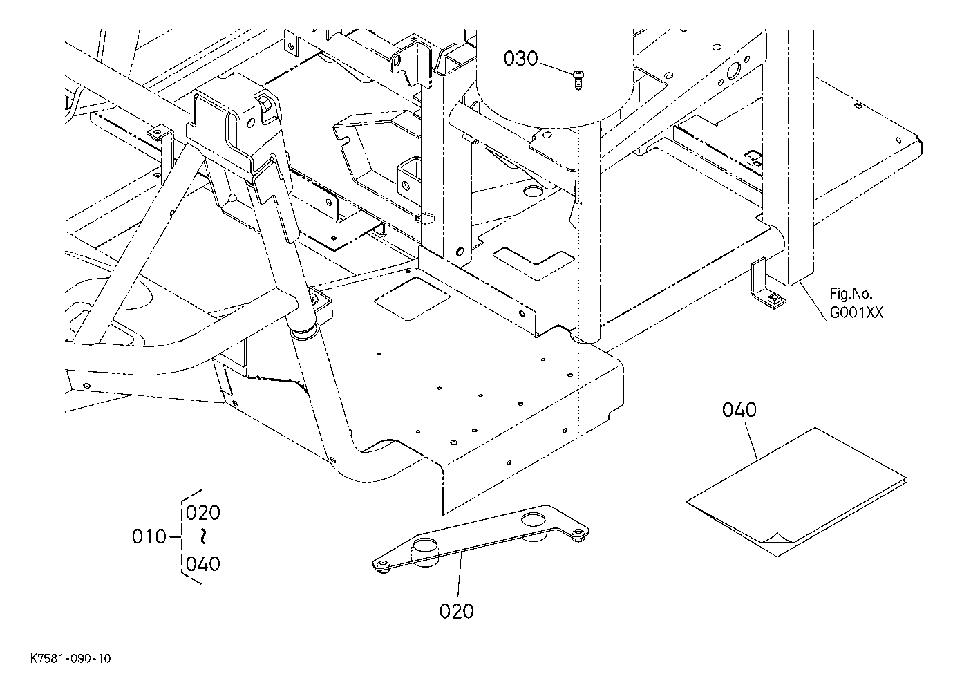
FRAME G00100 MAIN FRAME
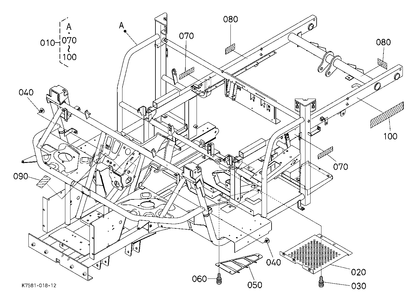
FRAME G00501 TRANSMISSION FRAME
FREQUENTLY USED ITEMS 000001 FREQUENTLY USED ITEMS
FREQUENTLY USED ITEMS 000003 FILTER AND FLUID CAPACITY
FRONT AXLE G10100 FRONT AXLE CASE
FRONT AXLE G10500 DIFFERENTIAL GEAR SHAFT
FRONT AXLE G11000 FRONT DIFFERENTIAL
FRONT AXLE G11500 FRONT DRIVE SHAFT
FRONT AXLE G12000 FRONT AXLE CASE
FRONT AXLE G12501 FRONT AXLE
FRONT AXLE G12700 FRONT DRIVE SHAFT
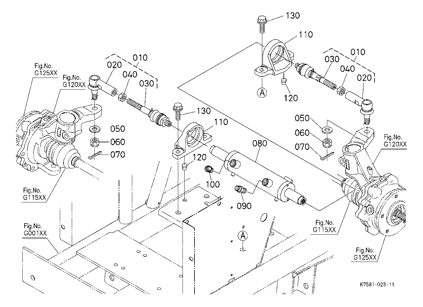
FRONT AXLE G13000 FRONT SUSPENSION
FRONT AXLE G13500 FRONT SUSPENSION [COMPONENT PARTS]
FRONT AXLE G14000 FRONT SUSPENSION ARM ## NOTE ORDER BY #1 REF.No.010,150 and 155 NEW PARTS.,#2 REF.
FRONT REAR TIRE R10101 FRONT WHEEL (2510-12)
FRONT REAR TIRE R10102 FRONT WHEEL (2510-12)
FRONT REAR TIRE R10103 FRONT WHEEL (2512-12)
FRONT REAR TIRE R11001 REAR WHEEL (2511-12)
FRONT REAR TIRE R11002 REAR WHEEL (2510-12)
FRONT REAR TIRE R11003 REAR WHEEL (2512-12)
FUEL SYSTEM A02000 ACCELERATOR PEDAL
FUEL SYSTEM A10100 FUEL TANK
FUEL SYSTEM A11000 FUEL PIPE
HOOD BONNET M10001 FRONT GUARD
HOOD BONNET M10100 FRONT GRILLE
HOOD BONNET M10500 BONNET
HOOD BONNET M12001 SIDE COVER
HOOD BONNET M20101 PANEL FRAME
HOOD BONNET M21000 FENDER
HOOD BONNET M22000 SEAT
HOOD BONNET M22500 STEP
HOOD BONNET M30100 ROPS
HYDRAULIC SYSTEM F14500 UNLOAD LINK ## S.No.; TO A1204
HYDRAULIC SYSTEM F14501 UNLOAD LINK ## S.No.; FROM A1205
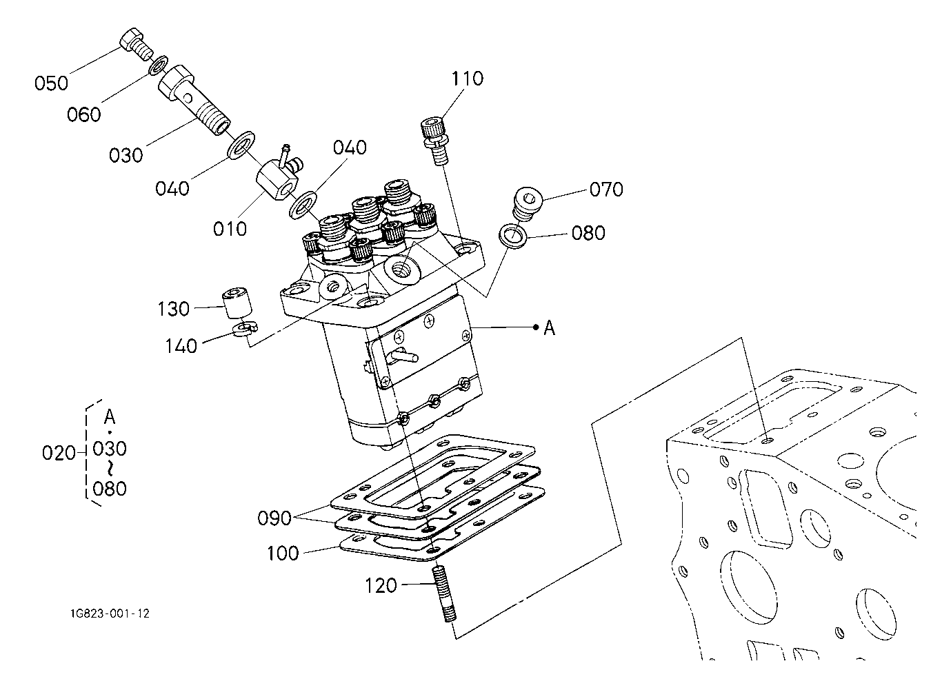
HYDRAULIC SYSTEM J12000 HYDRAULIC PUMP
HYDRAULIC SYSTEM J12500 HYDRAULIC PUMP [COMPONENT PARTS]
HYDRAULIC SYSTEM J21500 HYDRAULIC OIL LINE(STEERING)
HYDRAULIC SYSTEM J23500 HYDRAULIC OIL LINE(HST)
HYDRAULIC SYSTEM J24000 HYDRAULIC OIL LINE(OIL COOLER)
LABELS S11001 LABEL (FRONT)
LABELS S12001 LABEL(REAR)
OPTION U00700 ENGINE OIL GAUGE KIT (W G.No.V4402) [OPTION]
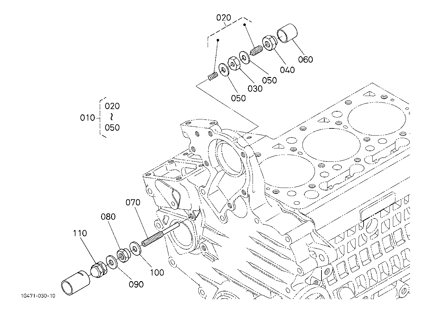
OPTION U01001 HIGH MOUNT AIR CLEANER KIT (ROPS) (W G.No.V4271) [OPTION]
OPTION U01002 HIGH MOUNT AIR CLEANER KIT (CAB) (W G.No.V4272) [OPTION]
OPTION U11500 SPEEDOMETER KIT (W G.No.V4233) [OPTION]
OPTION U12100 BACKUP BEEPER KIT (W G.No.V4232) [OPTION]
OPTION U12300 RADIATOR GUARD KIT
OPTION U12500 OVERHEAT ALARM KIT [OPTION]
OPTION U13300 TURN SIGNAL LIGHT HAZARD LIGHT KIT (W G.No.V4237) [OPTION]
OPTION U13800 WORK LIGHT KIT(FRONT) (W G.No.V4222) [OPTION]
OPTION U13900 WORK LIGHT KIT(REAR) (W G.No.V4223) [OPTION]
OPTION U42000 HAND THROTTLE KIT (W G.No.V4241) [OPTION]
OPTION U53500 FRONT HEAVY LOAD STRUT KIT (W G.No.V4209) [OPTION]
OPTION U53600 FRONT HEAVY LOAD SPRINGS KIT (W G.No.V4219) [OPTION]
OPTION U73101 HYD. BED LIFT KIT (GEAR PUMP) (W G.No.V4242) [OPTION]
OPTION U73102 HYD. BED LIFT KIT (TANK) (W G.No.V4242) [OPTION]
OPTION U73103 HYD. BED LIFT KIT (REMOTE) (W G.No.V4242) [OPTION]
OPTION U73104 HYD. BED LIFT KIT (REMOTE) [COMP.PARTS] (W G.No.V4242) [OPTION]
OPTION U73105 HYD. BED LIFT KIT (LIFT LEVER) (W G.No.V4242) [OPTION]
OPTION U73106 HYD. BED LIFT KIT (LIFT CYL.) (W G.No.V4242) [OPTION]
OPTION U73107 HYD. BED LIFT KIT (LIFT CYL.) [COMP.PARTS] (W G.No.V4242) [OPTION]
OPTION U81100 BED LINER KIT (W G.No.V4229) [OPTION]
OPTION U90101 WINCH MOUNTING KIT (W G.No.V4251) [OPTION]
OPTION U90103 WINCH MOUNTING KIT (W G.No.V4253) [OPTION]
OPTION U91100 FRONT GUARD KIT (W G.No.V4225) [OPTION]
OPTION U91300 FRONT ACCESSORY BOX KIT (W G.No.V4235) [OPTION]
OPTION U92100 GLOVE BOX KIT (W G.No.V4234) [OPTION]
OPTION U92200 FRONT MUD GUARD KIT (W G.No.V4236) [OPTION]
OPTION U92700 HEADREST KIT (W G.No.V4231) [OPTION]
OPTION U92900 TAIL LAMP GUARDS KIT (W G.No.V4227) [OPTION]
OPTION U93501 CANOPY KIT (W G.No.V4221) [OPTION]
OPTION U96000 5-SPOKE ALUMINUM ALLOY WHEEL (W G.No.V4301) [OPTION]
OPTION U96500 HEAD LIGHT KIT [OPTION] ## S.No.;A TO 99407
REAR AXLE D30101 REAR AXLE
REAR AXLE D31000 REAR SUSPENSION
REAR AXLE F20500 DIFFERENTIAL LOCK PEDAL
SPEED CHANGE D20500 RANGE GEAR SHIFT FORK
SPEED CHANGE D21001 RANGE GEAR ARM
SPEED CHANGE D21500 FRONT WHEEL DRIVE ARM
SPEED CHANGE D22500 DIFFERENTIAL LOCK SHIFT FORK
SPEED CHANGE F00100 SPEED CHANGE LEVER
SPEED CHANGE F00500 SPEED CHANGE ROD
SPEED CHANGE F10100 MAIN GEAR SHIFT LEVER
SPEED CHANGE F12000 FRONT WHEEL DRIVE LEVER
STEERING H10100 STEERING HANDLE
STEERING H11000 STEERING CONTROLLER
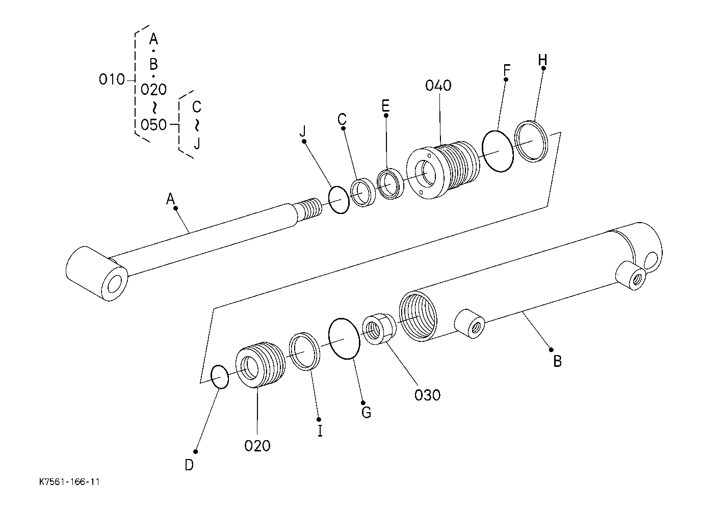
STEERING H12000 STEERING CYLINDER
STEERING H12500 STEERING CYLINDER [COMPONENT PARTS] ## S.No.;A TO A8502
STEERING H12501 STEERING CYLINDER [COMPONENT PARTS] ## S.No.;A FROM A8503
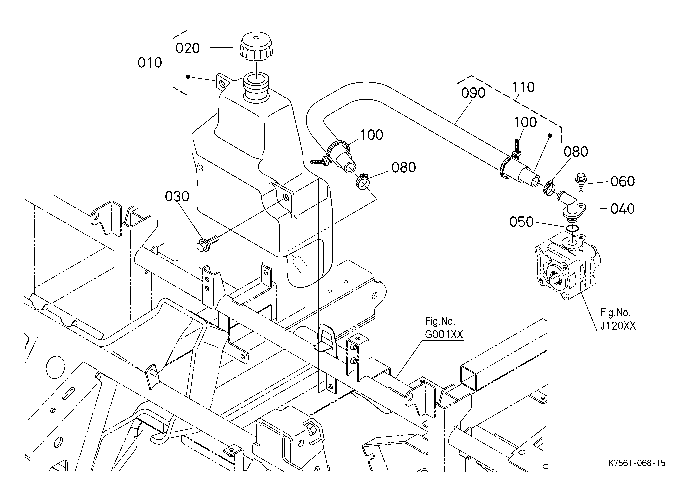
STEERING H13000 STEERING TANK
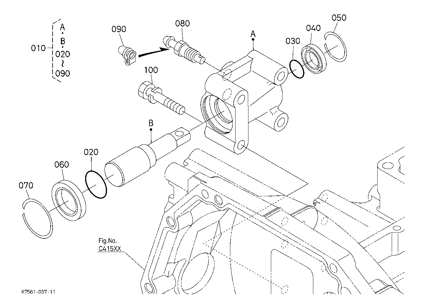
TRANSMISSION C41501 FRONT CASE
TRANSMISSION C42000 TRANSMISSION CASE
TRANSMISSION D01000 HST
TRANSMISSION D01600 HST 1 (CHARGE PUMP) [COMPONENT PARTS]
TRANSMISSION D01700 HST 2 (REGULATOR) [COMPONENT PARTS]
TRANSMISSION D01800 HST 3 (MOTOR SHAFT) [COMPONENT PARTS]
TRANSMISSION D01900 HST 4 (VALVE) [COMPONENT PARTS]
TRANSMISSION D10100 INPUT SHAFT
TRANSMISSION D10500 PROPELLER SHAFT
TRANSMISSION D11000 RANGE GEAR SHAFT
TRANSMISSION D11500 REVERSE SHAFT
TRANSMISSION D12000 IDLE SHAFT
TRANSMISSION D12500 FRONT WHEEL PROPELLER SHAFT
TRANSMISSION D13000 SPIRAL BEVEL PINION
TRANSMISSION D13500 REAR DIFFERENTIAL
TRANSMISSION D14000 REAR WHEEL PROPELLER SHAFT
TRANSMISSION T20100 TRANSMISSION KIT
USEFUL PRODUCTS 000010 USEFUL PRODUCTS
USEFUL PRODUCTS 000021 USEFUL PRODUCTS ## (KTC) Local option
USEFUL PRODUCTS 000030 USEFUL PRODUCTS ## (KTC) Local option
New to our website?Creating an account is easy and quick!
Our website uses cookie to give you the best online shopping experience. More information Accept