Model added to My Equipment.Click 'My Equipment' to view updated list.
ACCESSORIES AND SERVICE PARTS P00100 ACCESSORIES AND SERVICE PARTS
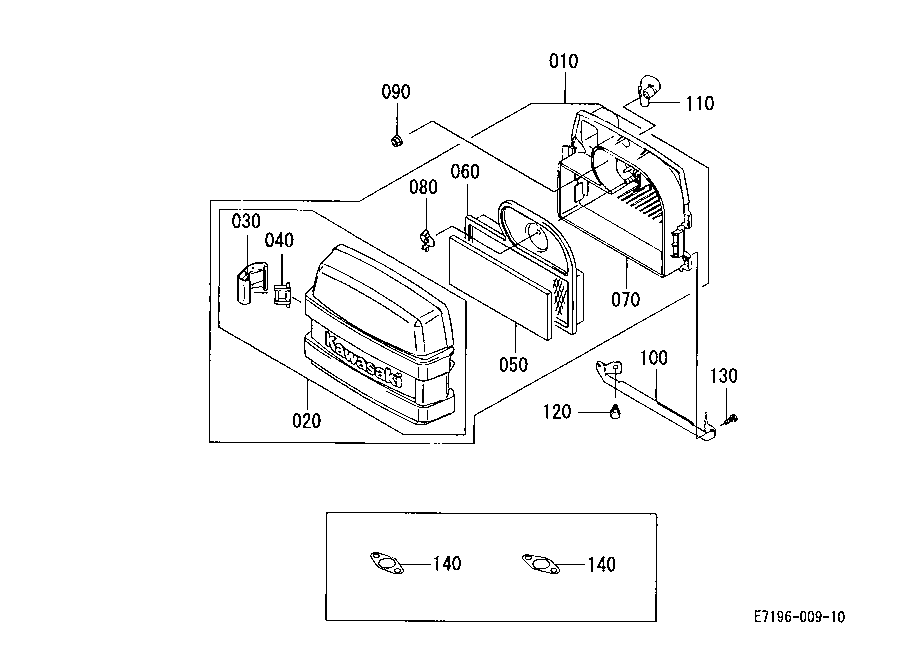
BONNET G00102 HOOD (BONNET)
BONNET G01000 PANEL COVER ## WITHOUT EC
BONNET G03002 FENDER
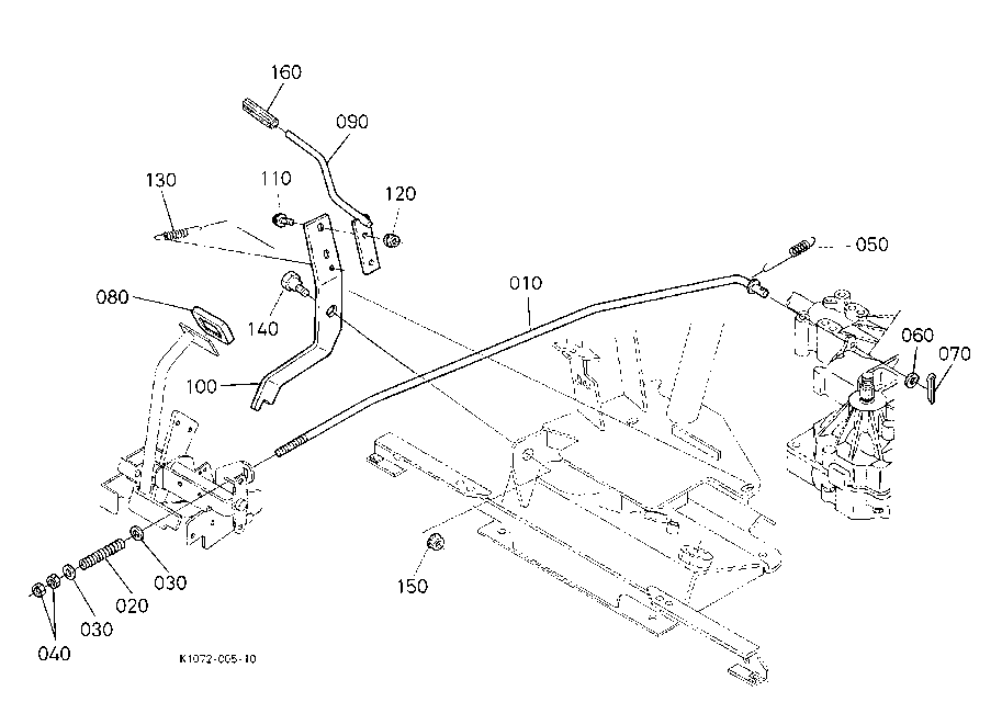
BRAKE D53002 BRAKE ROD
ELECTRICAL SYSTEM B01000 BATTERY ## WITHOUT EC
ELECTRICAL SYSTEM B10001 ELECTRICAL PARTS ## [A][CA][AU]
ELECTRICAL SYSTEM B50001 ELECTRICAL WIRING ## [A][CA][AU]
ENGINE 100100 CRANK CASE AND CYLINDER HEAD
ENGINE 100600 OIL FILTER
ENGINE 110200 PISTON AND CRANKSHAFT
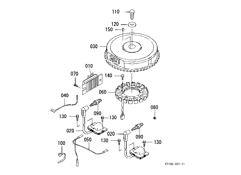
ENGINE 110301 FLYWHEEL
ENGINE 120301 CABURETTOR(COMPONENT PARTS)
ENGINE 120500 SPEED CONTROL LEVER
ENGINE 120700 FUEL PUMP (ELECTRICAL)
ENGINE 140500 STARTER (COMPONENT PARTS)
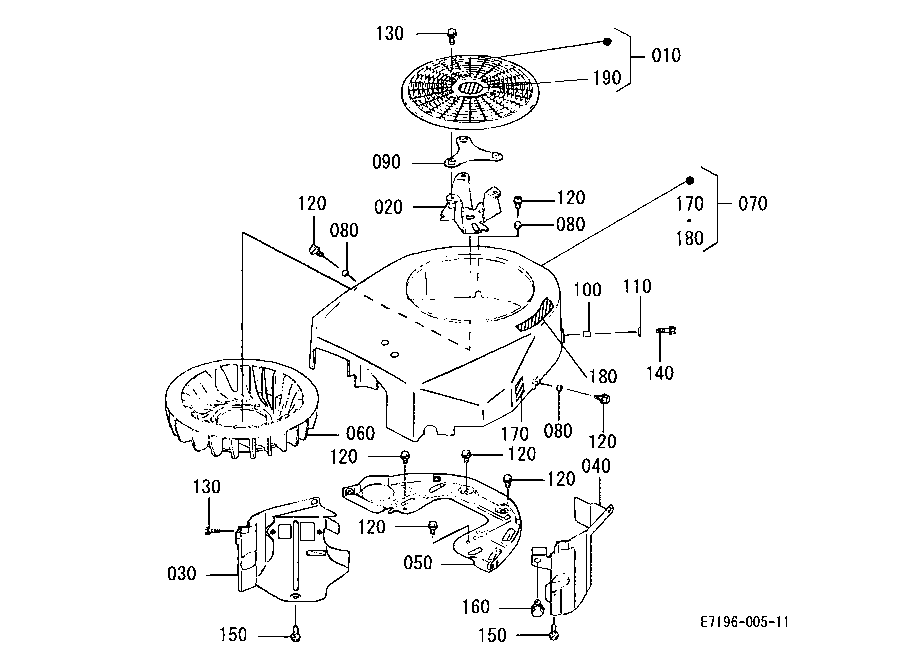
ENGINE 150700 FAN COVER
ENGINE 160000 VALVE AND ROCKER ARM
ENGINE 160300 AIR CLEANER
ENGINE 180900 LABEL
ENGINE A00503 MUFFLER ## [WITHOUT EC]
FREQUENTLY USED ITEMS 000003 FREQUENTLY USED ITEMS
FRONT AXLE FRONT WHEEL E10002 FRONT WHEEL
FUEL SYSTEM A01000 ACCELERATOR LEVER
FUEL SYSTEM A10003 FUEL TANK
LABELS G10000 LABEL ## WITHOUT EC
MAIN FRAME E50003 MAIN FRAME STEERING SUPPORT
REAR WHEEL (16X6.50-8) D20002 REAR WHEEL
SEAT G04002 SEAT
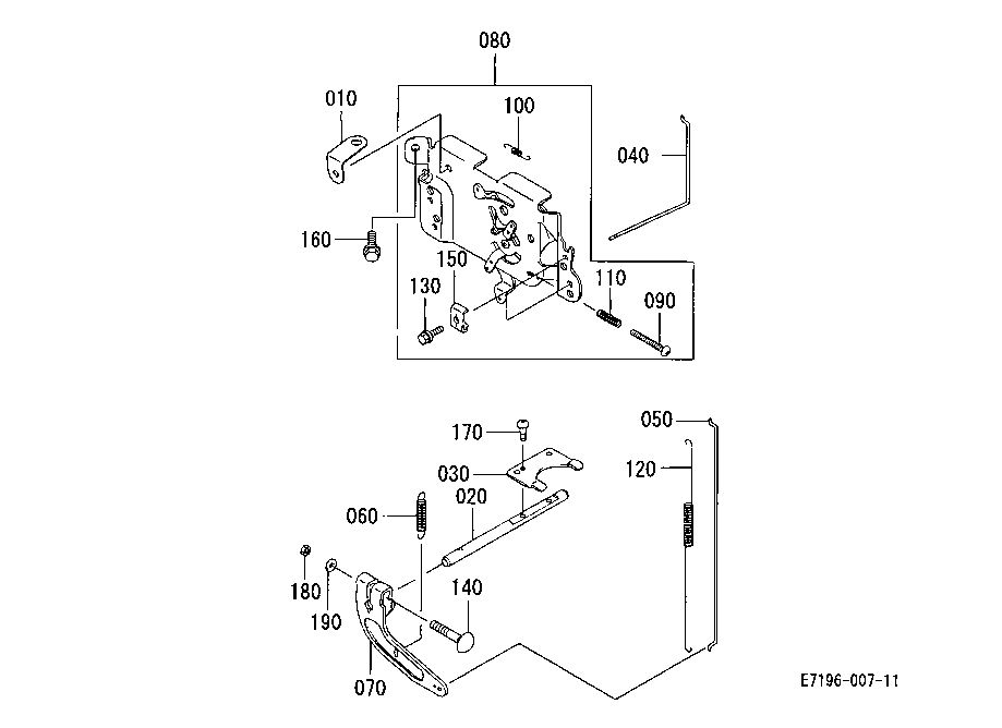
SPEED CHANGE D70002 SPEED CHANGE PEDAL ## [A][CA][AU]
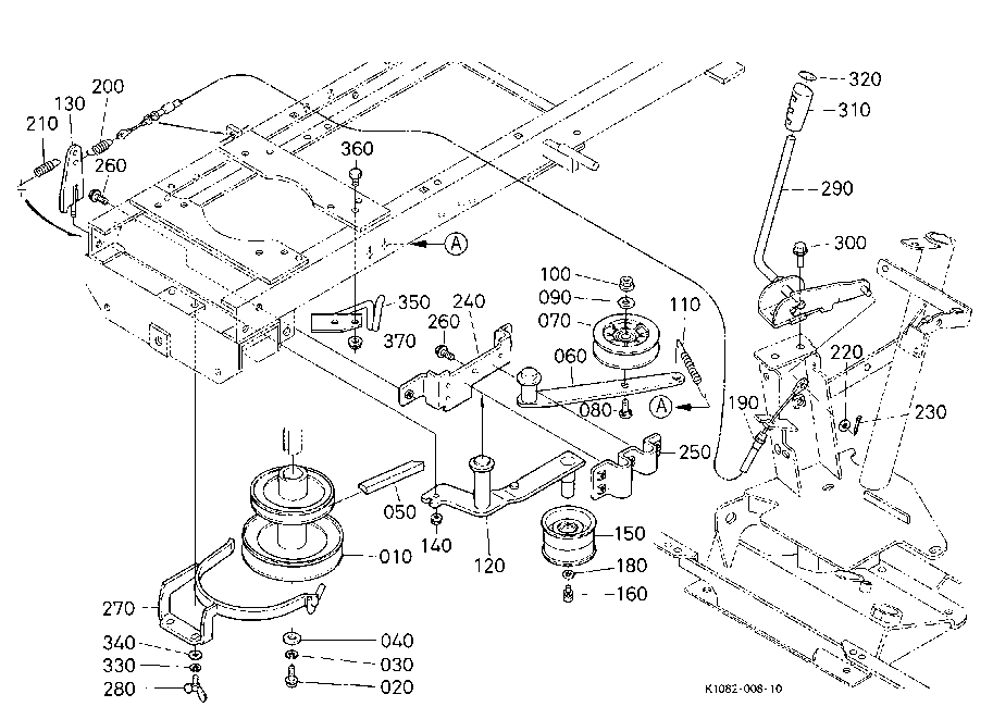
SPEED CHANGE D73002 PTO CLUTCH CONTROL LEVER WIRE
STEERING E70000 POWER STEERING STEERING HANDLE
STEERING F35000 LIFT LINK
TRANSMISSION C40002 HST
TRANSMISSION C40004 HST ## [AU]
TRANSMISSION C40502 HST (COMPONENT PARTS)
TRANSMISSION C40503 HST (COMPONENT PARTS)
USEFUL PRODUCTS 000013 USEFUL PRODUCTS
New to our website?Creating an account is easy and quick!
Our website uses cookie to give you the best online shopping experience. More information Accept