Model added to My Equipment.Click 'My Equipment' to view updated list.
ACCESSORIES R10100 ACCESSORIES
BONNET M21000 FENDER (RH)
BONNET M21100 FENDER (LH)
BONNET M22000 SEAT
BONNET M22400 SEAT BASE
BONNET M22500 STEP
BONNET M30100 ROPS
BRAKE SYSTEM E00500 BRAKE ROD
BRAKE SYSTEM E01500 PARKING BRAKE
CLUTCH TRANSMISSION REAR AXLE C44000 HST
CLUTCH TRANSMISSION REAR AXLE C45000 HST RH [COMPONENT PARTS]
CLUTCH TRANSMISSION REAR AXLE C45500 HST LH [COMPONENT PARTS]
CLUTCH TRANSMISSION REAR AXLE C50000 HST PULLEY
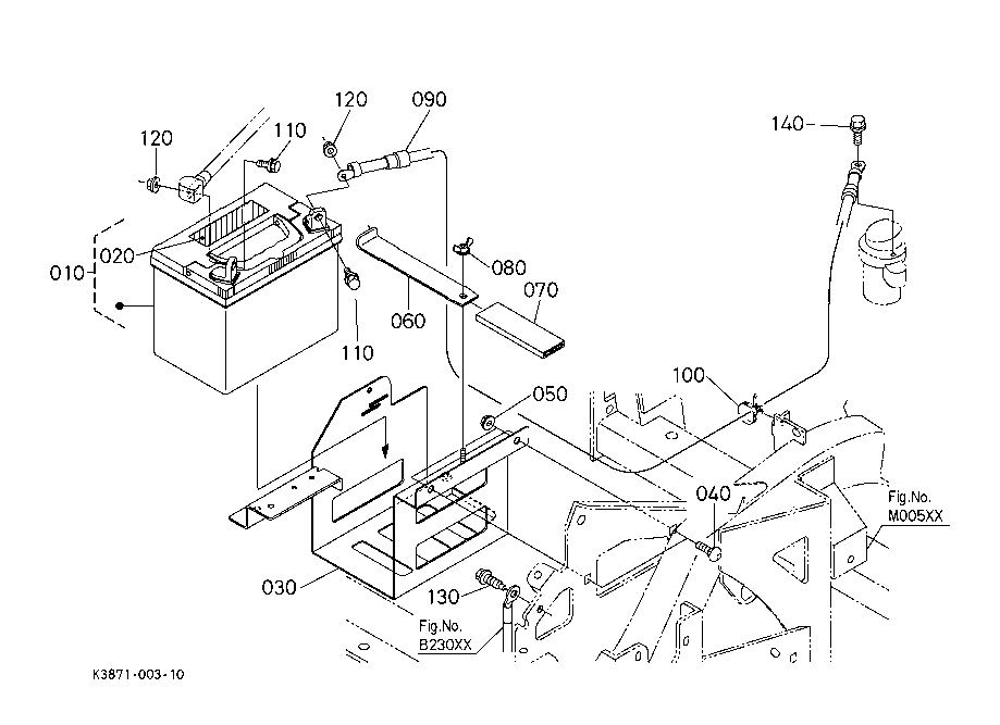
ELECTRICAL SYSTEM A53500 BATTERY
ELECTRICAL SYSTEM B10100 SWITCH
ELECTRICAL SYSTEM B23000 ELECTRICAL WIRING
ELECTRICAL SYSTEM B90100 WORK LIGHT KIT (W G.No.Z3318 Z3318A) [OPTION] ## [LIGHT KIT Z700 LED]
ENGINE 000101 ENGINE
ENGINE 260501 MUFFLER
FRAME M00500 MAIN FRAME
FRAME M01000 UPPER FRAME
FREQUENTLY USED ITEMS 000001 FREQUENTLY USED ITEMS
FREQUENTLY USED ITEMS 000003 FREQUENTLY USED ITEMS
FRONT AXLE G10501 FRONT AXLE BRACKET
FRONT WHEEL REAR WHEEL N10101 FRONT WHEEL (135.0-6)
FRONT WHEEL REAR WHEEL N11001 REAR WHEEL (249.5-12)
FUEL SYSTEM A01000 ACCELERATOR LEVER
FUEL SYSTEM A10100 FUEL TANK
FUEL SYSTEM A20000 CARBON CANISTER
HOOD (BONNET) M22100 SEAT SUSPENSION (W G No.Z3359) [OPTION] ## [Z700 SEAT SUSP. KIT]
HOOD (BONNET) M30101 ROPS [OPTION] ## [SFZ-F726]
LABELS P10101 LABELS (ENGLISH SPANISH)
LABELS P10102 LABELS (FRENCH)
LIFT ROD LOWER LINK L10301 MOWER LIFT ARM
LIFT ROD LOWER LINK L10901 LIFT KIT [OPTION] ## [Z700 LIFT KIT]
LIFT ROD LOWER LINK L10902 LIFT KIT [OPTION] ## [Z700 LIFT KIT GC]
LIFT ROD LOWER LINK L11500 HITCH KIT [OPTION] ## [HITCH KIT Z700]
MOTION CONTROL LEVER F14100 MOTION CONTROL LEVER RH
MOTION CONTROL LEVER F14200 MOTION CONTROL LEVER LH
MOTION CONTROL LEVER F14500 SPEED CONTROL ROD
USEFUL PRODUCTS 000010 USEFUL PRODUCTS
New to our website?Creating an account is easy and quick!
Our website uses cookie to give you the best online shopping experience. More information Accept