Model added to My Equipment.Click 'My Equipment' to view updated list.
Chain Shielding (Pull-Type & Mounted) Assembly
Crossbar Puller - Optional (Pull-Type & Mounted) Assembly
Drive Shaft & Shield Assembly (Pull-Type Units Only)
Front 2/3 Drive Line (Pull-Type Units Only - With 1-1/2 inch Square Telescopic Shaft) 540 RPM Assemb
Front 2/3 Of 3-Joint Drive For Splined Telescopic Shaft (Pull-Type Units Only) 540 RPM Assembly
Front 2/3 Of 3-Joint Drive Two-Lobe Drives Assembly
Height Adjustment Crank Kit - Optional (Pull-Type & Mounted) Assembly
Hydraulic Cylinder - Optional (Pull-Type & Mounted) Assembly
Input Gearbox 1:1.35 (540 RPM, Pull-Type & Mounted) Assembly
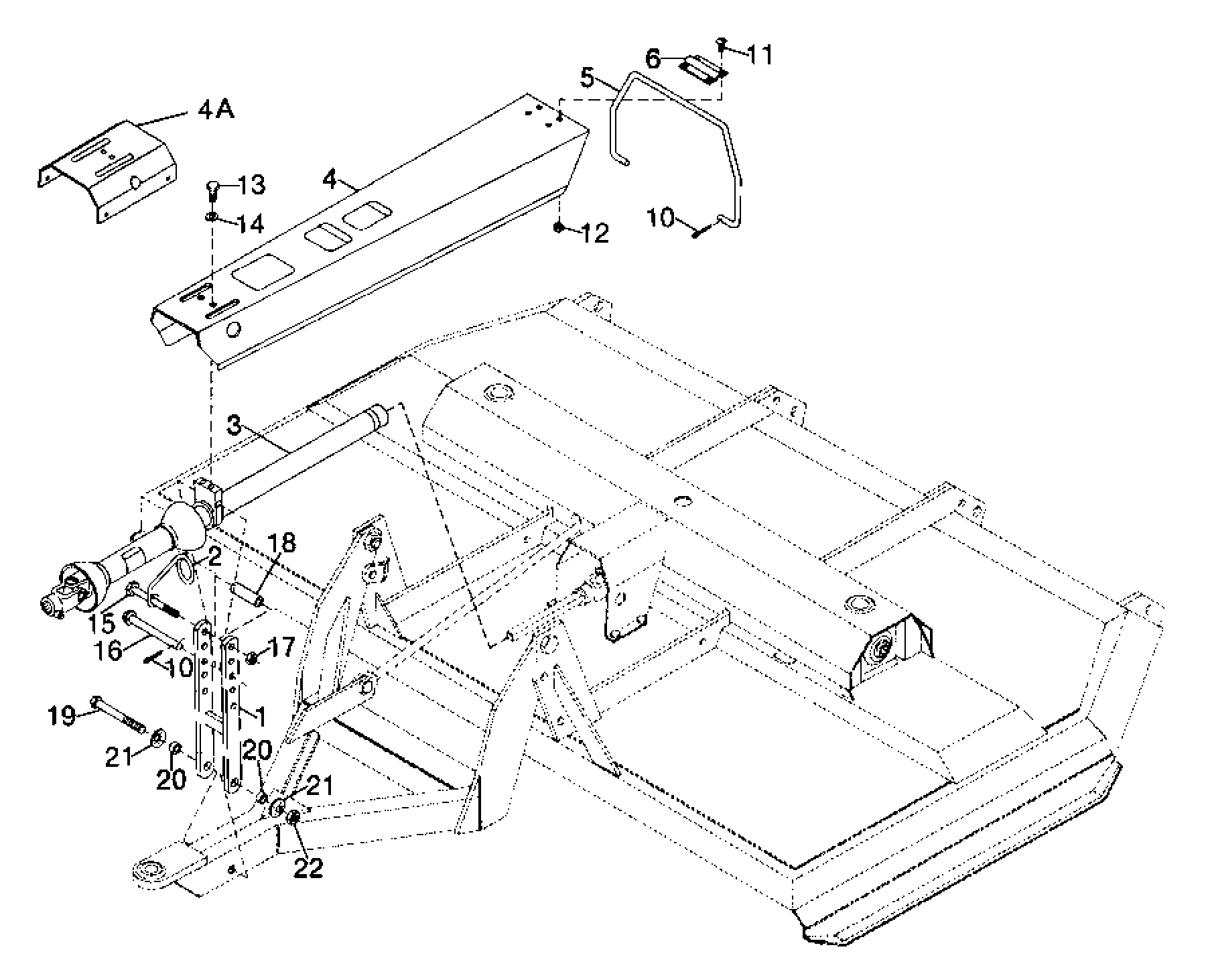
Main Frame Assembly (Pull-Type & Mounted)
Parking Jack (Pull-Type Units Only) Assembly
Rear Drive Assembly With Splined Telescopic Shaft (Pull-Type Units)
Rear Height Adjustment Assembly (Pull-Type & Mounted)
Safety & Instructional Decals (Part 1) Assembly
Safety & Instructional Decals (Part 2) Assembly
Safety & Instructional Decals (Part 3) Assembly
Slip Clutch Assembly With 1-1/2 inch Square Slip Sleeve Shaft (Pull-Type & Mounted)
Spindle Gearbox Assembly (Pull-Type & Mounted) 540 RPM
Spring Wheel Yoke Arms (Pull-Type Units Only) Assembly
Stump Jumper - Optional (Pull-Type & Mounted) Assembly
Tailwheel Yoke Assembly (Pull-Type Units Only)
Tongue Assembly (Pull-Type Units Only)
Wheel & Tire (Pull-Type & Mounted) Assembly
New to our website?Creating an account is easy and quick!
Our website uses cookie to give you the best online shopping experience. More information Accept