Model added to My Equipment.Click 'My Equipment' to view updated list.
Axle Housing (770 Series) Assembly
Blower & Drive Assembly (For D4412-1, D4418-1, D5218-1 & D6118-1 Decks Only)
Clutch Replacement Assembly
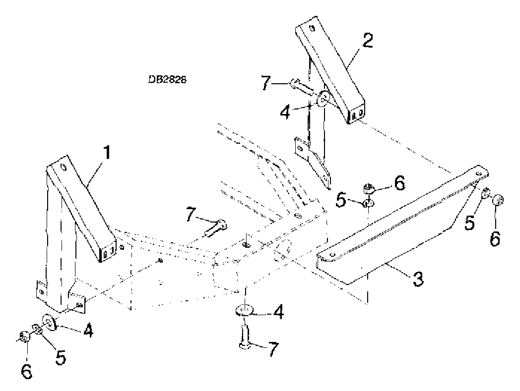
Counterweight Mount Kit (Optional) Assembly
D4418-1 - 44 inch Mower Assembly
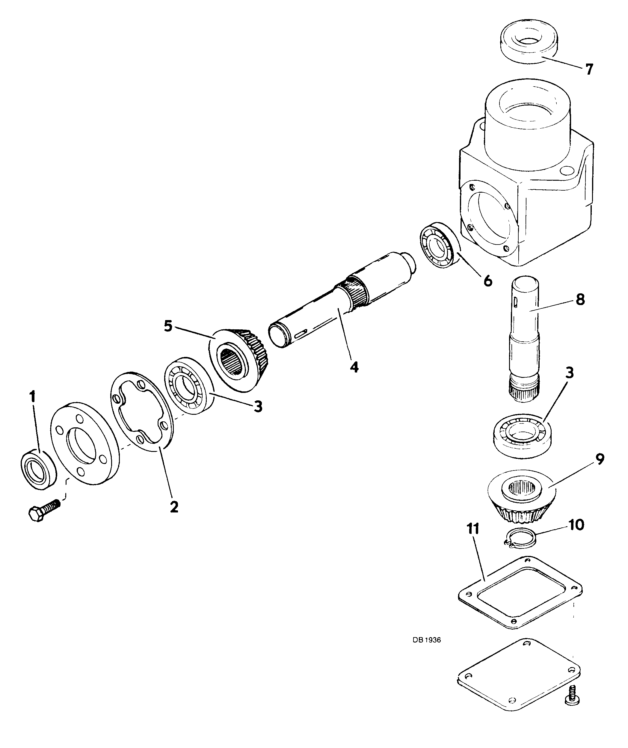
D4418-1 Right Angle Gearbox Assembly
D4818-2 - 48 inch Mower Assembly
D5218-1 - 52 inch Mower Assembly
D5218-2 - 52 inch Mower Assembly
D6118-1 - 61 inch Mower Assembly
D6118-2 - 61 inch Mower Assembly
D7221-1 - 72 inch Mower Assembly
D7221-1 & -2 Right Angle Gearbox Assembly
Dozer Assembly DB480
Drive Linkage Assembly
Dual Tailwheel Assembly (Standard)
Dual Yoke Dual Tailwheel Assembly (Optional)
Final Drive Assembly (770 Series)
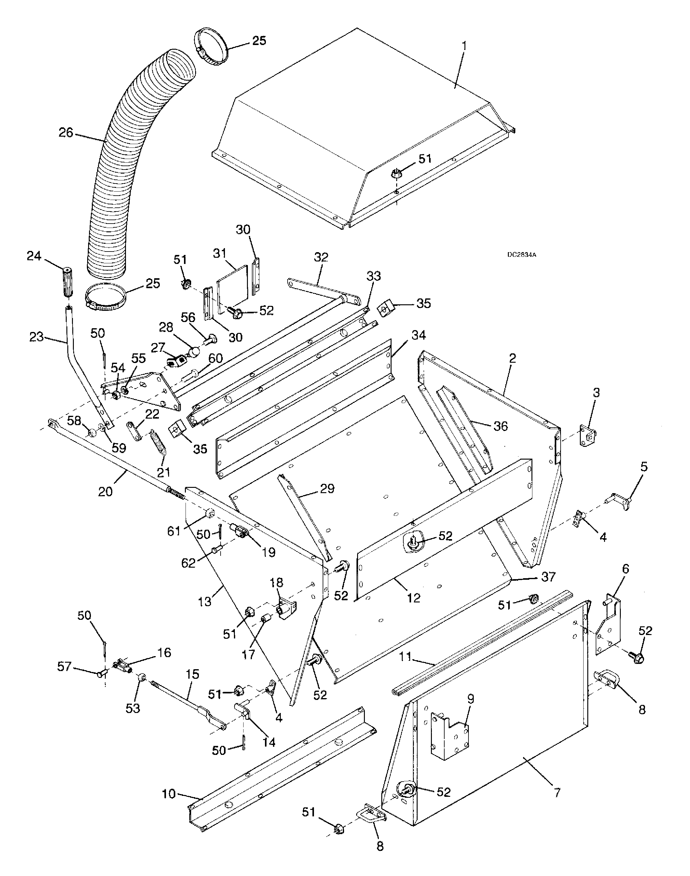
Grasscatcher - Dual Bag Assembly
Grasscatcher - Single Bag Assembly
Grasscatcher Mounting Brackets Assembly
Hydraulic Reservoir & Hoses Assembly
Main Housing Assembly - (770 Series) (5180 & 5200 Series Tractors)
Metal Hopper Assembly
Metal Hopper Mount Brackets Assembly
Mower Spindle & Blade Assembly
PTO Shaft & Clutch Assembly
Right Angle Gearbox - CCW Input Assembly
ROPS & Canopy Assembly (Optional)
Safety Decals I Assembly
Safety Decals II Assembly
Safety Decals III Assembly
Safety Decals IV Assembly
Seat Assembly
Sheave & Fan Assembly
Single Yoke Dual Tailwheel Assembly (Optional)
Single Yoke Tailwheel Assembly (Standard)
Snowthrower Assembly
Sweepster Assembly
Tire Chains (Optional) Assembly
Tractor Assembly
Tractor Drive Assembly
Vacuum & Drive Assembly (For D4414-1, D04814-1, D4818-2, D5218-2 & D6118-2 Decks Only)
Weight Transfer Kit (Optional) Assembly
Wiring Diagram Assembly
New to our website?Creating an account is easy and quick!
Our website uses cookie to give you the best online shopping experience. More information Accept