Model added to My Equipment.Click 'My Equipment' to view updated list.
3-1/2 x 10 inch Hydraulic Cylinder (Lantex) Assembly
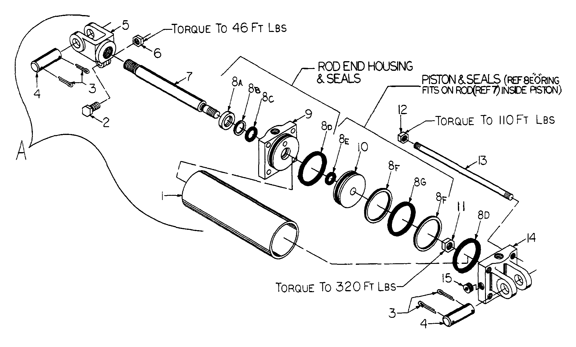
3-1/2 x 10 inch Hydraulic Cylinder Assembly
9144 Rear Deck & 9180 Wings Sheave & Idler Assembly
9144 Wings Sheave & Idler Assembly
Blade Assembly
Blade Spindle Assembly
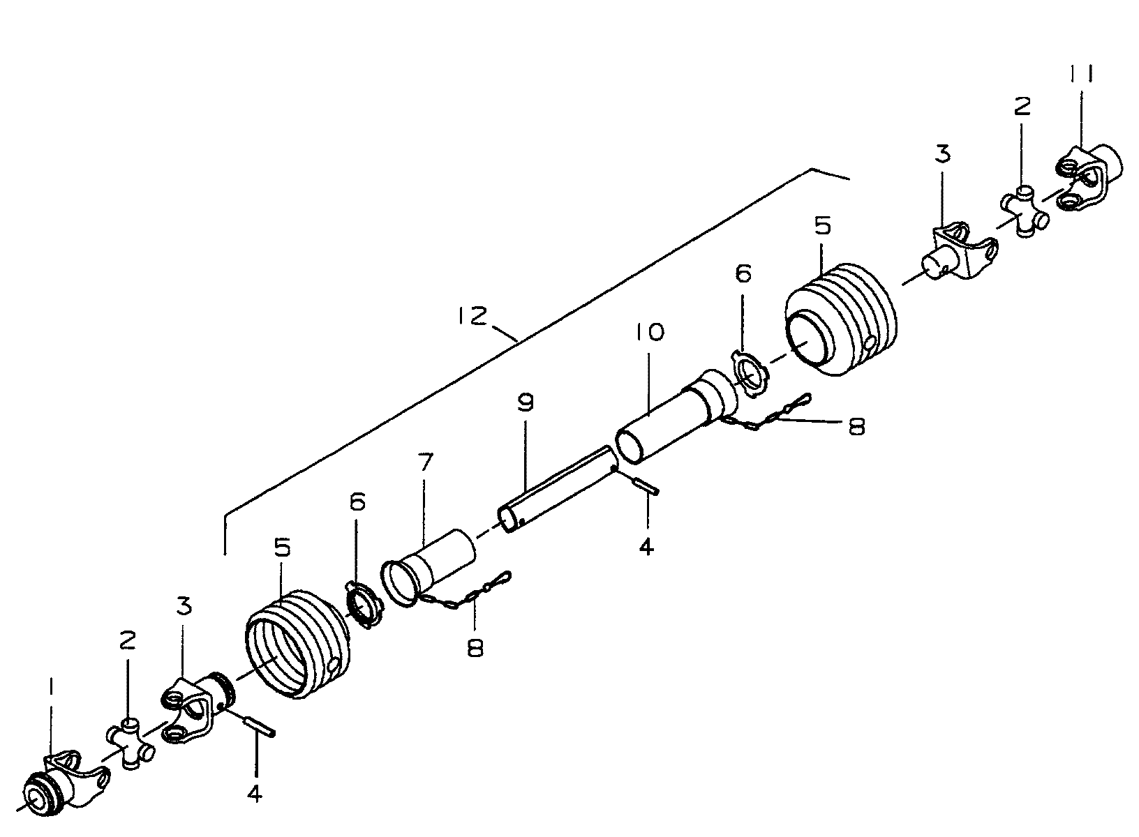
Front 1/3 Of 3-Joint Drive Assembly
Gearbox Assembly
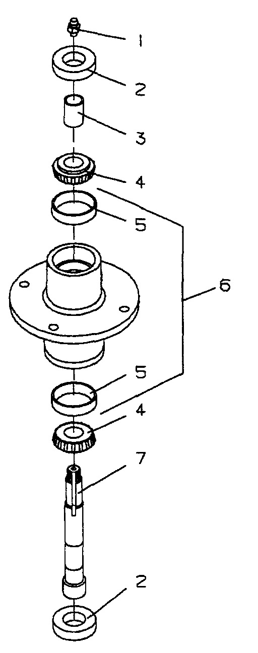
Hub & Axle Assembly
inch3 x 8 inch Single-Acting Hydraulic Cylinder Assembly
Main Frame Assembly
Rear & Wing Drives Assembly
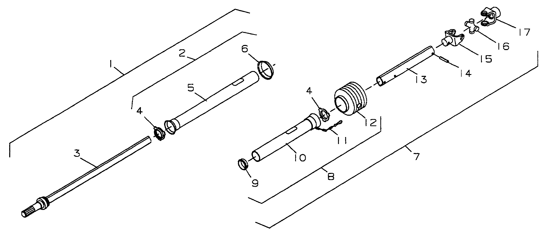
Rear 2/3 Of 3-Joint Drive Assembly
Rear Deck Assembly
Trailer Assembly
Trailer Rope Assembly
Wing & Frame Assembly
Wing Deck Assembly
New to our website?Creating an account is easy and quick!
Our website uses cookie to give you the best online shopping experience. More information Accept