Model added to My Equipment.Click 'My Equipment' to view updated list.
1-1/2 Bore x 12 inch Stroke DA Hydraulic Cylinder (Lantex Cylinder) Assembly
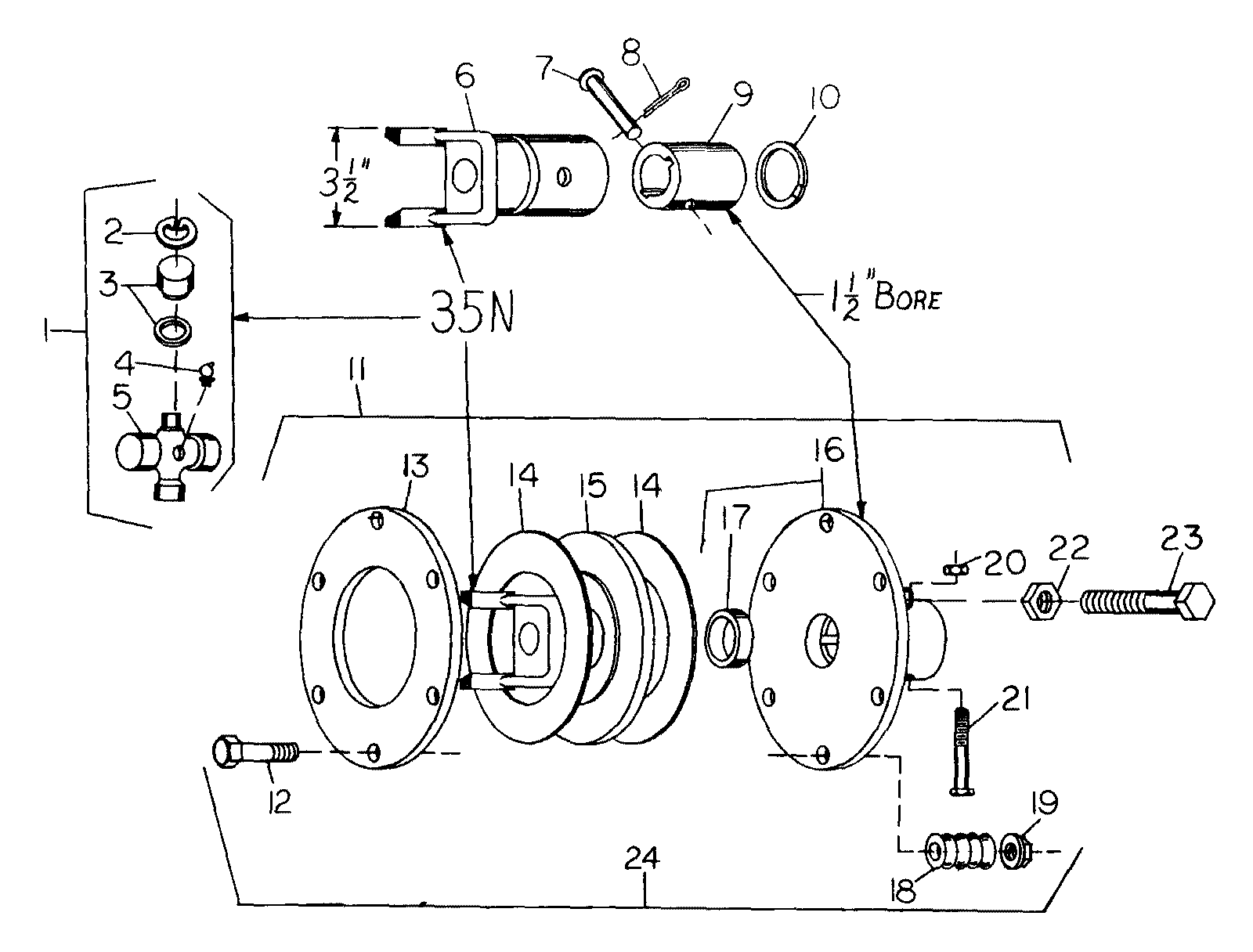
1-1/2 Square Shaft With Shear Pin Or Slip Clutch 1-1/2 inch Bore, 35N Yoke Assembly
1-1/2 Square Shft With Shear Pin Or Slip Clutch 1-1/2 inch Bore, 86 Yoke(Opt) Assembly
15 inch Wheel Assemblies & 6.00 9 Solid Tire (21 inch OD) Assembly
15 inch Wheels With Standard-Duty Hub (2-5/16 inch OD At Hub Cap End) Assembly
2-1/2 inch Bore x 12 inch Stroke DA Hydraulic Cylinder (Bruning Cylinder) Assembly
3 Spool, 3 Way Valve Assembly
3-1/2 inch Bore x 8 inch Stroke Hydraulic Cylinder (Lantex Or Hydroline Cyl) Assembly
3-1/2 inch Bore x 8 inch Stroke Hydraulic Cylinder ( inchMonarch inch Stamped Cyl) Assembly
3-1/2 inch Bore x 8 inch Stroke Hydraulic Cylinder (10-1/16 inch Long) Assembly
3-1/2 inch Bore x 8 inch Stroke Hydraulic Cylinder (10-1/2 inch Long) Assembly
3-1/2 inch Bore x 8 inch Stroke Hydraulic Cylinder (10-5/8 inch Long) Assembly
Cable Winch Assembly
Center Gearbox Assembly
Center Section Main Assembly
Chain Shielding Assembly
Crossbar Puller Assembly Instruction (Crossbar With Hydraulic Jack)
Crossbar Puller Assembly Instruction (Crossbar With Wrench)
ETC Wing Drive Assembly
Front 2/3 Of 3-Joint Drive - 86 Series Assembly
Front 2/3 Of 3-Joint Universal Drive 35N Assembly
Gear Winch Assembly (New Style)
Gear Winch Assembly (Old Style)
Gearbox Assembly 1000 RPM (1:35.1 Ratio)
Hydraulic Motor And Pump (Cessna) Assembly
Hydraulic System Assembly
Integral Universal Joint Shielding (For LI4N & 35N Drive Shafts) Assembly
Shear Pin & 12S Slip Clutch With 1-1/2 Bore, 86 York Assembly
Shear Pin & Slip Clutch With 1-1/2 Bore, 35N Yoke Assembly
Stump Jumper Assembly
Swivel Parking Jack I Assembly
Swivel Parking Jack II Assembly
Tongue & Drive Extender Kit (RPM 1000) Assembly
Wing Main Assembly (320 Wings)
New to our website?Creating an account is easy and quick!
Our website uses cookie to give you the best online shopping experience. More information Accept