Model added to My Equipment.Click 'My Equipment' to view updated list.
Attachment: 1040225 3-POINT MOUNTING KIT Assembly
BH65 BOOM ASSEMBLY
BH65 CONTROL VALVE ASSEMBLY
BH65 CONTROL VALVE HARDWARE Assembly
BH65 DIPPER/BUCKET ASSEMBLY
BH65 HOSES & FITTINGS Assembly
BH65 SWING FRAME ASSEMBLY
BH65 THUMB ASSEMBLY (OPTIONAL)
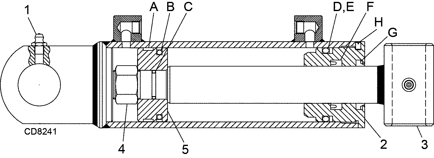
HYDRAULIC CYLINDERS Assembly
MAIN FRAME ASSEMBLY
STABILIZER STREET PAD KIT (OPTIONAL) Assembly
New to our website?Creating an account is easy and quick!
Our website uses cookie to give you the best online shopping experience. More information Accept