Model added to My Equipment.Click 'My Equipment' to view updated list.
5-BOLT WHEEL & TIRE ASSEMBLY
BW240HD Shredder Kit (Optional) Assembly
CENTER DECK DRIVE ASSEMBLY
CHAIN SHIELDING - CENTER SECTION (OPTIONAL) - DOUBLE ROW Assembly
CHAIN SHIELDING - CENTER SECTION (OPTIONAL) - SINGLE ROW Assembly
CHAIN SHIELDING - WING (OPTIONAL) - DOUBLE ROW Assembly
CHAIN SHIELDING - WING (OPTIONAL) - SINGLE ROW Assembly
CROSSBAR PULLER (OPTIONAL) Assembly
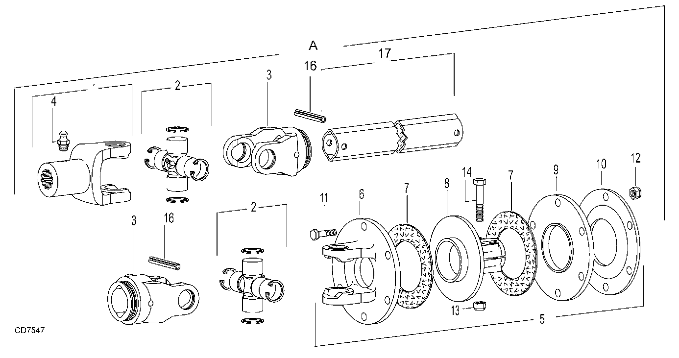
FRONT 3-JOINT DRIVE ASSEMBLY (EQUAL ANGLE) 540 ONLY
HYDRAULIC CYLINDER STROKE CONTROL KIT Assembly
HYDRAULIC CYLINDERS (3-1/2 X 16) Assembly
Hydraulic Cylinders (3-1/2 x 8) Assembly
MAIN FRAME ASSEMBLY (FRONT SECTION)
MAIN FRAME ASSEMBLY (REAR SECTION)
REAR 3-JOINT DRIVE ASSEMBLY (EQUAL ANGLE)
RUBBER SHIELDING - CENTER SECTION (Standard) Assembly
RUBBER SHIELDING - WING (Standard) Assembly
SPLITTER GEARBOX ASSEMBLY (1000 RPM)
SPLITTER GEARBOX ASSEMBLY (540 RPM)
TANDEM AXLE WHEEL YOKE (OPTIONAL) Assembly
TYPE A - 1000 RPM FRONT CV DRIVE (1000 RPM 1-3/4 20-Splined) Assembly
TYPE A - 1000 RPM FRONT CV DRIVE (1000 RPM 1-3/8 21-Splined) Assembly
TYPE A - 540 RPM FRONT CV DRIVE Assembly
TYPE B - 1000 RPM FRONT CV DRIVE (1000 RPM 1-3/4 20-Splined) Assembly
TYPE B - 1000 RPM FRONT CV DRIVE (1000 RPM 1-3/8 21-Splined) Assembly
TYPE B - 540 RPM FRONT CV DRIVE Assembly
WINCH KIT (OPTIONAL) Assembly
WING & CENTER GEARBOX ASSEMBLY (540 RPM RIGHT WING)
WING & CENTER GEARBOX ASSEMBLY (1000 RPM CENTER)
WING & CENTER GEARBOX ASSEMBLY (1000 RPM LEFT WING)
WING & CENTER GEARBOX ASSEMBLY (1000 RPM RIGHT WING)
WING & CENTER GEARBOX ASSEMBLY (540 RPM CENTER)
WING & CENTER GEARBOX ASSEMBLY (540 RPM LEFT WING)
WING ASSEMBLY
WING DRIVE ASSEMBLY
New to our website?Creating an account is easy and quick!
Our website uses cookie to give you the best online shopping experience. More information Accept