Model added to My Equipment.Click 'My Equipment' to view updated list.
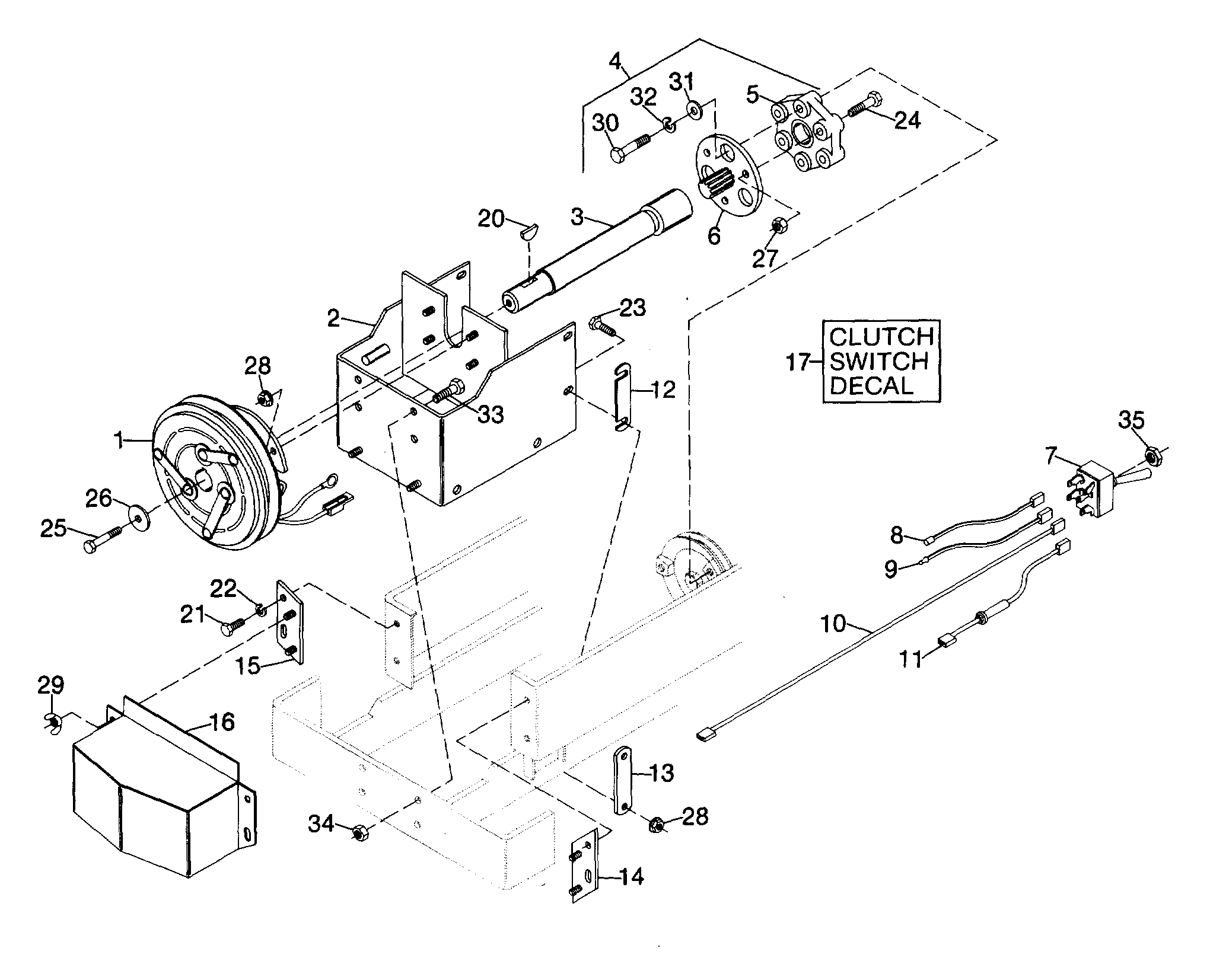
Clutch & Mounting Bracket Assembly
Electric Clutch Assembly
Main Frame Assembly
Mounting Assembly
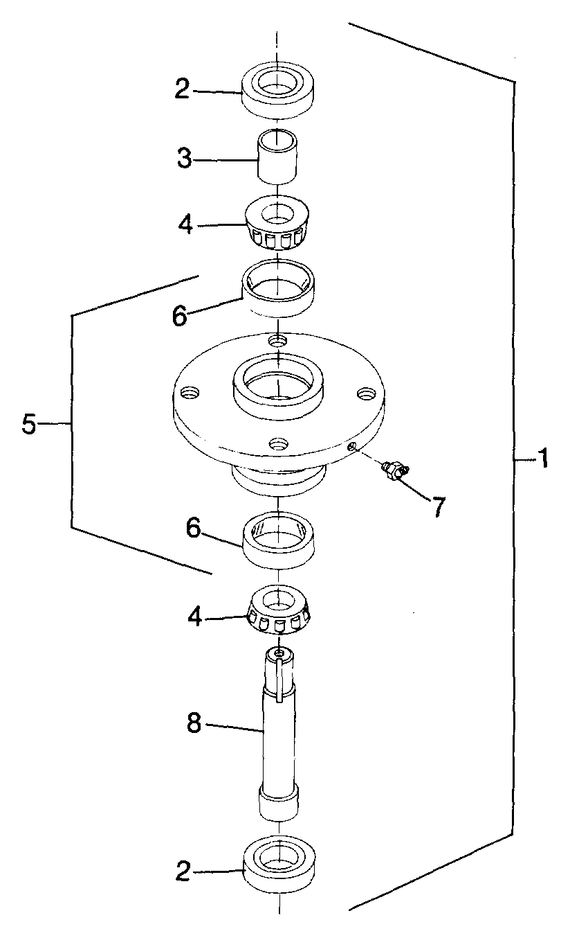
Spindle Assembly
New to our website?Creating an account is easy and quick!
Our website uses cookie to give you the best online shopping experience. More information Accept