Model added to My Equipment.Click 'My Equipment' to view updated list.
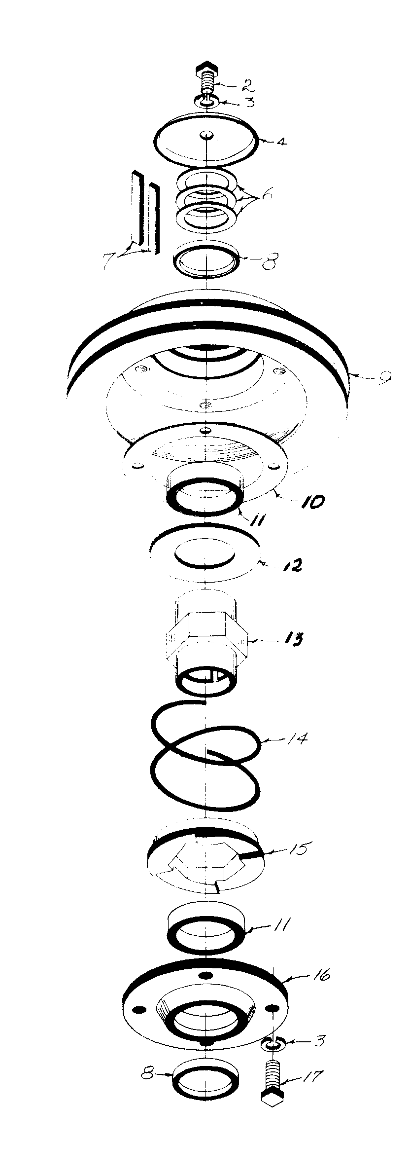
Blade Spindle Assembly For CCW Rotation
Manual Height Adjustment Assembly
Mounting Assembly
Mower Assembly Common Parts
Offset Overrunning Clutch For Left-Hand Rotation Assembly
New to our website?Creating an account is easy and quick!
Our website uses cookie to give you the best online shopping experience. More information Accept