Model added to My Equipment.Click 'My Equipment' to view updated list.
Blade Spindle Assembly
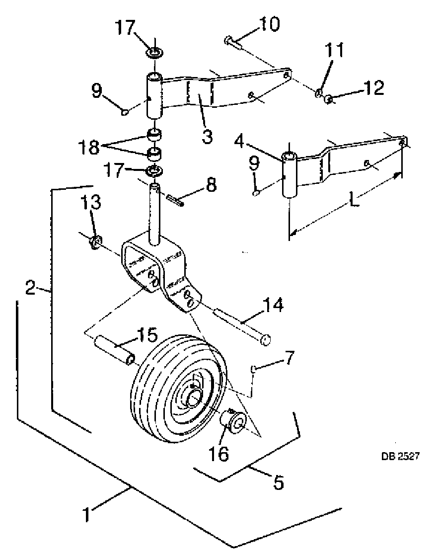
Caster Assembly
F152 Mounting Assembly
Front Roller Assembly - Optional
Leaf Mulcher Assembly
Mower Frame Assembly (L59 White Mower 59 & L59 3-Spindle 5ft Swath)
Mower Frame Assembly (Red & Yellow Mowers 59 & L59 3-Spindle 5ft Swath)
Spindle And Blades Assembly
New to our website?Creating an account is easy and quick!
Our website uses cookie to give you the best online shopping experience. More information Accept