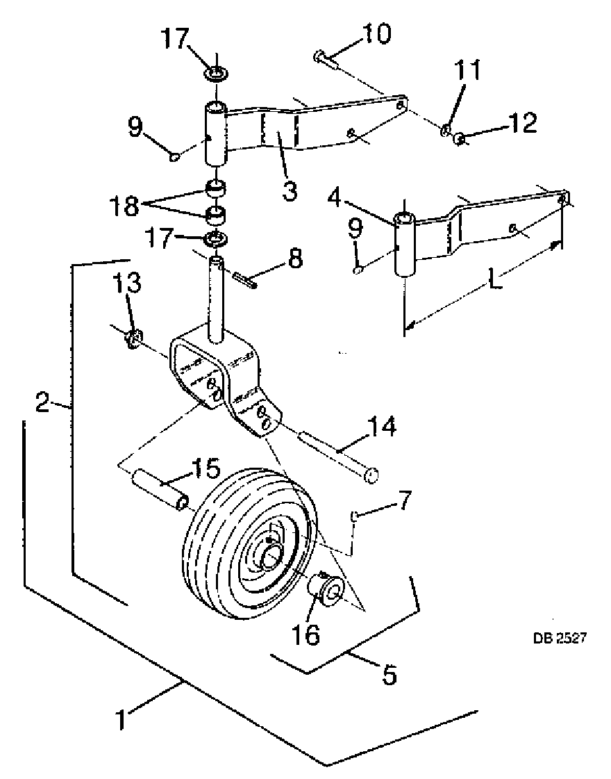
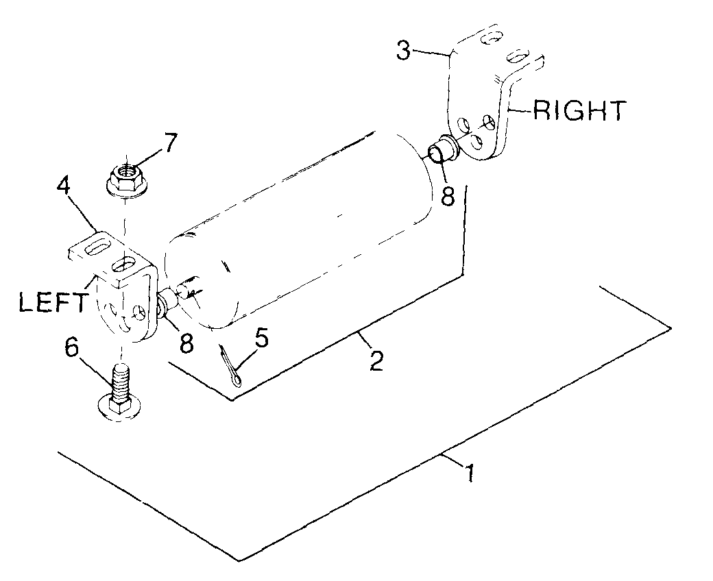
WOODS L59F26 FORD 2000AND 44 2600AND 44 3000AND 44 3600 UNDERMOUNT MID MOUNT ROTARY CUTTER PARTS

    Our website uses cookie to give you the best online shopping experience. More information