Model added to My Equipment.Click 'My Equipment' to view updated list.
3-Point Hitch Assembly (Mounted Units Only)
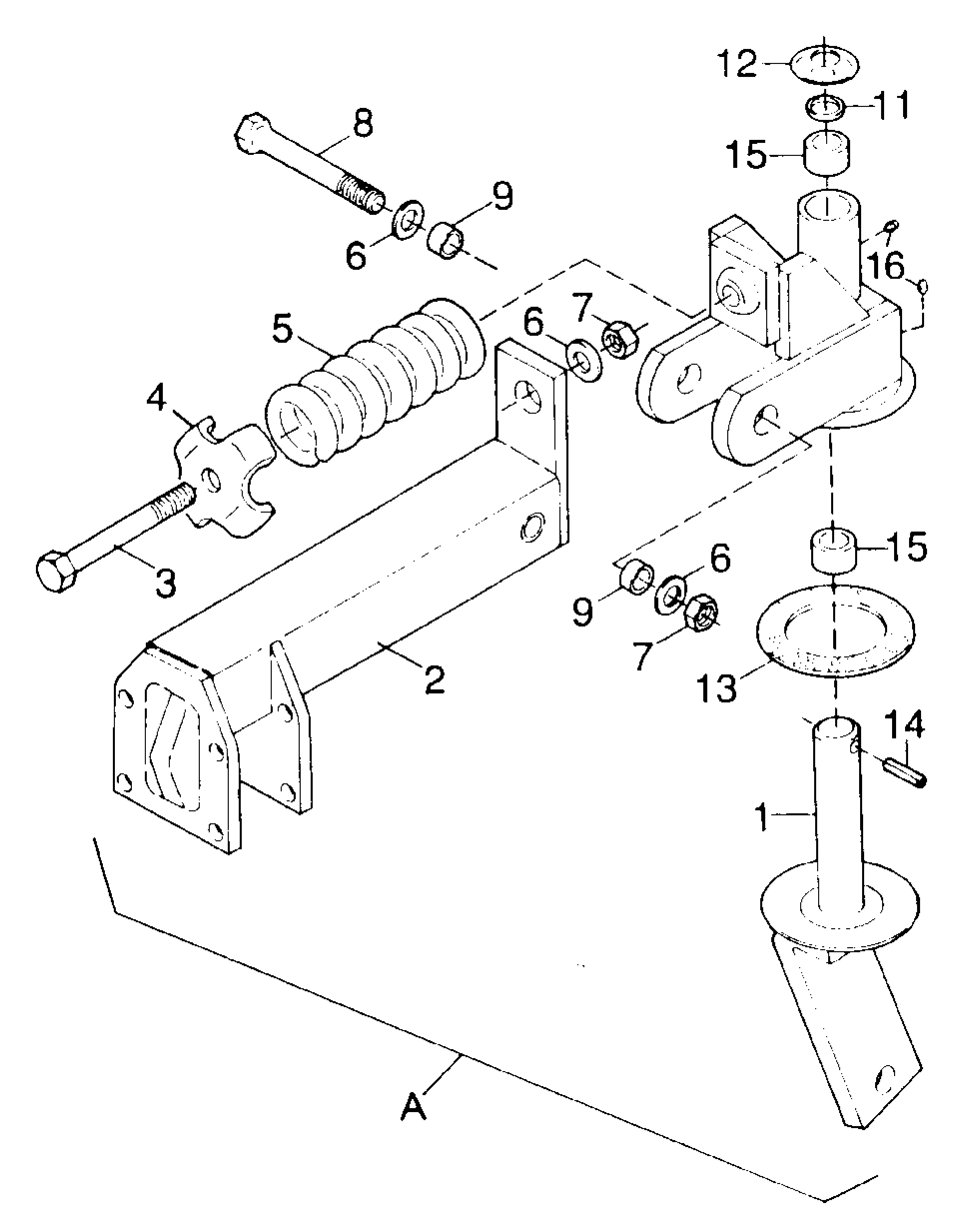
Caster Arm Assembly (Mounted Units Only)
Chain Shielding (Pull-Type & Mounted) Assembly
Crossbar Puller - Optional (Pull-Type & Mounted) Assembly
Driveline - Two Lobe Shaft Assembly
Front 2/3 Of 3-Joint Drive Two-Lobe Drives Assembly
Front Half Of 2-Joint Drive - 1-1/2 inch Square Shaft (mounted Units Only) Optional 500 RPM Assembly
Front Half Of 2-Joint Drive - 1-1/2 inch Square Shaft (Mounted Units Only) Standard 500 RPM Assembly
Height Adjustment Crank Kit - Optional (Pull-Type & Mounted) Assembly
Hydraulic Cylinder - Optional (Pull-Type & Mounted) Assembly
Input Gearbox 1:1.35 (540 RPM, Pull-Type & Mounted) Assembly
Integral U-Joint Shielding 1-1/2 inch Square Shaft (Mounted Units Only) Optional Assembly
Integral U-Joint Shielding 1-1/2 inch Square Shaft (Mounted Units Only) Standard Assembly
Main Frame Assembly (Pull-Type & Mounted)
Rear Height Adjustment Assembly (Pull-Type & Mounted)
Safety & Instructional Decals (Part 1) Assembly
Safety & Instructional Decals (Part 2) Assembly
Safety & Instructional Decals (Part 3) Assembly
Slip Clutch Assembly With 1-1/2 inch Square Slip Sleeve Shaft (Pull-Type & Mounted)
Slip Clutch Drive - Two-Lobe Shaft Assembly
Spindle Gearbox Assembly (Pull-Type & Mounted) 540 RPM
Stump Jumper - Optional (Pull-Type & Mounted) Assembly
Tailwheel Yoke Assembly (Mounted Units Only)
Top Link & Pivot Arm Assembly (Mounted Units Only)
Tri-Lobe Front Drive (Mounted Units Only) Assembly
Tri-Lobe Slip Clutch Drive (Mounted Units Only) Assembly
Wheel & Tire (Pull-Type & Mounted) Assembly
New to our website?Creating an account is easy and quick!
Our website uses cookie to give you the best online shopping experience. More information Accept