Model added to My Equipment.Click 'My Equipment' to view updated list.
Blade Assembly
Blade Spindle Assembly
Front PTO Drive Assembly
Front Roller Assembly
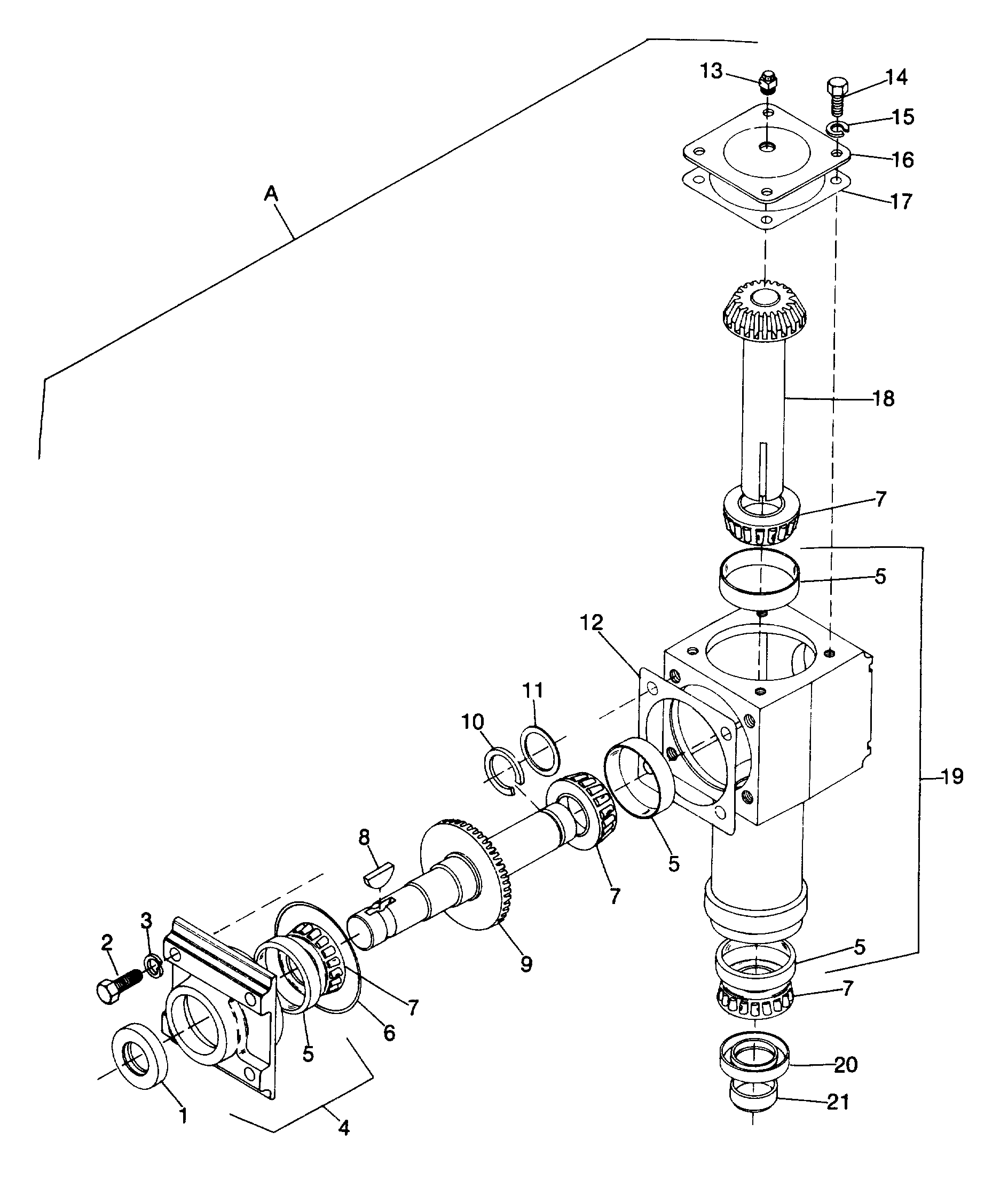
Gearbox Assembly
Main Frame Assembly
Mounting Assembly
Rear PTO Drive Assembly
New to our website?Creating an account is easy and quick!
Our website uses cookie to give you the best online shopping experience. More information Accept