Model added to My Equipment.Click 'My Equipment' to view updated list.
3-1/2 X 8 inch Stroke Hydraulic Cylinder (Optional) Assembly
Caster Arm Assembly - Mounted
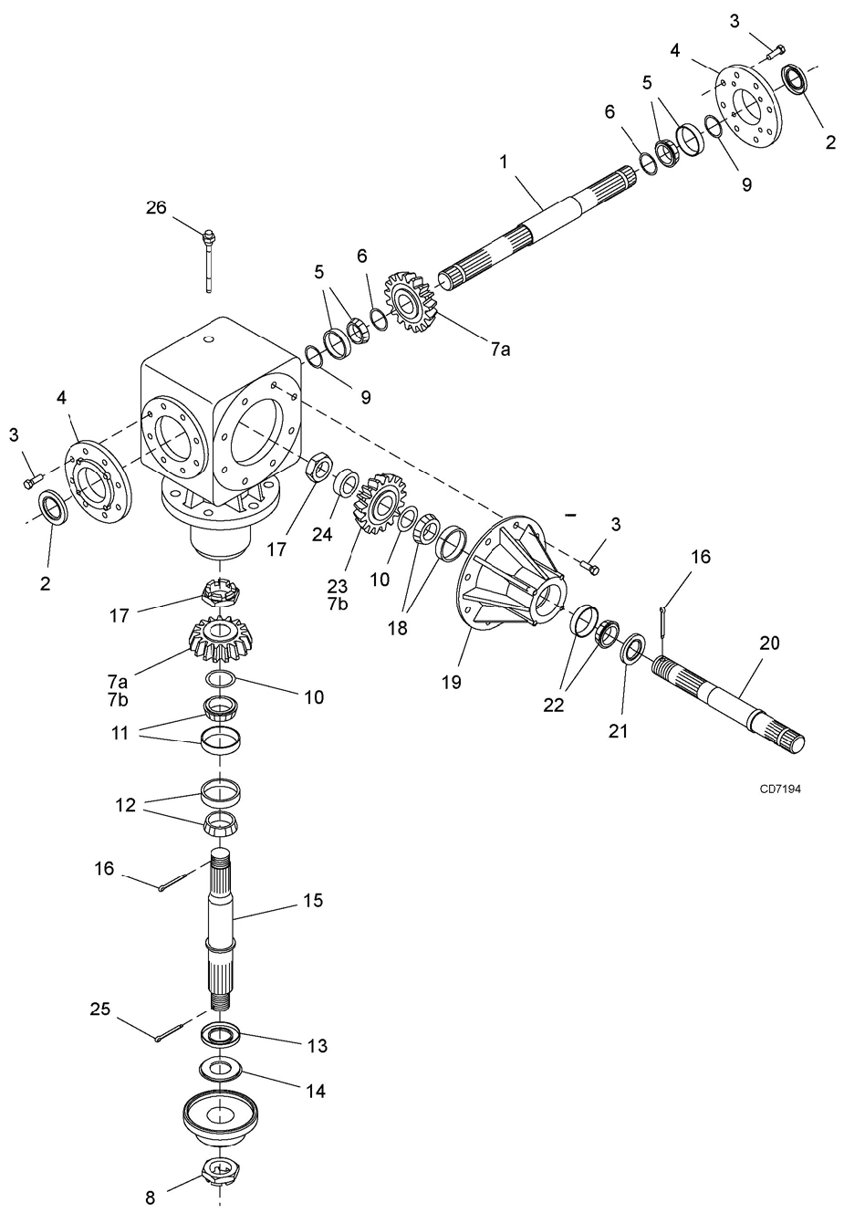
Center Gearbox Assembly
Chain Shielding (Standard) Assembly
Crossbar Puller (Optional) Assembly
Flexible Coupler Assembly
Hydraulic Cylinder Stroke Control Kit (Optional) Assembly
Light Kit (Optional) Assembly
Main Frame Assembly
Mounted Cutter Assembly
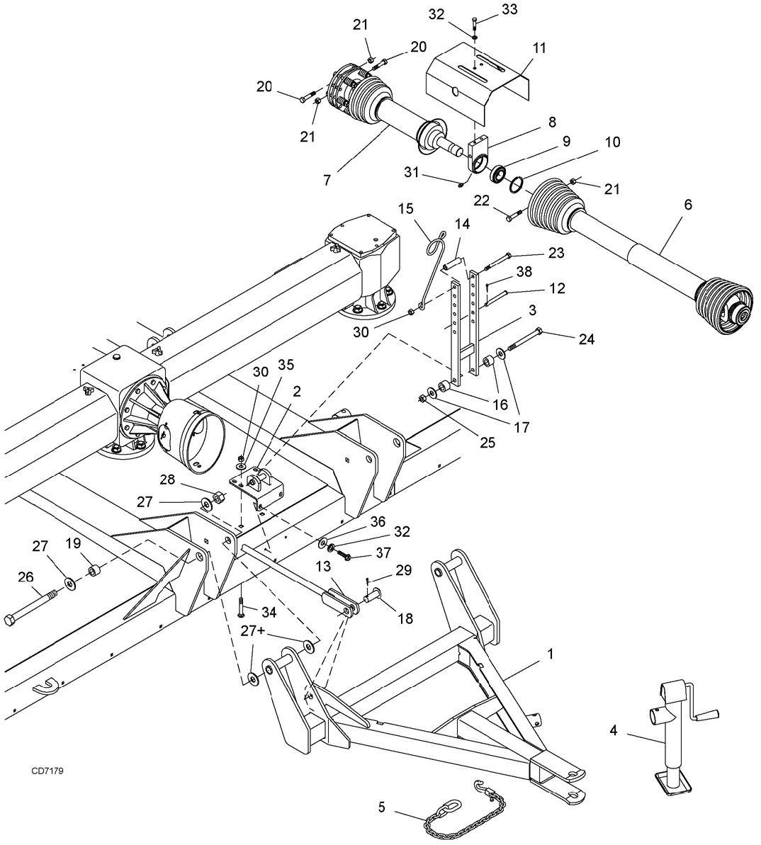
Pull-Type Assembly - Front Half
Pull-Type Assembly - Rear Half
Rear Fixed-Length Drive for Constant Velocity Drive Assembly
Safety & Instructional Decals (Part 1) Assembly
Safety & Instructional Decals (Part 2) Assembly
Safety & Instructional Decals (Part 3) Assembly
Shredder Kit (Optional) Assembly
Side Gearbox Assembly
Slip Clutch Drive Assembly - Mounted
Spring Wheel Arm Assembly - Pull Type
Stump Jumper Assembly (Optional)
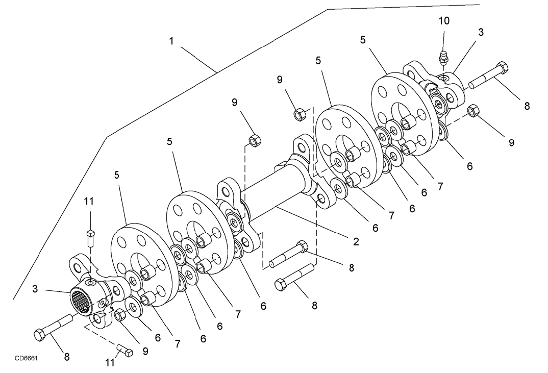
TYPE A - 1000 RPM Front CV Drive Assembly 1-3/4 20-Splined
TYPE A - 1000 RPM Front CV Drive Assembly 1-3/8 21-Splined
TYPE A - 540 RPM Front CV Drive Assembly
TYPE B - 1000 RPM Front CV Drive Assembly 1-3/4 20-Splined
TYPE B - 1000 RPM Front CV Drive Assembly 1-3/8 21-Splined
TYPE B - 540 RPM Front CV Drive Assembly
Wheel & Tire Assembly
New to our website?Creating an account is easy and quick!
Our website uses cookie to give you the best online shopping experience. More information Accept