KUBOTA B1630C PARTS 008000 LIFT CYLINDER COMPONENTS

    KUBOTA >kubota-b1630c-parts-008000-lift-cylinder-components
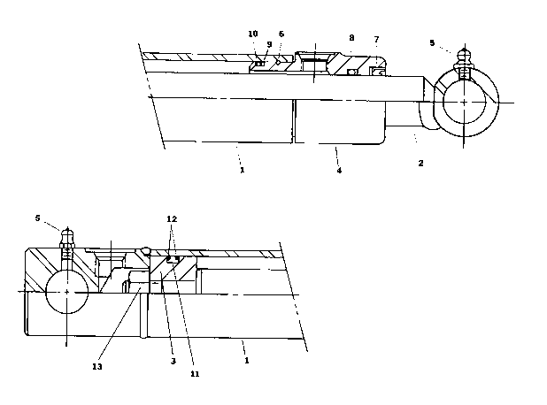
    Ref: 1  Part #: 70050-93636  Price: $298.07

    Item: BARREL, CYL ***

    QTY:  
    Ref: 2  Part #: 70050-93638  Price: $236.41

    Item: ROD, LIFT CYL 1-1/8 ***

    QTY:  
    Ref: 3  Part #: 70050-93637  Price: $51.11

    Item: PISTON, HYD CYL ***

    QTY:  
    Ref: 4  Part #: 70050-93640  Price: $259.46

    Item: GLAND,1 1/8 LIFT CYL ***

    QTY:  
    Ref: 5  Part #: 06611-15010  Price: $2.34

    Item: NIPPLE,GREASE

    QTY:  
    Ref: 67891011121315  Part #: 70050-93642  Price: $59.58

    Item: KIT SEAL,LIFT CYLINDER ***

    QTY:  
    Ref: 14  Part #: 70050-93634  Price: $498.18

    Item: CYLINDER LIFT ***

    QTY:  

    Our website uses cookie to give you the best online shopping experience. More information