KUBOTA B2100HSD PARTS STEERING H11000 STEERING CONTROLLER

    KUBOTA >kubota-b2100hsd-parts-steering-h11000-steering-controller
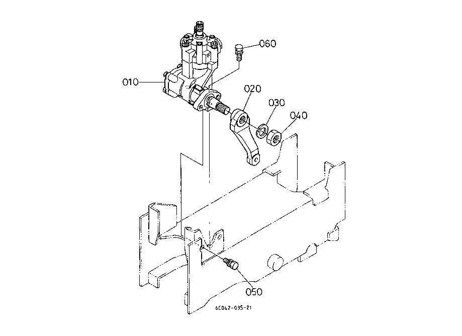
    Ref: 010  Part #: 6C042-99703  Price: $2,265.30

    Item: KIT STEERING, POWER ***

    QTY:  
    Ref: 010  Part #: 6C042-99703  Price: $2,265.30

    Item: KIT STEERING, POWER ***

    QTY:  
    Ref: 010  Part #: 6C042-99703  Price: $2,265.30

    Item: KIT STEERING, POWER ***

    QTY:  
    Ref: 010  Part #: H6C00-41100  Price: $3,012.74

    Item: STEERING, POWER, ASSY

    QTY:  
    Ref: 020  Part #: 6C042-41213  Price: $89.90

    Item: ARM, PITMAN ***

    QTY:  
    Ref: 020  Part #: 6C042-41213  Price: $89.90

    Item: ARM, PITMAN ***

    QTY:  
    Ref: 020  Part #: 6C042-41213  Price: $89.90

    Item: ARM, PITMAN ***

    QTY:  
    Ref: 030  Part #: 04512-70220  Price: $0.99

    Item: WASHER,SPRING

    QTY:  
    Ref: 040  Part #: 02176-50220  Price: $3.83

    Item: NUT,HEX

    QTY:  
    Ref: 050  Part #: 01133-51230  Price: $1.55

    Item: BOLT M12x1.25x30 mm ***

    QTY:  
    Ref: 060  Part #: 01133-51235  Price: $1.63

    Item: BOLT M12x1.25x35 mm ***

    QTY:  

    Our website uses cookie to give you the best online shopping experience. More information