KUBOTA B7500DTN PARTS TRANSMISSION C42700 REAR AXLE CASE

    KUBOTA >kubota-b7500dtn-parts-transmission-c42700-rear-axle-case
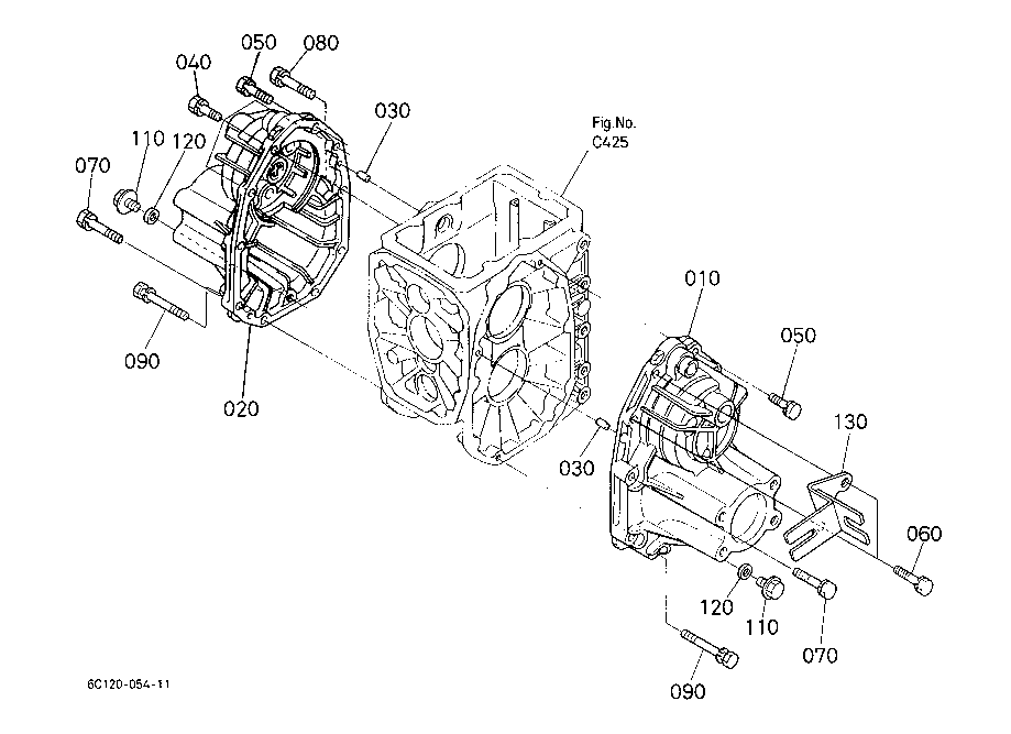
    Ref: 010  Part #: 07933-00080  Price: $304.25

    Item: KIT (6C260-12610) CASE, AXLE LH

    QTY:  
    Ref: 020  Part #: 07933-00100  Price: $298.68

    Item: KIT (6C360-12620) CASE, AXLE RH

    QTY:  
    Ref: 030  Part #: 05012-00614  Price: $0.99

    Item: PIN, STRAIGHT

    QTY:  
    Ref: 040050060  Part #: 01123-51035  Price: $1.37

    Item: BOLT M10x1.5x35 mm ***

    QTY:  
    Ref: 070080  Part #: 01123-51050  Price: $1.55

    Item: BOLT M10x1.5x50 mm ***

    QTY:  
    Ref: 090  Part #: 01173-51080  Price: $2.59

    Item: BOLT M10x1.25x80 mm ***

    QTY:  
    Ref: 090  Part #: 01133-51080  Price: $2.33

    Item: BOLT M10x1.25x80 mm *

    QTY:  
    Ref: 100  Part #: 04512-70100  Price: $0.99

    Item: WASHER,SPRING

    QTY:  
    Ref: 110  Part #: 01774-51212  Price: $2.59

    Item: BOLT M12x1.25x12 mm ***

    QTY:  
    Ref: 120  Part #: 04717-01200  Price: $1.49

    Item: WASHER, w/RUBBER ***

    QTY:  
    Ref: 130  Part #: 6C120-42650  Price: $26.69

    Item: STAY,NEUTRAL SWITCH

    QTY:  

    Our website uses cookie to give you the best online shopping experience. More information