KUBOTA BX1800D PARTS ENGINE 050100 WATER PUMP

    KUBOTA >kubota-bx1800d-parts-engine-050100-water-pump
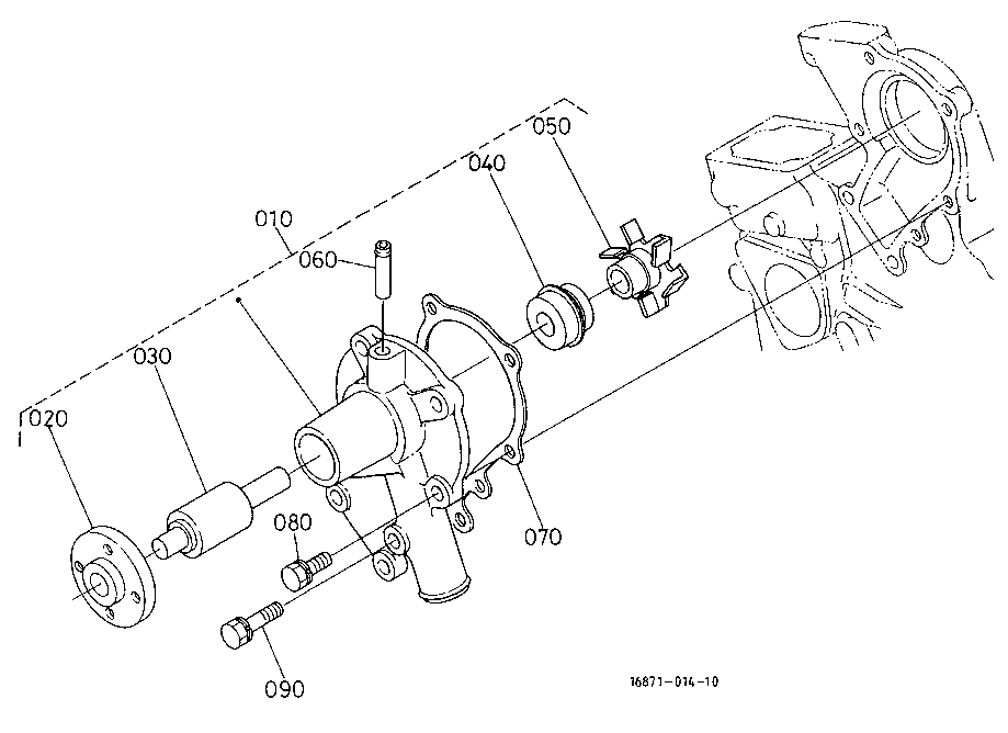
    Ref: 010  Part #: 19883-73034  Price: $178.54

    Item: PUMP, ASSY WATER

    QTY:  
    Ref: 020  Part #: 15852-73523  Price: $25.59

    Item: FLANGE,WATER PUMP ***

    QTY:  
    Ref: 030  Part #: 15852-73550  Price: $36.59

    Item: BEARING BALL RADIAL12/26

    QTY:  
    Ref: 040  Part #: 15481-73050  Price: $33.69

    Item: ASSY SEAL, MECHANICAL ***

    QTY:  
    Ref: 050  Part #: 19883-73510  Price: $32.58

    Item: IMPELLER, WATER PUMP

    QTY:  
    Ref: 060  Part #: 15852-73340  Price: $7.19

    Item: PIPE, WATER RETURN

    QTY:  
    Ref: 070  Part #: 16871-73430  Price: $6.02

    Item: GASKET, WATER PUMP

    QTY:  
    Ref: 080  Part #: 01023-50622  Price: $0.99

    Item: BOLT M6x1.0x22 mm ***

    QTY:  
    Ref: 090  Part #: 01023-50638  Price: $1.22

    Item: BOLT M6x1.0x38 mm ***

    QTY:  

    Our website uses cookie to give you the best online shopping experience. More information