KUBOTA BX2230D PARTS ENGINE 100300 CYLINDER HEAD

    KUBOTA >kubota-bx2230d-parts-engine-100300-cylinder-head
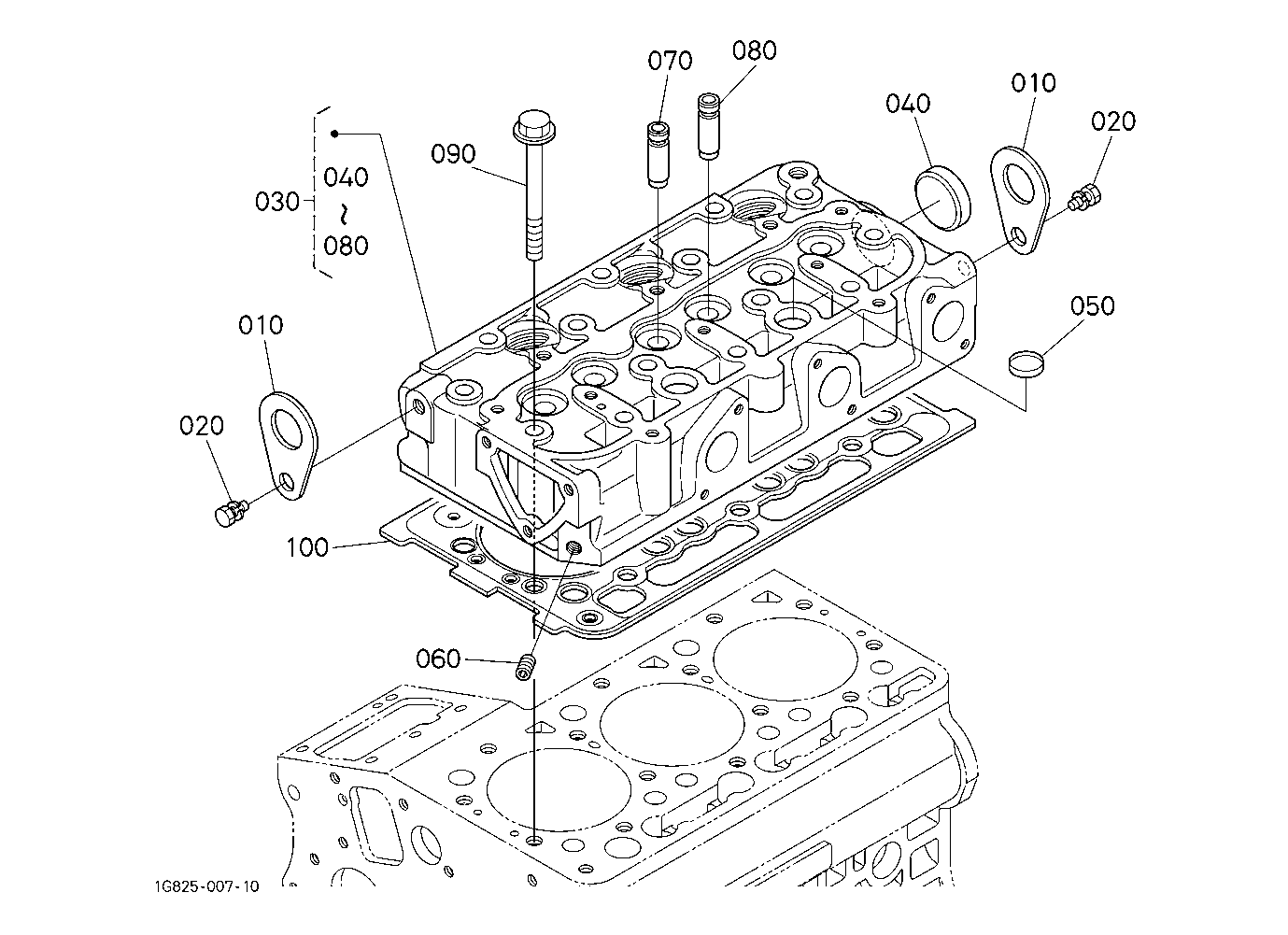
    Ref: 010  Part #: 15221-01750  Price: $5.08

    Item: HOOK, ENGINE

    QTY:  
    Ref: 020  Part #: 01123-70816  Price: $0.99

    Item: BOLT M8x1.25x16 mm

    QTY:  
    Ref: 030  Part #: H1G90-03040  Price: $1,347.40

    Item: COMP HEAD, CYLINDER *

    QTY:  
    Ref: 030  Part #: H1G90-03040  Price: $1,347.40

    Item: COMP HEAD, CYLINDER *

    QTY:  
    Ref: 030  Part #: 1G687-03022  Price: $1,188.30

    Item: ASSY CYLINDER HEAD

    QTY:  
    Ref: 040  Part #: 15321-96260  Price: $4.77

    Item: CAP, SEALING (ENGINE)

    QTY:  
    Ref: 050  Part #: 15261-03370  Price: $3.80

    Item: CAP, SEALING

    QTY:  
    Ref: 060  Part #: 15261-96010  Price: $2.07

    Item: PLUG, OIL PAN

    QTY:  
    Ref: 070  Part #: 15841-13540  Price: $7.47

    Item: GUIDE, INLET VALVE

    QTY:  
    Ref: 080  Part #: 15841-13560  Price: $8.91

    Item: GUIDE, EXHAUST VALVE

    QTY:  
    Ref: 090  Part #: 1J080-03450  Price: $3.49

    Item: BOLT,CYLINDER HEAD

    QTY:  
    Ref: 100  Part #: 1G962-03310  Price: $123.23

    Item: GASKET, CYLINDER HEAD

    QTY:  
    Ref: 100  Part #: 1G962-03313  Price: $105.64

    Item: GASKET, CYLINDER HEAD

    QTY:  

    Our website uses cookie to give you the best online shopping experience. More information