KUBOTA BX2370 PARTS ENGINE 100800 OIL PUMP

    KUBOTA >kubota-bx2370-parts-engine-100800-oil-pump
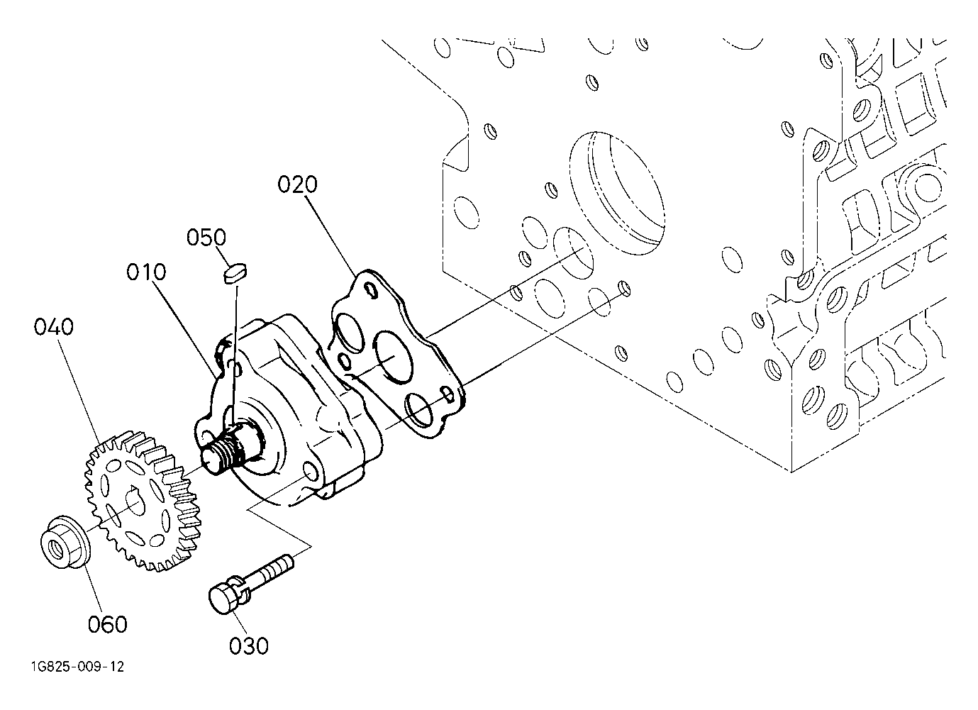
    Ref: 010  Part #: 16851-35012  Price: $142.06

    Item: ASSY PUMP, OIL

    QTY:  
    Ref: 020  Part #: 16851-35152  Price: $1.54

    Item: GASKET, OIL PUMP NA

    QTY:  
    Ref: 030  Part #: 15841-91050  Price: $4.55

    Item: BOLT

    QTY:  
    Ref: 040  Part #: 1G687-35662  Price: $17.34

    Item: GEAR, OIL PUMP DRIVE

    QTY:  
    Ref: 040  Part #: 1G687-35662  Price: $17.34

    Item: GEAR, OIL PUMP DRIVE

    QTY:  
    Ref: 050  Part #: 05712-00408  Price: $1.00

    Item: KEY, FEATHER

    QTY:  
    Ref: 060  Part #: 02783-50100  Price: $4.13

    Item: NUT, FLANGE

    QTY:  

    Our website uses cookie to give you the best online shopping experience. More information