KUBOTA F2680E PARTS ENGINE 000201 OIL PAN

    KUBOTA >kubota-f2680e-parts-engine-000201-oil-pan
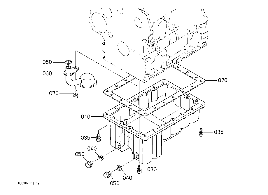
    Ref: 010  Part #: 1G870-01610  Price: $312.58

    Item: PAN, OIL

    QTY:  
    Ref: 020  Part #: 16261-01630  Price: $10.80

    Item: GASKET,OIL PAN

    QTY:  
    Ref: 030035  Part #: 01023-50620  Price: $0.99

    Item: BOLT M6x1.0x20 mm ***

    QTY:  
    Ref: 040  Part #: 6C090-58960  Price: $3.20

    Item: GASKET, OILPAN DRAIN

    QTY:  
    Ref: 050  Part #: 13901-33750  Price: $2.07

    Item: PLUG, DRAIN

    QTY:  
    Ref: 060  Part #: 16218-32113  Price: $40.20

    Item: FILTER 1, OIL

    QTY:  
    Ref: 070  Part #: 01123-50816  Price: $0.99

    Item: BOLT M8x1.25x16 mm ***

    QTY:  
    Ref: 080  Part #: 04814-00160  Price: $3.83

    Item: O-RING

    QTY:  

    Our website uses cookie to give you the best online shopping experience. More information