KUBOTA F2680E PARTS ENGINE 018001 IDLE APPARATUS

    KUBOTA >kubota-f2680e-parts-engine-018001-idle-apparatus
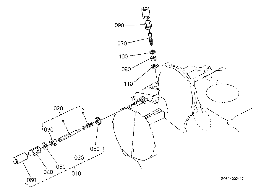
    Ref: 010  Part #: 16282-54093  Price: $26.48

    Item: ASSY APPARATUS, IDLE

    QTY:  
    Ref: 020  Part #: 16282-54103  Price: $12.47

    Item: ASSY BOLT, ADJUSTING

    QTY:  
    Ref: 030  Part #: 15841-92020  Price: $1.24

    Item: NUT

    QTY:  
    Ref: 040090  Part #: 15852-92330  Price: $4.85

    Item: NUT, CAP *

    QTY:  
    Ref: 050100  Part #: 15601-96650  Price: $6.07

    Item: GASKET, COPPER

    QTY:  
    Ref: 060  Part #: 16221-54420  Price: $5.38

    Item: CAP

    QTY:  
    Ref: 070  Part #: 16241-54122  Price: $2.60

    Item: BOLT, ADJUSTING

    QTY:  
    Ref: 080  Part #: 1G031-54210  Price: $3.04

    Item: NUT

    QTY:  
    Ref: 110  Part #: 1G021-96650  Price: $3.04

    Item: GASKET, COPPER *

    QTY:  

    Our website uses cookie to give you the best online shopping experience. More information