KUBOTA L2950DT GST PARTS HYDRAULIC SYSTEM T11300 TOP LINKAGE BRACKET [OPTION]

    KUBOTA >kubota-l2950dt-gst-parts-hydraulic-system-t11300-top-linkage-bracket-[option]
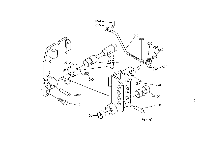
    Ref: 010  Part #: 35080-41312  Price: $20.63

    Item: ROD, DRAFT CONTROL

    QTY:  
    Ref: 020  Part #: 35260-41320  Price: $12.98

    Item: HOLDER, CONTROL

    QTY:  
    Ref: 030  Part #: 02112-50080  Price: $0.99

    Item: NUT ***

    QTY:  
    Ref: 040  Part #: 05122-50818  Price: $1.49

    Item: s12, JOINT ***

    QTY:  
    Ref: 050  Part #: 04012-50080  Price: $0.99

    Item: WASHER, PLAIN ***

    QTY:  
    Ref: 060  Part #: 05511-50218  Price: $0.99

    Item: PIN, SPLIT ***

    QTY:  
    Ref: 070  Part #: 35080-41404  Price: $967.11

    Item: COMP HOLDER,TOP LINK

    QTY:  
    Ref: 080  Part #: 37300-41440  Price: $10.16

    Item: PIN

    QTY:  
    Ref: 090  Part #: 06613-10010  Price: $2.34

    Item: NIPPLE, GREASE

    QTY:  
    Ref: 100  Part #: 37300-41450  Price: $32.57

    Item: BUSHING

    QTY:  
    Ref: 110  Part #: 01133-51230  Price: $1.55

    Item: BOLT M12x1.25x30 mm ***

    QTY:  

    Our website uses cookie to give you the best online shopping experience. More information