KUBOTA L3901F PARTS ELECTRICAL SYSTEM B31200 TAIL LIGHT

    KUBOTA >kubota-l3901f-parts-electrical-system-b31200-tail-light
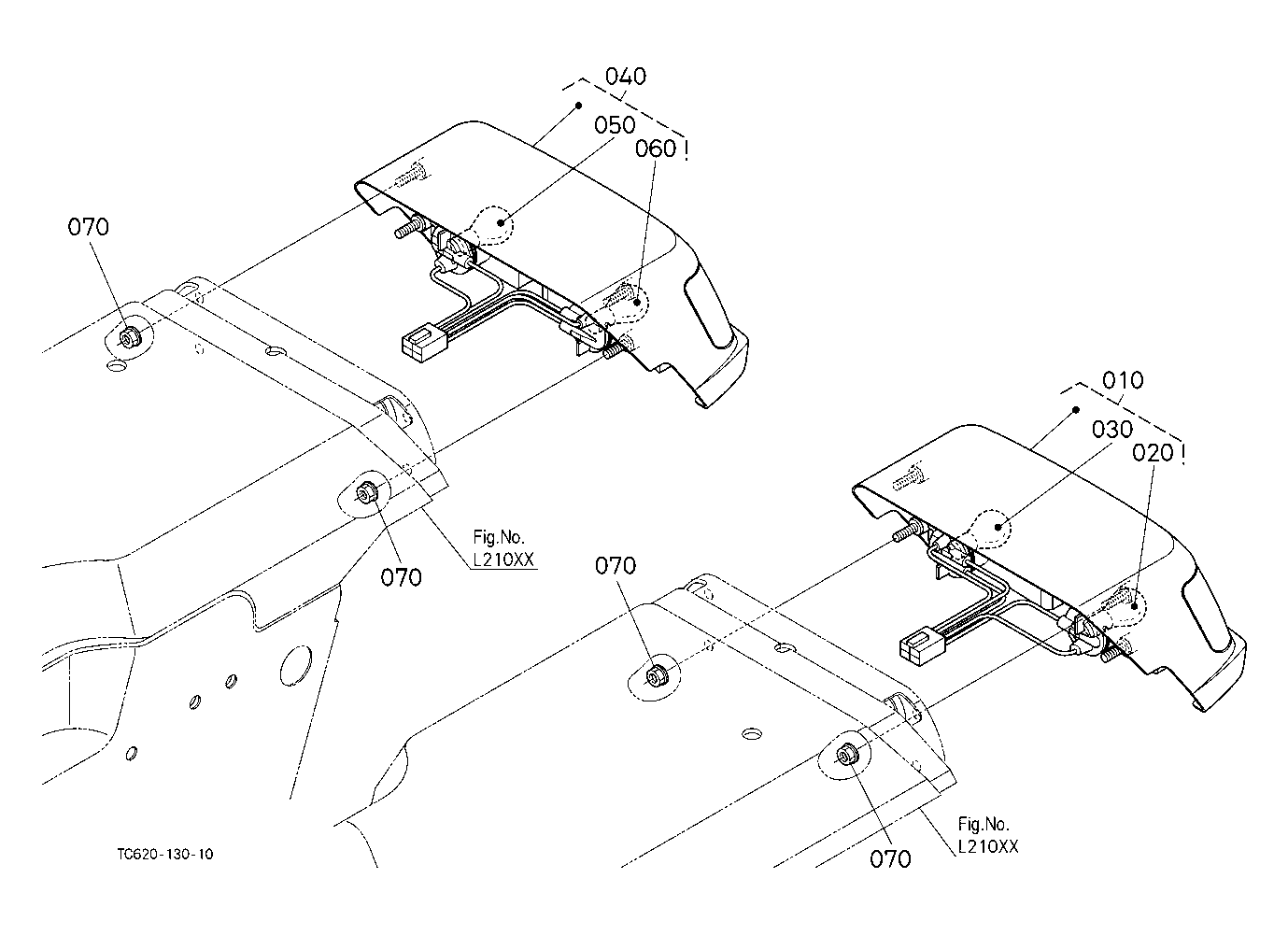
    Ref: 010  Part #: TC629-30020  Price: $172.55

    Item: LAMP(REAR COMBI. LH)

    QTY:  
    Ref: 020050  Part #: TC420-30030  Price: $32.17

    Item: BULB (12V21W)

    QTY:  
    Ref: 030060  Part #: TC420-30040  Price: $26.87

    Item: BULB (12V21W/5W)

    QTY:  
    Ref: 040  Part #: TC629-30060  Price: $172.55

    Item: LAMP(REAR COMB. RH)

    QTY:  
    Ref: 070  Part #: 02761-50060  Price: $0.99

    Item: NUT, FLANGE ***

    QTY:  

    Our website uses cookie to give you the best online shopping experience. More information