KUBOTA L4060GST PARTS ENGINE 521500 FUEL PUMP

    KUBOTA >kubota-l4060gst-parts-engine-521500-fuel-pump
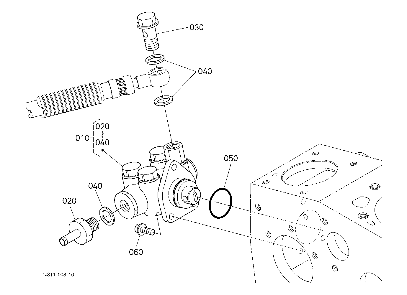
    Ref: 010  Part #: 1J810-52030  Price: $267.27

    Item: ASSY PUMP, FUEL

    QTY:  
    Ref: 020  Part #: 1J800-95890  Price: $43.50

    Item: JOINT,STRAIGHT PIPE

    QTY:  
    Ref: 030  Part #: 1J800-95820  Price: $24.30

    Item: BOLT,JOINT

    QTY:  
    Ref: 040  Part #: 1J800-43650  Price: $3.46

    Item: GASKET

    QTY:  
    Ref: 050  Part #: 19013-96850  Price: $3.94

    Item: O-RING

    QTY:  
    Ref: 060  Part #: 01754-50616  Price: $1.55

    Item: BOLT M6x1.0x16 mm ***

    QTY:  

    Our website uses cookie to give you the best online shopping experience. More information