KUBOTA L4400H PARTS COOLING WATER SYSTEM A42000 RADIATOR

    KUBOTA >kubota-l4400h-parts-cooling-water-system-a42000-radiator
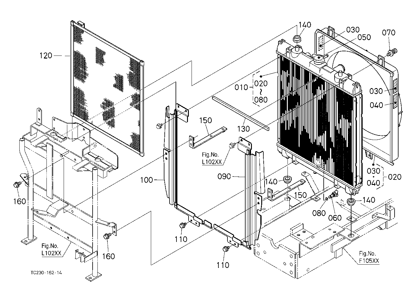
    Ref: 010  Part #: TC230-99600  Price: $972.69

    Item: ASSY RADIATOR

    QTY:  
    Ref: 020  Part #: TC230-99620  Price: $130.18

    Item: ASSY SHROUD (FAN)

    QTY:  
    Ref: 030  Part #: 6C090-49580  Price: $3.34

    Item: LABEL,FAN BELT WARNING

    QTY:  
    Ref: 040  Part #: TC030-49580  Price: $2.17

    Item: LABEL. MUFFLER

    QTY:  
    Ref: 050  Part #: 17580-16060  Price: $46.69

    Item: CAP,RADIATOR

    QTY:  
    Ref: 060  Part #: 34070-16070  Price: $13.44

    Item: PLUG, DRAIN

    QTY:  
    Ref: 070  Part #: 01029-50616  Price: $0.99

    Item: BOLT M6x1.0x16 mm

    QTY:  
    Ref: 080  Part #: 34070-16090  Price: $7.53

    Item: O RING

    QTY:  
    Ref: 090  Part #: TC230-16043  Price: $33.57

    Item: GUIDE, RADIATOR LH

    QTY:  
    Ref: 090  Part #: TC230-16043  Price: $33.57

    Item: GUIDE, RADIATOR LH

    QTY:  
    Ref: 100  Part #: TC230-16053  Price: $33.57

    Item: GUIDE, RADIATOR (RH)

    QTY:  
    Ref: 100  Part #: TC230-16053  Price: $33.57

    Item: GUIDE, RADIATOR (RH)

    QTY:  
    Ref: 110  Part #: 01754-50612  Price: $1.17

    Item: BOLT M6x1.0x12 mm ***

    QTY:  
    Ref: 120  Part #: TC230-16240  Price: $122.93

    Item: NET, RADIATOR

    QTY:  
    Ref: 130  Part #: T1060-40660  Price: $1.72

    Item: SPONGE

    QTY:  
    Ref: 140  Part #: 34070-16030  Price: $3.04

    Item: RUBBER, RADIATOR

    QTY:  
    Ref: 140  Part #: TC402-16030  Price: $1.83

    Item: RUBBER, RADIATOR ***

    QTY:  
    Ref: 150  Part #: TC230-41402  Price: $32.03

    Item: STAY, COVER

    QTY:  
    Ref: 150  Part #: TC230-41402  Price: $32.03

    Item: STAY, COVER

    QTY:  
    Ref: 160  Part #: 01754-50816  Price: $2.86

    Item: BOLT M8x1.25x16 mm ***

    QTY:  

    Our website uses cookie to give you the best online shopping experience. More information