KUBOTA L5740HST 3 PARTS ENGINE 020400 GOVERNOR

    KUBOTA >kubota-l5740hst-3-parts-engine-020400-governor
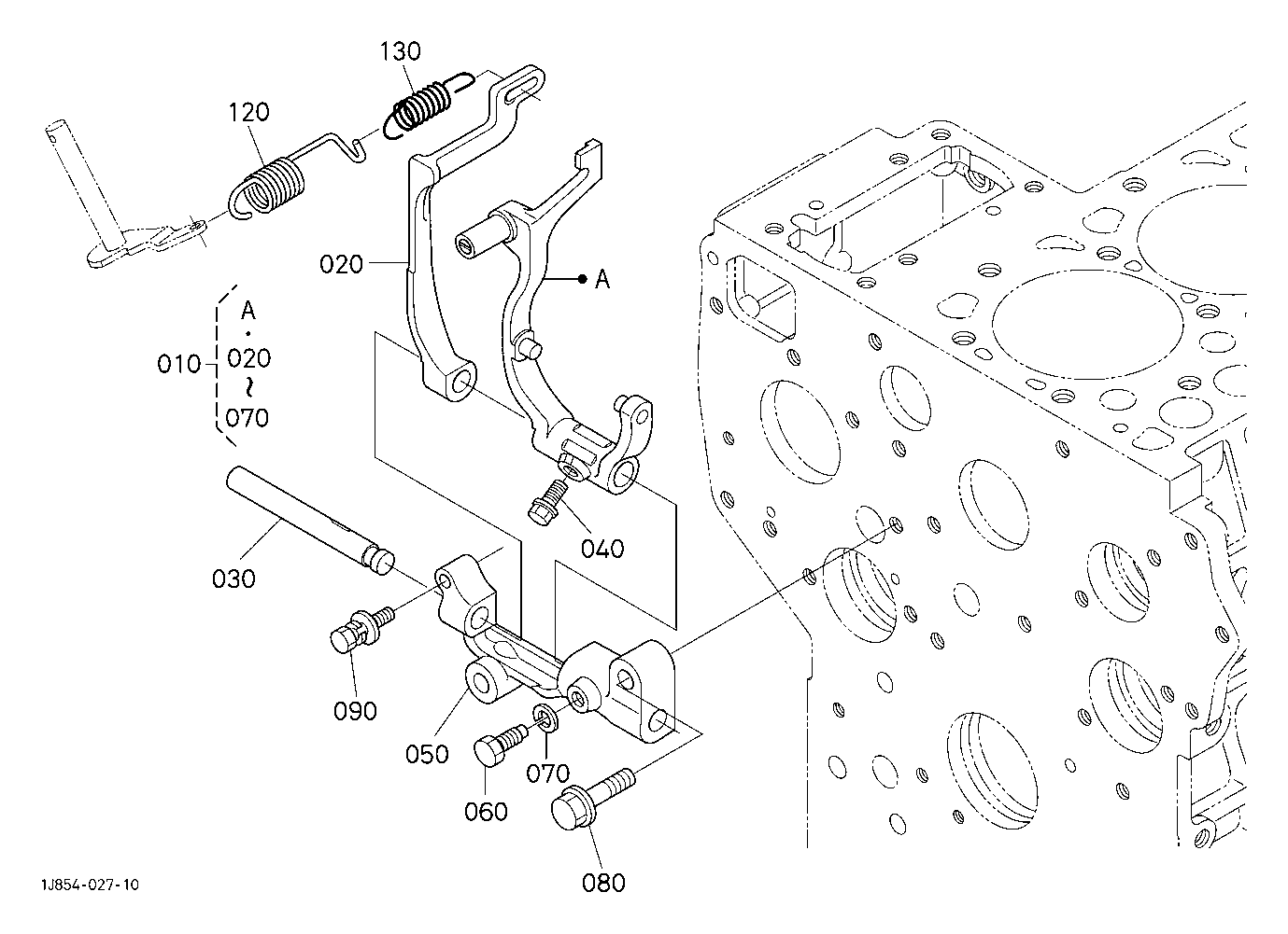
    Ref: 010  Part #: 1A045-56050  Price: $421.15

    Item: ASSY LEVER, FORK

    QTY:  
    Ref: 020  Part #: 1A021-56133  Price: $58.79

    Item: LEVER,FORK

    QTY:  
    Ref: 030  Part #: 1G911-56150  Price: $17.24

    Item: SHAFT, FORK LEVER

    QTY:  
    Ref: 040  Part #: 01754-50618  Price: $1.74

    Item: BOLT M6x1.0x18 mm ***

    QTY:  
    Ref: 040  Part #: 01754-50616  Price: $1.55

    Item: BOLT M6x1.0x16 mm ***

    QTY:  
    Ref: 050  Part #: 1A091-56230  Price: $62.34

    Item: HOLDER FORK LEVER

    QTY:  
    Ref: 060  Part #: 15221-66410  Price: $15.29

    Item: BOLT

    QTY:  
    Ref: 070  Part #: 04512-50060  Price: $0.99

    Item: WASHER, SPRING ***

    QTY:  
    Ref: 080  Part #: 01754-50830  Price: $3.87

    Item: BOLT M8x1.25x30 mm ***

    QTY:  
    Ref: 090  Part #: 01025-50630  Price: $0.99

    Item: BOLT M6x1.0x30 mm ***

    QTY:  
    Ref: 120  Part #: 1A023-56417  Price: $6.90

    Item: SPRING(GOVERNOR,1)

    QTY:  
    Ref: 120  Part #: 1A023-56417  Price: $6.90

    Item: SPRING(GOVERNOR,1)

    QTY:  
    Ref: 130  Part #: 1A021-56422  Price: $4.02

    Item: SPRING (GOVERNOR,2)

    QTY:  

    Our website uses cookie to give you the best online shopping experience. More information