KUBOTA M5030 PARTS CLUTCH T05300 PTO CLUTCH FORK

    KUBOTA >kubota-m5030-parts-clutch-t05300-pto-clutch-fork
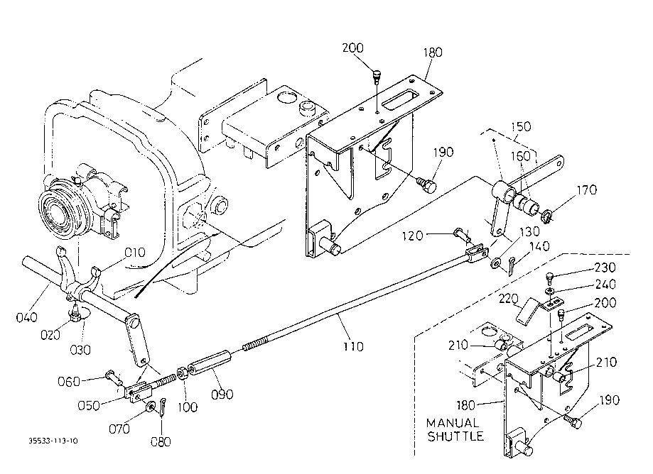
    Ref: 010  Part #: 36330-26710  Price: $142.28

    Item: CLUTCH RELEASE FORK

    QTY:  
    Ref: 010  Part #: 36730-26710  Price: $142.28

    Item: FORK, CLUTCH RELEASE ***

    QTY:  
    Ref: 020  Part #: 33251-26350  Price: $10.11

    Item: BOLT, SET

    QTY:  
    Ref: 030  Part #: ---- -  Price: Call for price

    Item: WIRE

    QTY:  
    Ref: 040  Part #: 35533-26220  Price: $123.89

    Item: CONTL.LV.SHAFT ***

    QTY:  
    Ref: 050  Part #: 36330-26173  Price: $139.46

    Item: ROD, CLUTCH 1 ***

    QTY:  
    Ref: 060120  Part #: 05122-71028  Price: $3.19

    Item: PIN, JOINT

    QTY:  
    Ref: 070130  Part #: 04011-50100  Price: $0.99

    Item: WASHER, PLAIN ***

    QTY:  
    Ref: 080140  Part #: 05511-50318  Price: $0.99

    Item: PIN, SPLIT ***

    QTY:  
    Ref: 090  Part #: 32350-28980  Price: $17.32

    Item: TURNBUCKLE

    QTY:  
    Ref: 100  Part #: 02116-50100  Price: $0.99

    Item: NUT, HEX M10 ***

    QTY:  
    Ref: 110  Part #: 35533-26330  Price: $253.70

    Item: ROD,PTO CLUTCH 2 ***

    QTY:  
    Ref: 150  Part #: 35533-26340  Price: $35.10

    Item: ASSY LINK CLUTCH ***

    QTY:  
    Ref: 160  Part #: 08511-02212  Price: $5.66

    Item: BUSHING

    QTY:  
    Ref: 170  Part #: 04612-00220  Price: $0.99

    Item: CIR-CLIP, EXTERNAL

    QTY:  
    Ref: 180  Part #: 35533-26380  Price: $143.30

    Item: SUPPORT, PTO LEVER ***

    QTY:  
    Ref: 180  Part #: 35533-34510  Price: $202.87

    Item: SUPPORT,PTO LEVER ***

    QTY:  
    Ref: 190  Part #: 01133-51225  Price: $1.44

    Item: BOLT M12x1.25x25 mm ***

    QTY:  
    Ref: 200  Part #: 63611-52350  Price: $2.49

    Item: CUSHION

    QTY:  
    Ref: 210  Part #: 08511-02020  Price: $6.67

    Item: BUSHING

    QTY:  
    Ref: 220  Part #: 35533-34610  Price: $12.98

    Item: PLATE

    QTY:  
    Ref: 230  Part #: 01123-50820  Price: $0.99

    Item: BOLT M8x1.25x20 mm ***

    QTY:  
    Ref: 240  Part #: 04013-50080  Price: $0.99

    Item: WASHER, M8 PLAIN ***

    QTY:  

    Our website uses cookie to give you the best online shopping experience. More information