KUBOTA M7950 CAB PARTS ENGINE CONTROL T00300 FUEL PIPING

    KUBOTA >kubota-m7950-cab-parts-engine-control-t00300-fuel-piping
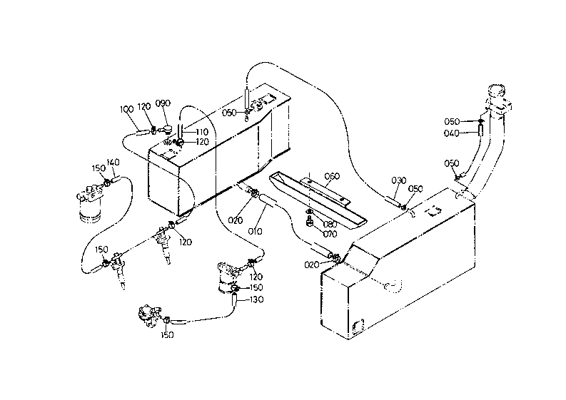
    Ref: 010  Part #: 35868-04510  Price: $54.09

    Item: HOSE,FUEL TANK

    QTY:  
    Ref: 020  Part #: 36200-82720  Price: $5.41

    Item: CLAMP

    QTY:  
    Ref: 030  Part #: 35828-04520  Price: $22.22

    Item: HOSE,AIR BREATHER

    QTY:  
    Ref: 040  Part #: 36919-04530  Price: $52.67

    Item: HOSE,AIR BREATHER 2 ***

    QTY:  
    Ref: 050  Part #: 68171-63630  Price: $3.20

    Item: BAND, HOSE

    QTY:  
    Ref: 060  Part #: 33740-04580  Price: $61.70

    Item: COVER, RUBBER

    QTY:  
    Ref: 070  Part #: 01123-51225  Price: $1.17

    Item: BOLT M12x1.75x25 mm ***

    QTY:  
    Ref: 080  Part #: 04013-50120  Price: $0.99

    Item: WASHER, PLAIN M12 ***

    QTY:  
    Ref: 090  Part #: 36919-04440  Price: $108.34

    Item: UNION ***

    QTY:  
    Ref: 100  Part #: 68051-51220  Price: $8.95

    Item: PIPE,FUEL ***

    QTY:  
    Ref: 110  Part #: 66621-35610  Price: $9.51

    Item: PIPE ASSY, FUEL ***

    QTY:  
    Ref: 120150  Part #: 14301-42750  Price: $3.04

    Item: CLIP, PIPE

    QTY:  
    Ref: 130  Part #: 68165-51220  Price: $10.95

    Item: PIPE, FUEL 2 ***

    QTY:  
    Ref: 140  Part #: 14971-42022  Price: $10.43

    Item: ASSY PIPE,FUEL

    QTY:  

    Our website uses cookie to give you the best online shopping experience. More information