KUBOTA M8580DT C PARTS ELECTRICAL SYSTEM T05900 TRAILER SOCKET

    KUBOTA >kubota-m8580dt-c-parts-electrical-system-t05900-trailer-socket
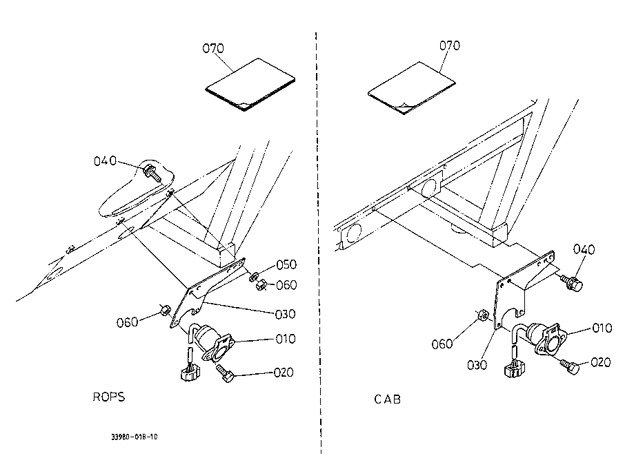
    Ref: 010  Part #: 99884-48110  Price: $293.67

    Item: HARNESS, TRAILER

    QTY:  
    Ref: 020  Part #: 01123-50825  Price: $0.99

    Item: BOLT M8x1.25x25 mm *

    QTY:  
    Ref: 030  Part #: 33740-97460  Price: $89.43

    Item: HOLDER, COUPLER ***

    QTY:  
    Ref: 040  Part #: 01125-50830  Price: $1.31

    Item: BOLT M8x1.25x30 mm ***

    QTY:  
    Ref: 060  Part #: 02114-50080  Price: $0.99

    Item: NUT, HEX M8-1.25 4T ***

    QTY:  
    Ref: 070  Part #: 33960-97081  Price: $6.46

    Item: IS - M8580 TRAILER HARNESS KIT ***NSS

    QTY:  

    Our website uses cookie to give you the best online shopping experience. More information